Шуруповерты Verto 50G187 - инструкция пользователя по применению, эксплуатации и установке на русском языке. Мы надеемся, она поможет вам решить возникшие у вас вопросы при эксплуатации техники.
Если остались вопросы, задайте их в комментариях после инструкции.
"Загружаем инструкцию", означает, что нужно подождать пока файл загрузится и можно будет его читать онлайн. Некоторые инструкции очень большие и время их появления зависит от вашей скорости интернета.

59
•
Преди задействане се проверява дали
превк лючвателят на скоростите (
3
) е в съответното
положение.
Не се разрешава да се извършва промяна на
посоката на въртене, когато шпинделът на
винтоверта се върти.
Дълготрайно пробиване при ниска скорост
на въртене на шпиндела може да предизвика
пренагряване на двигателя. Трябва да се извършват
периодични паузи в работата или да се остави
устройството да поработи на максимални обороти
без натоварване за около 3 мин.
ОБС ЛУ ЖВАНЕ И ПОДДРЪЖКА
П ОД Д Р Ъ Ж К А И С ЪХ РА Н Е Н И Е
•
Препоръчва се почистването на устройството
непосредствено с лед всяка една употреба.
•
За почистването не бива да се използва вода или
други течности.
•
Винтоверта трябва да се почиства с помощта на сухо
парче т ъкан или да се продуха със сг ъстен въздух с
ниско налягане.
•
Не бива да се използват никакви почистващи
средства или разтворители, т ъй като могат е повредят
пластмасовите части.
•
Редовно с ледва да се почистват вентилационните
отвори в корпуса на двигателя за да не се допусне до
неговото нагряване.
•
В с лучай, че се появи прекомерно искрене върху
колектора, да се поръча на квалифицирано лице
проверката на състоянието на въглеродните четки на
двигателя.
•
Винтоверт ът трябва да се съхранява на сухо,
недост ъпно за деца място.
СМЯНА НА ПАТРОННИК А ЗА БЪ РЗО ЗАКРЕПВАНЕ
Патронникът за бързо закрепване е завинтен върху
резбата на шпиндела на винтоверта и допълнително
фиксиран с винт.
•
Настройва се превк лючвателя на посоката на въртене
(
3
) на средно положение.
•
Разтваряте челюстите на патронника за бързо
закрепване (
1
) и отвинтвате закрепващия винт (лява
резба) (
черт. G
).
•
Закрепвате шестоъг ълния к люч в патронника за
бързо закрепване и го ударете леко в другия край на
шестоъг ълния к люч.
•
Отвинтвате патронника за бързо закрепване.
•
Монтажът на патронника за бързо закрепване
протича в пос ледователност обратна на неговия
демонтаж.
Всички видове неизправности трябва да бъдат
отстранявани от оторизирания сервиз на
производителя.
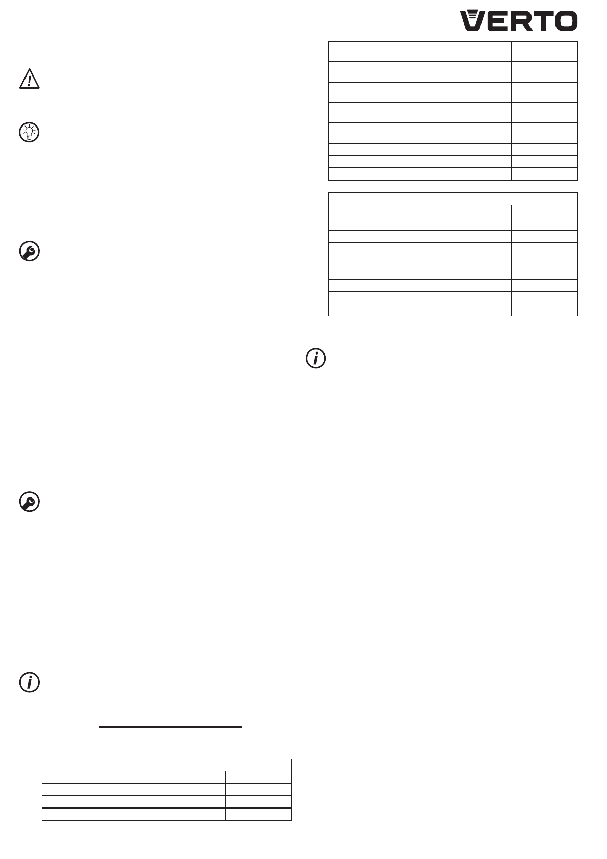
ТЕХНИЧЕСКИ ПАРАМЕТРИ
НОМИНА ЛНИ Д АННИ
Акумулаторен винтоверт
Параметър
Стойност
Напрежение на акумулатора
18V DC
Тип на акумулатора
Ni-Zn
Капацитет на акумулатора
1500 mAh
Диапазон на скоростта на въртене на
празен ход
0-550 min
-1
Диапазон на патронника за бързо
закрепване
0,8-10 mm
Диапазон на регулиране на въртящия
момент
1–20 плюс
пробиване
Максимален въртящ момент (меко
завиване)
18 Nm
Максимален въртящ момент (твърдо
завиване)
29 Nm
Клас на защитеност
III
Маса
1,489 kg
Година на производство
2018
Зарядно устройство
Параметър
Стойност
Захранващо напрежение
230V AC
Честота на захранването
50 Hz
Напрежение при зареждането
24V DC
Максимален ток на зареждането
300mA
Време на зареждането
5 h
Клас на защитеност
II
Маса
0,073 kg
Година на производство
2018
Д АННИ ЗА ШУМА И ВИБРАЦИИТЕ
Информация относно шума и вибрациите
Нивата на генерирания шум, такива като ниво на
генерираното акустично налягане Lp
A
и нивото на
акустичната мощност Lw
A
, както и несигурност та на
измерването K , посочено по-долу в инструкцията
съгласно нормата EN 60745.
Стойностите на вибрациите (стойност та на ускоренията)
a
h
и несигурност та на измерването K са обозначени
съгласно нормата EN 60745-2-1, посочена по-долу.
Посоченото в настоящата инструкция ниво на
вибрациите е било измерено съгласно определената от
нормата EN 60745 процедура на измерване и може да
бъде използвано за сравнение на електроинструменти.
Може да бъде използвано също така за вст ъпителна
оценка на експозицията на вибрациите.
Посоченото ниво на вибрациите е репрезентативно
за основните приложения или с другите работни
инструменти, а също, ако не бъде достат ъчно
поддържано, нивото на вибрациите може да се промени.
Посочените по-горе причините могат да предизвикат
окачване на експозицията срещу вибрациите по време
на целия период на работа.
За да се оцени точно експозицията срещу вибрациите,
трябва да се вземат предвид периодите, когато
електроинструмент ът е изк лючен или когато е
вк лючен, но не е използван за работа. По този начин
общата експозиция срещу вибрациите може да се
окаже значително по-ниска. Трябва да се въведат
допълнителни средства за безопасност с цел защитата
на потребителя пред пос ледствията от вибрациите,
такива като: поддръжка на електроинструменти и
работни инструменти, осигуряване на съответната
температура на ръцете, правилна организация на
работата.
Ниво на акустичното налягане: Lp
A
= 79 dB(A) K = 3dB (A)
Ниво на акустичната мощност: Lw
A
= 90 dB(A) K = 3dB (A)
Стойност на вибрационните ускорения: a
h
= 2,677 m/s²
K = 1,5 m/s²
Содержание
- 17 Д Р Е Л Ь - Ш У РУ П О В Е Р Т А К К УМУЛ Я ТО Р Н А Я; • Во время работы с дрелью-шуруповертом; частицы могут вызвать повреждение г лаз.; • Работайте дополнительными рукоятками,; При прикосновении рабочего инструмента
- 18 Не предпринимайте попыток самостоятельного; Расшифровка пиктограмм.; Пользуйтесь защитными очками и наушниками.
- 19 ПОДГОТОВКА К РАБОТЕ
- 20 ТЕХНИЧЕСКОЕ ОБС ЛУ ЖИВАНИЕ
- 21 ИНФОРМАЦИЯ О ДАТЕ ИЗГОТОВЛЕНИЯ