Микроволновые печи Gorenje GMO-24 DCS - инструкция пользователя по применению, эксплуатации и установке на русском языке. Мы надеемся, она поможет вам решить возникшие у вас вопросы при эксплуатации техники.
Если остались вопросы, задайте их в комментариях после инструкции.
"Загружаем инструкцию", означает, что нужно подождать пока файл загрузится и можно будет его читать онлайн. Некоторые инструкции очень большие и время их появления зависит от вашей скорости интернета.

45
Bedienungshinweise
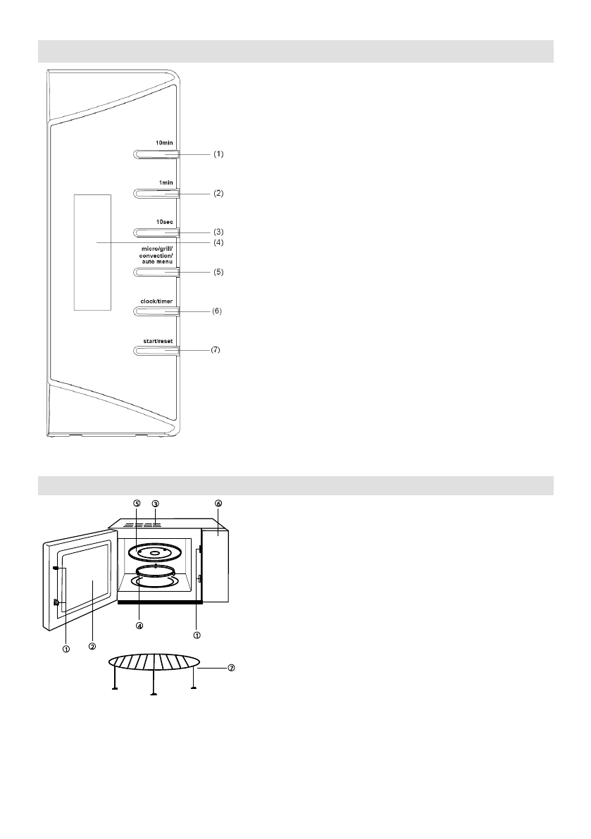
1.
10 Minuten
2.
1 Minute
3.
10 Sekunden
4.
Display
5.
Mikrowelle/Grill/Konvektion/Auto-
MОЧј
6.
Uhr/Zeitschaltuhr
7.
Start/Einstellung
Diagramm des Mikrowellenherdes
1.
Sicherheits-
TјrЯОrrТОРОХuЧР
2.
Sichtfenster
3.
BОХјПЭuЧРЬЬМСХТЭгОăШНОrăBОХјПЭuЧРЬЯОЧЭТХКЭШr
4.
Rollenring:
5.
Glasunterteller
6.
Bedienfeld
7.
Grillrost