Магнитолы Sony CDX-G3200UV - инструкция пользователя по применению, эксплуатации и установке на русском языке. Мы надеемся, она поможет вам решить возникшие у вас вопросы при эксплуатации техники.
Если остались вопросы, задайте их в комментариях после инструкции.
"Загружаем инструкцию", означает, что нужно подождать пока файл загрузится и можно будет его читать онлайн. Некоторые инструкции очень большие и время их появления зависит от вашей скорости интернета.

4
UA
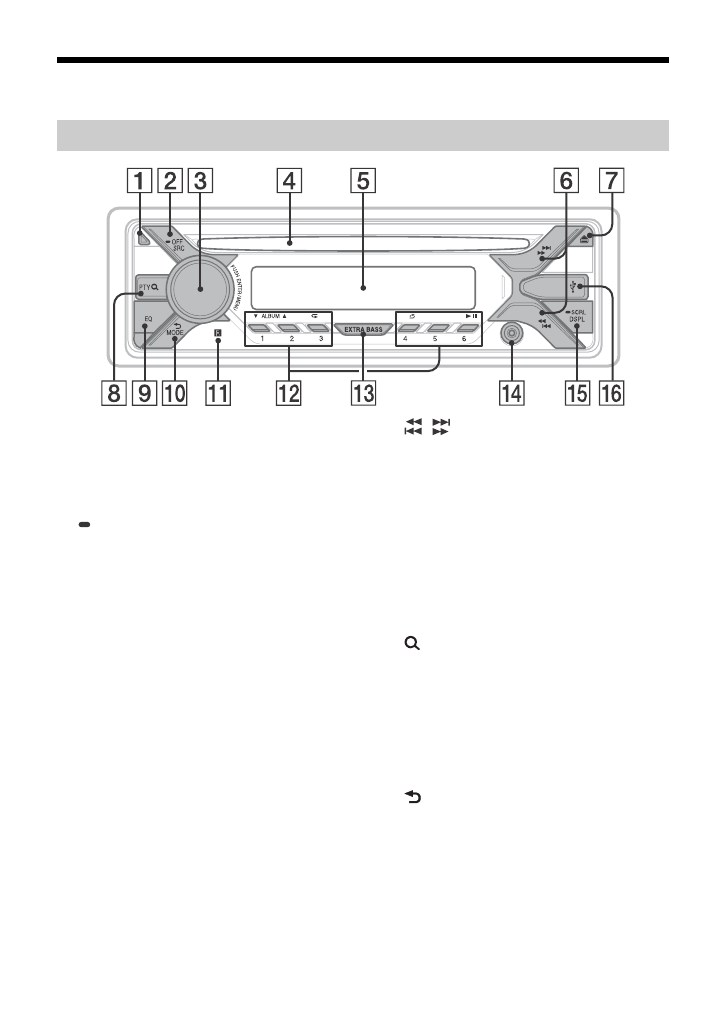
Довідник із частин і органів керування
Кнопка розблокування передньої
панелі
SRC (джерело)
Увімкнення живлення.
Змінення джерела.
OFF
Щоб вимкнути джерело й відобразити
годинник, натисніть і потримайте
протягом 1 секунди.
Якщо натиснути й утримувати кнопку
довше 2 секунд, живлення вимкнеться,
а дисплей згасне.
Диск керування
Повертайте для налаштування
гучності.
PUSH ENTER
Вхід до вибраного пункту.
MENU
Відкриття меню налаштувань.
Гніздо для дисків
Віконце дисплея
/
(SEEK –/+)
Автоматичне настроювання на
радіостанції. Натисніть і утримуйте,
щоб настроїти на станцію вручну.
/
(попередня/наступна)
/
(прискорене перемотування
назад/прискорене перемотування
вперед)
(вийняти диск)
PTY (тип програми)
Вибір типу програми (PTY) в RDS.
(огляд) (стор. 10, 11)
Перехід до режиму огляду під час
відтворення.
(Функція недоступна, якщо підключено
пристрій USB в режимі Android™ або
iPod.)
EQ (еквалайзер)
Вибір кривої еквалайзера.
(назад)
Повернення до попереднього екрана.
MODE (стор. 7)
Приймач сигналів від пульта
дистанційного керування
Основний пристрій
Содержание
- 137 Содержание
- 138 Справочник по деталям и органам управления; Основное устройство
- 139 Снятие передней панели; до тех пор, пока устройство; Начало работы
- 140 Перезагрузка устройства; Установка страны/региона; Установка часов; Для отображения часов; Уменьшите громкость на аппарате.
- 141 Прослушивание радио
- 142 Для приема экстренных сообщений; Сохранение вручную
- 143 Тип программ; Воспроизведение диска; Воспроизведение
- 144 Для остановки воспроизведения
- 145 Нажмите кнопку; Отмена режима DEMO; Дважды нажмите кнопку; Параметры
- 149 Меры предосторожности; Конденсация влаги; Дополнительная информация
- 150 Сведения об iPod
- 151 Уход за устройством; Чистка контактов; Тюнер
- 153 Авторские права
- 154 Общая информация; Звук отсутствует или очень тихий.
- 155 Дорожные сообщения не передаются.; Воспроизведение дисков CD
- 156 Не удается воспроизвести аудиофайл.
- 157 Сообщения
- 159 Регулировка угла установки; Установка/подключение
- 160 Подключение
- 161 Простое подключение сабвуфера; Установка соединений
- 162 Общая схема подключения; Установка; Схема подключения питания
- 163 Установите кронштейн
- 196 Printed in Thailand












