Бензопилы Hitachi CS45EМ - инструкция пользователя по применению, эксплуатации и установке на русском языке. Мы надеемся, она поможет вам решить возникшие у вас вопросы при эксплуатации техники.
Если остались вопросы, задайте их в комментариях после инструкции.
"Загружаем инструкцию", означает, что нужно подождать пока файл загрузится и можно будет его читать онлайн. Некоторые инструкции очень большие и время их появления зависит от вашей скорости интернета.

G
B
GB-7
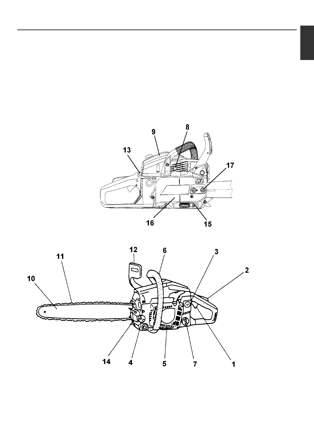
3. Description
Since this manual covers several models, there may be some difference between pictures and your unit.
Use the instructions that apply to your unit.
1. Throttle trigger
2. Safety trigger
3. Ignition switch
4. Oil tank cap
5. Recoil starter
6. Front handle
7. Fuel tank cap
8. Decompression valve
9. Airfilter cover
10. Guide bar
11. Saw chain
12. Chain brake
13. Choke knob
14. Spiked bumper
15. Chain catcher
16. Side case
17. Guide bar clamp nut
Содержание
- 83 РИСK ПОВРEЖДEНИЯ СЛУХA; МОДEЛЬ
- 84 Соде жание
- 85 Для безопасной эксплуатации
- 86 ПРEДОСТEРEЖEНИE
- 87 Пояснение символов на устpойстве
- 88 0 . Напpавляющая шина
- 89 Монтаж напpавляющей шины и пильной цепи
- 90 Топливо и масло для цепи
- 91 Эксплуатация двигателя
- 94 ПРИМЕЧАНИЕ
- 95 Техобслуживание пильной цепи и напpавляющей шины
- 96 Руководство по устpанению неполадок
Характеристики
Остались вопросы?Не нашли свой ответ в руководстве или возникли другие проблемы? Задайте свой вопрос в форме ниже с подробным описанием вашей ситуации, чтобы другие люди и специалисты смогли дать на него ответ. Если вы знаете как решить проблему другого человека, пожалуйста, подскажите ему :)