Бензопилы Hitachi CS45EМ - инструкция пользователя по применению, эксплуатации и установке на русском языке. Мы надеемся, она поможет вам решить возникшие у вас вопросы при эксплуатации техники.
Если остались вопросы, задайте их в комментариях после инструкции.
"Загружаем инструкцию", означает, что нужно подождать пока файл загрузится и можно будет его читать онлайн. Некоторые инструкции очень большие и время их появления зависит от вашей скорости интернета.

FI-7
F
I
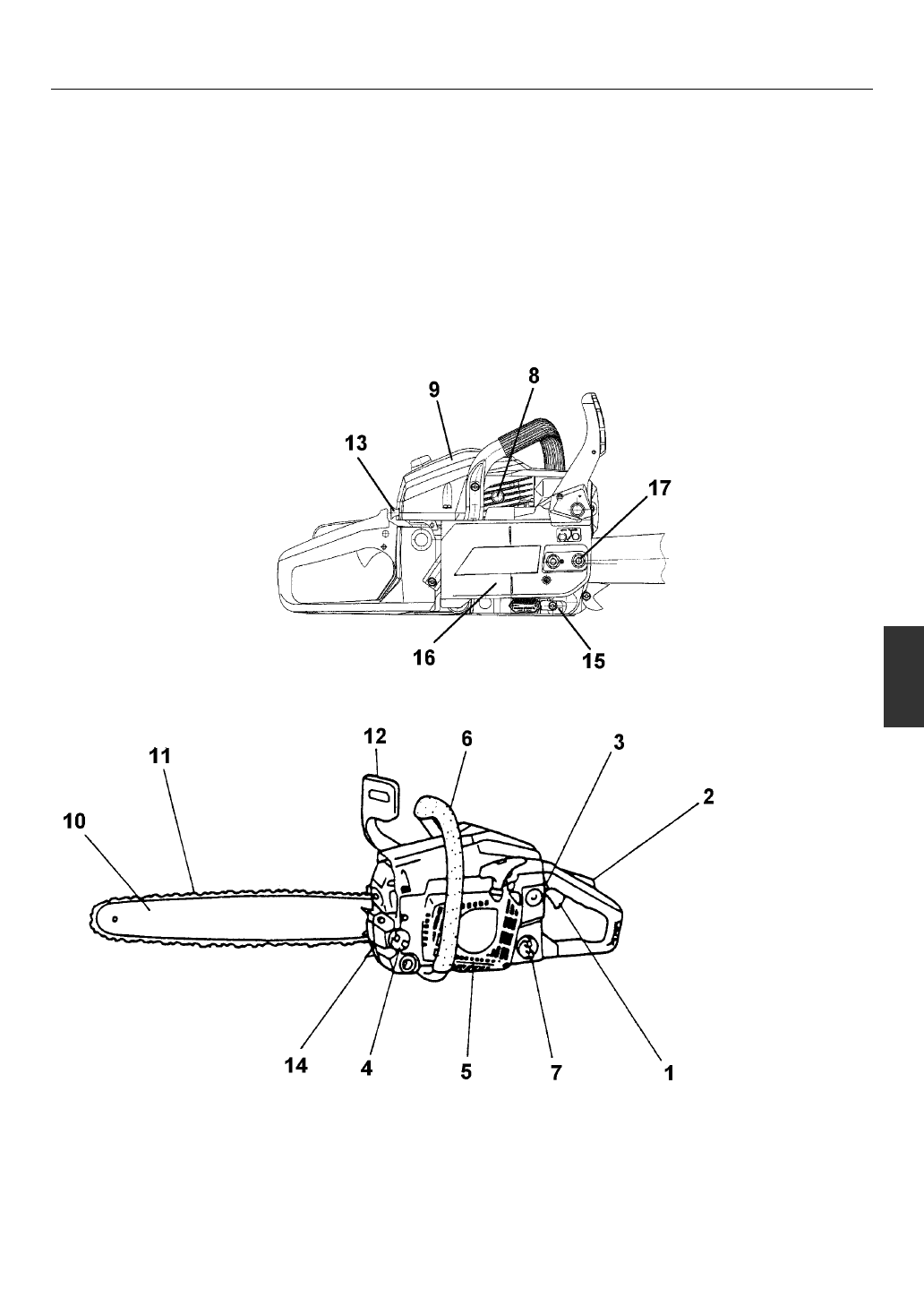
3. Selostus
Koska opas koskee useita malleja, kuvat voivat poiketa omistamastasi laitteesta. Noudata laitettasi koskevia ohjeita.
1. Kaasukahva
2. Kaasukahvan varmistin
3. Virtakytkin
4. Öljysäiliön kansi
5. Narukäynnistin
6. Etukahva
7. Polttoainesäiliön kansi
8. Puolipuristusventtiili
9. Ilmansuodattimen kotelo
10. Terälaippa
11. Teräketju.
12. Valinnainen
13. Rikastinnuppi
14. Hammastus
15. Ketjusieppo
16. Sivukotelo
17. Terälaipan lukkomutteri
Содержание
- 83 РИСK ПОВРEЖДEНИЯ СЛУХA; МОДEЛЬ
- 84 Соде жание
- 85 Для безопасной эксплуатации
- 86 ПРEДОСТEРEЖEНИE
- 87 Пояснение символов на устpойстве
- 88 0 . Напpавляющая шина
- 89 Монтаж напpавляющей шины и пильной цепи
- 90 Топливо и масло для цепи
- 91 Эксплуатация двигателя
- 94 ПРИМЕЧАНИЕ
- 95 Техобслуживание пильной цепи и напpавляющей шины
- 96 Руководство по устpанению неполадок
Характеристики
Остались вопросы?Не нашли свой ответ в руководстве или возникли другие проблемы? Задайте свой вопрос в форме ниже с подробным описанием вашей ситуации, чтобы другие люди и специалисты смогли дать на него ответ. Если вы знаете как решить проблему другого человека, пожалуйста, подскажите ему :)