Бензопилы Hitachi CS45EМ - инструкция пользователя по применению, эксплуатации и установке на русском языке. Мы надеемся, она поможет вам решить возникшие у вас вопросы при эксплуатации техники.
Если остались вопросы, задайте их в комментариях после инструкции.
"Загружаем инструкцию", означает, что нужно подождать пока файл загрузится и можно будет его читать онлайн. Некоторые инструкции очень большие и время их появления зависит от вашей скорости интернета.

S
E
SE-7
3. Beskrivning
Det kan hända att det finns skillnader mellan den modell du har och den modell som visas på illustrationerna,
eftersom denna bruksanvisning täcker flera modeller. Följ de instruktioner som är tillämpbara för din maskin.
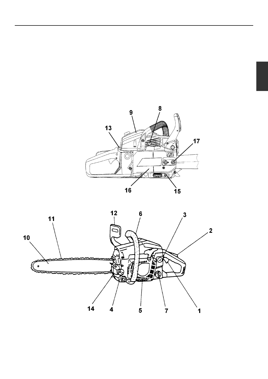
1. Gasreglage
2. Säkerhetslås
3. Stoppknapp
4. Oljetankslock
5. Startsnörshandtag
6. Främre handtag
7. Bränsletankslock
8. Dekomressionsventil
9. Luftfilterkåpa
10. Svärd
11. Sågkedja
12. Broms för sågkedja
13. Chokknopp
14. Barkstöd
15. Kedjefångare
16. Sidokåpa
17. Svärdets spännmutter
Содержание
- 83 РИСK ПОВРEЖДEНИЯ СЛУХA; МОДEЛЬ
- 84 Соде жание
- 85 Для безопасной эксплуатации
- 86 ПРEДОСТEРEЖEНИE
- 87 Пояснение символов на устpойстве
- 88 0 . Напpавляющая шина
- 89 Монтаж напpавляющей шины и пильной цепи
- 90 Топливо и масло для цепи
- 91 Эксплуатация двигателя
- 94 ПРИМЕЧАНИЕ
- 95 Техобслуживание пильной цепи и напpавляющей шины
- 96 Руководство по устpанению неполадок
Характеристики
Остались вопросы?Не нашли свой ответ в руководстве или возникли другие проблемы? Задайте свой вопрос в форме ниже с подробным описанием вашей ситуации, чтобы другие люди и специалисты смогли дать на него ответ. Если вы знаете как решить проблему другого человека, пожалуйста, подскажите ему :)