Весы Beurer BG 39 - инструкция пользователя по применению, эксплуатации и установке на русском языке. Мы надеемся, она поможет вам решить возникшие у вас вопросы при эксплуатации техники.
Если остались вопросы, задайте их в комментариях после инструкции.
"Загружаем инструкцию", означает, что нужно подождать пока файл загрузится и можно будет его читать онлайн. Некоторые инструкции очень большие и время их появления зависит от вашей скорости интернета.

18
Position de mémoire 1 à 10
Taille
100 à 220 cm (3‘-03“ à 7‘-03“)
Age
10 à 100 ans
Sexe
masculin ( ), féminin ( )
Degré d‘activité
1 à 5
Appuyez brièvement ou longuement sur la touche pour augmenter ou pour diminuer les valeurs de
réglage. Validez chacune de vos données en appuyant sur « REGLAGE ».
La balance est ensuite prête pour la mesure. Si vous ne procédez à aucune mesure, la balance s’éteint au-
tomatiquement au bout de quelques secondes.
Niveaux d’activité
Le niveau d’activité sera sélectionné en fonction des perspectives à moyen et à long terme.
–
niveau d’activité 1:
aucune activité physique.
–
niveau d’activité 2:
activité physique réduite.
Peu d’efforts physiques et efforts limités (promenade, jardinage facile, exercices de gymnastique, par ex.).
–
niveau d’activité 3:
activité physique moyenne.
Efforts physiques au moins 2 à 4 fois par semaine pendant 30 minutes.
–
niveau d’activité 4:
activité physique intense.
Efforts physiques au moins 4 à 6 fois par semaine pendant 30 minutes.
–
niveau d’activité 5:
activité physique très intense.
Efforts physiques très prononcés, entraînement intense ou travail physique dur quotidiennement,
1 heure au moins.
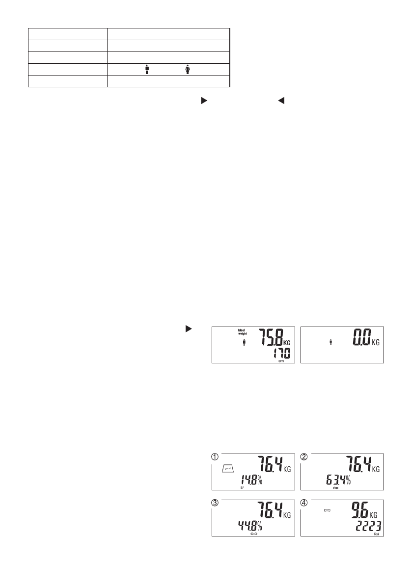
5.3 effectuer une mesure
Quand tous les paramètres ont été entrés, il est possible de déterminer le poids, la graisse corporelle et les
autres valeurs.
– Allumez la balance.
– Appuyez plusieurs fois sur la touche « haut »
pour sélectionner la position de mémoire où sont
enregistrées vos données de base personnelles.
Elles s‘affichent les unes après les autres avec le
poids idéal jusqu‘à ce que « 0.0 » s‘affiche.
– Montez pieds nus sur la balance et restez immobile sur les électrodes.
Important:
Il ne faut en aucun cas qu‘il y ait un contact entre les deux pieds, jambes, mollets et cuisses. Si-
non, la mesure ne peut pas être faite de manière correcte.
Remarque :
l’information relative au poids idéal s‘applique uniquement aux personnes de 18 ans et plus.
Les données suivantes s’affichent automatiquement l’une après l’autre :
1. Poids et taux de graisse corporelle
2. Poids et taux de masse hydrique
3. Poids et masse musculaire
4. Masse osseuse et taux d’activité « kcal ».
Содержание
- 43 Информация о диагностических весах; Принцип измерения, используемый диагностическими весами
- 44 Как пользоваться весами; Настройка пользовательских данных; Уровень активности 1:
- 45 Проведение измерения; Анализ результатов; Процентное содержание жировой ткани
- 46 Процентное содержание воды; Процентное содержание мышечной ткани; Женщины
- 47 скольких дней чаще всего вызываются лишь потерей жидкости.
- 48 Неверное измерение; Возможные причины неполадок: