Телевизоры кинескопные Sony KV-32FX66K - инструкция пользователя по применению, эксплуатации и установке на русском языке. Мы надеемся, она поможет вам решить возникшие у вас вопросы при эксплуатации техники.
Если остались вопросы, задайте их в комментариях после инструкции.
"Загружаем инструкцию", означает, что нужно подождать пока файл загрузится и можно будет его читать онлайн. Некоторые инструкции очень большие и время их появления зависит от вашей скорости интернета.

17
HU
A képernyőn megjelenő menürendszerek
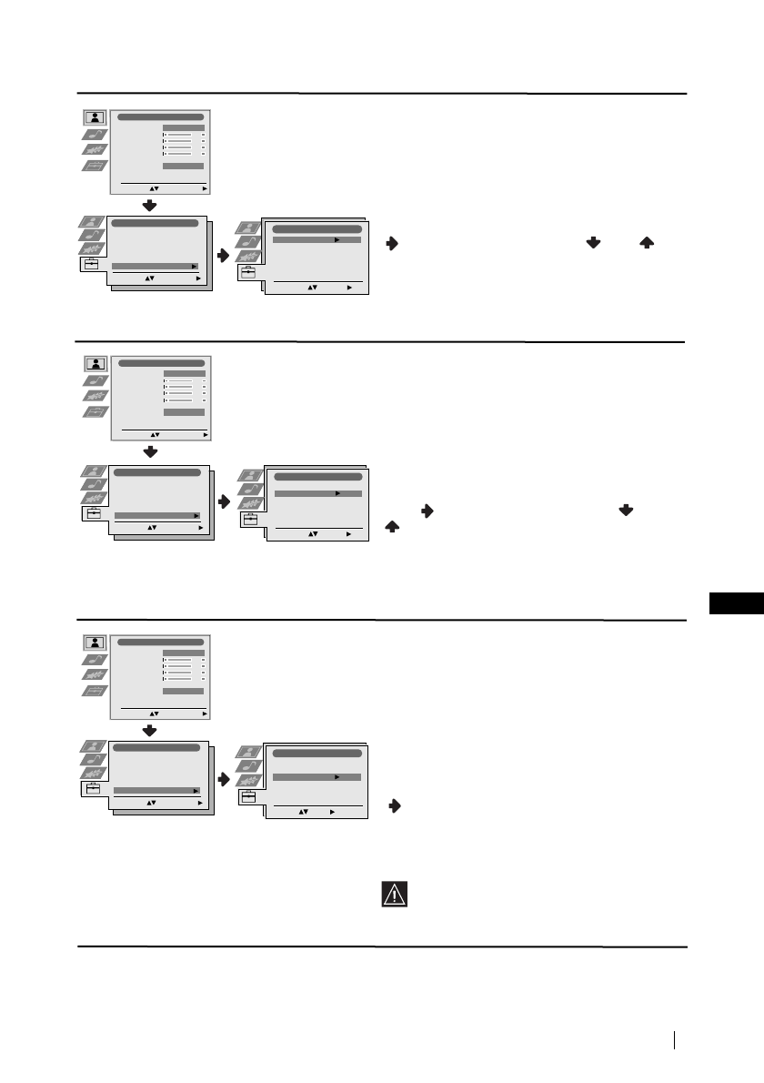
KÉPELFORGATÁS
A földmágnesesség következtében
előfordulhat, hogy a kép ferdén jelenik meg.
Ebben az esetben ezt a “Részlet beállítása”
menün belüli “Képelforgatás” opció
használatával állíthatja be.
Ehhez az opciót kiválasztását után nyomja meg
. Ezt követően nyomja meg
vagy
a
képdőlés –5 és +5 közötti beállításához.
RGB POCIONÁLÁS
RGB jelforrás csatlakoztatásakor, mint pl. egy
“Playstation”, előfordulhat, hogy szükséges a
vízszintes képközép beállítása. Ebben az
esetben ezt a “Részlet beállítása” menün belüli
“RGB pozicionálás” opció használatával
állíthatja be.
Ehhez az RGB jelforrás nézése közben
válassza ki az “RGB Közép” opciót és nyomja
meg
. Ezt követően nyomja meg
vagy
a képközepelés -10 és +10 közötti
beállításához. Végezetül nyomja meg az
OK
-t a
rögzítéshez.
A TÁVVEZÉRLŐ AZONOSÍTÓJA
A ”Részlet beállítása” menün belüli ”Távvezérlő
azonosító” opció lehetővé teszi, hogy a
televízió távvezérlőjéhez egy azonosítót
(számot) jelöljön ki, hogy kiküszöbölje az egyéb
keresőkkel való interferenciákat, amikor a
távvezérlő keresésekor a televíziógombot
benyomja.
Ehhez az opció kiválasztása után nyomja meg
-t, majd ezt követően járjon el a ”A TV
bekapcsolása és automatikus hangolás” c.
fejezet 8. oldalon lévő 5. lépésében leírtak
szerint.
Minden egyes alkalommal, amikor
kicseréli a távvezérlő elemeit, az
azonosítót újra ki kell jelölnie.
1. szint
2. szint 3. szint / funkció
Képbeállítás
Kiválasztás
:
Menü beírása
:
Kép üzemmód
Kontraszt
Fényerő
Színtelítetség
Képélesség
Törlés
Zajcsökkentő
Egyéni
AUTO
Beírás
:
Részlet beállítása
Kiválasztás
:
Képelforgatás
RGB pozicionálás
Távvezérlő azonosító
0
0
5
Set Up
Auto Tuning
Programme Sorting
Select NexTView
AV Preset
Manual Set Up
Select:
Enter Menu:
Set Up
Auto Tuning
Programme Sorting
Select NexTView
AV Preset
Manual Set Up
Select:
Enter Menu:
Beállítás
Kiválasztás:
Menü beírása:
Nyelv/Ország
Automatikus hangolás
Programhely-átrendezés
Programnevek
AV beállítás
Kézi hangolás
Részlet beállítása
Képbeállítás
Kiválasztás
:
Menü beírása
:
Kép üzemmód
Kontraszt
Fényerő
Színtelítetség
Képélesség
Törlés
Zajcsökkentő
Egyéni
AUTO
Beírás
:
Részlet beállítása
Kiválasztás
:
Képelforgatás
RGB pozicionálás
Távvezérlő azonosító
0
0
5
Set Up
Auto Tuning
Programme Sorting
Select NexTView
AV Preset
Manual Set Up
Select:
Enter Menu:
Set Up
Auto Tuning
Programme Sorting
Select NexTView
AV Preset
Manual Set Up
Select:
Enter Menu:
Beállítás
Kiválasztás:
Menü beírása:
Nyelv/Ország
Automatikus hangolás
Programhely-átrendezés
Programnevek
AV beállítás
Kézi hangolás
Részlet beállítása
Képbeállítás
Kiválasztás
:
Menü beírása
:
Kép üzemmód
Kontraszt
Fényerő
Színtelítetség
Képélesség
Törlés
Zajcsökkentő
Egyéni
AUTO
Beírás
:
Részlet beállítása
Kiválasztás
:
Képelforgatás
RGB pozicionálás
Távvezérlő azonosító
0
0
5
Set Up
Auto Tuning
Programme Sorting
Select NexTView
AV Preset
Manual Set Up
Select:
Enter Menu:
Set Up
Auto Tuning
Programme Sorting
Select NexTView
AV Preset
Manual Set Up
Select:
Enter Menu:
Beállítás
Kiválasztás:
Menü beírása:
Nyelv/Ország
Automatikus hangolás
Programhely-átrendezés
Programnevek
AV beállítás
Kézi hangolás
Részlet beállítása
Содержание
- 125 Назначение кнопок на пульте дистанционного управления; Общее описание
- 126 Подключение антенны и видеомагнитофона; Общее описание - Установка; выключение; выключение; Локализатор пульта; видеомагнитофон
- 127 Включение и автоматическая настройка телевизора; Установка), или нажав кнопку aвтoмaтичecкoй нaчaльнoй нacтpoйки
- 128 Первое включение телевизора в работу
- 129 Сортировка
- 130 Введение и работа с системой меню; Вывод системы меню на экран; Схема меню; Уровень
- 131 Dolby
- 132 отключения, нажмите на кнопку; ABTOФOPMAT
- 133 BЫXOД AV3; TV; BêxoÀ AV3; BXOДHOЙ CИГНАЛ РIР
- 134 продолжeниe; МЕCTOПОЛОЖЕНИЕ РIР
- 136 РУЧНАЯ НАСТРОЙКА ПРОГРАММ; Программа
- 137 ПОBОPОT ИЗОБРАЖЕНИЯ; ÀeÚaÎëÌaÓ ycÚaÌoÇÍa; » в меню «Д; ПУЛЬТА ДУ; , после чего выполняйте все
- 138 В этом случае введите другой номер страницы.; Фастекст
- 139 Bключение NexTView
- 140 Справка по пиктoгpaммaм:
- 141 Подключение дополнительных устройств; Подключение видеомагнитофона:; Дополнительная информация
- 142 Подключение внeшнeй звyкoвocпpoизвoдящeй aппapaтypы:; ÑËÌaÏËÍË TB; Вы также можете получить звуковой эффект; HacÚpoÈÍa ÁÇyÍa; Использование
- 143 Cписок марок видеомагнитофонов
- 144 Спецификации; Экологичная бумага без хлора
- 145 Уcтpaнeниe нeпoлaдoк; Неисправность; Допoлнитeльнaя инфомация












