Телевизоры кинескопные Sony KV-32FX66K - инструкция пользователя по применению, эксплуатации и установке на русском языке. Мы надеемся, она поможет вам решить возникшие у вас вопросы при эксплуатации техники.
Если остались вопросы, задайте их в комментариях после инструкции.
"Загружаем инструкцию", означает, что нужно подождать пока файл загрузится и можно будет его читать онлайн. Некоторые инструкции очень большие и время их появления зависит от вашей скорости интернета.

17
CZ
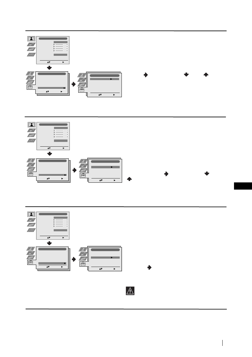
Režim menu na obrazovce
OTOČENÍ OBRAZU
Vzhledem k zemské přitažlivosti se může stát,
že se obraz nakloní. V tomto případě ho můžete
upravit použitím funkce “Otočení obrazu” v
režimu menu “Prodrobnější nastavení”.
K tomu je třeba: po zvolení funkce, stiskněte
tlačítko
. Poté stiskněte
nebo
pro
seřízení otočení obrazu v rozmezí od - 5 do + 5.
RGB CENTROVÁNÍ
Při zapojení vnějších signálů RGB, jako
“PlayStation”, je možné, že bude třeba seřídit
vodorovné centrování obrazu. V tomto případě
se seřizuje pomocí funkce “RGB centrování” v
režimu menu “Prodrobnější nastavení”.
K tomu je třeba: zatímco sledujete vstupní
signál RGB, zvolte funkci “RGB Centróvaní” a
stiskněte tlačítko
. Poté stiskněte
nebo
pro upravení centra obrazu (seřizujte od - 10
do + 10). Nakonec stiskněte tlačítko
OK
pro
jeho uložení.
IDENTIFIKÁTOR DÁLKOVÉHO OVLADAČE
Volba “ID číslo dálk. ovl.” v rámci menu
“Podrobnější nastavení” Vám umožňuje určit
identifikační číslo na dálkovém ovladači tohoto
televizoru, aby se zamezilo možným
interferencím s jinými lokalizátory, když
stisknete na televizoru tlačítko pro vyhledání
dálkového ovladače.
Postup je následující: po zvolení funkce
stiskněte
a poté postupujte tak, jak je
uvedeno v kapitole “Zapnutí a automatické
naladění TV”, krok 5 na straně 8.
Po každé, když budete vyměňovat baterie
v dálkovém ovladači, musíte znovu určit
identifikační kód (číslo).
Stupeň
1
Stupeň
2
Stupeň 3 / Funkce
Nastavení obrazu
Výběr:
Zadat Menu:
Režim obrazu
Kontrast
Jas
Barevná sytost
Ostrost
Reset
Redukce šumu
Osobní
AUTO
Zadat Menu:
Podrobnější nastavení
Výběr:
Otočení obrazu
RGB centrování
ID číslo dálk. ovl.
0
0
5
Zadat Menu:
Instalace
Výběr:
Jazyk/Země
Automatické ladění
Třídění programů
Označení programů
AV předvolby
Ruční ladění
Podrobnější nastavení
Nastavení obrazu
Výběr:
Zadat Menu:
Režim obrazu
Kontrast
Jas
Barevná sytost
Ostrost
Reset
Redukce šumu
Osobní
AUTO
Zadat Menu:
Podrobnější nastavení
Výběr:
Otočení obrazu
RGB centrování
ID číslo dálk. ovl.
0
0
5
Zadat Menu:
Instalace
Výběr:
Jazyk/Země
Automatické ladění
Třídění programů
Označení programů
AV předvolby
Ruční ladění
Podrobnější nastavení
Nastavení obrazu
Výběr:
Zadat Menu:
Režim obrazu
Kontrast
Jas
Barevná sytost
Ostrost
Reset
Redukce šumu
Osobní
AUTO
Zadat Menu:
Podrobnější nastavení
Výběr:
Otočení obrazu
RGB centrování
ID číslo dálk. ovl.
0
0
5
Zadat Menu:
Instalace
Výběr:
Jazyk/Země
Automatické ladění
Třídění programů
Označení programů
AV předvolby
Ruční ladění
Podrobnější nastavení
Содержание
- 125 Назначение кнопок на пульте дистанционного управления; Общее описание
- 126 Подключение антенны и видеомагнитофона; Общее описание - Установка; выключение; выключение; Локализатор пульта; видеомагнитофон
- 127 Включение и автоматическая настройка телевизора; Установка), или нажав кнопку aвтoмaтичecкoй нaчaльнoй нacтpoйки
- 128 Первое включение телевизора в работу
- 129 Сортировка
- 130 Введение и работа с системой меню; Вывод системы меню на экран; Схема меню; Уровень
- 131 Dolby
- 132 отключения, нажмите на кнопку; ABTOФOPMAT
- 133 BЫXOД AV3; TV; BêxoÀ AV3; BXOДHOЙ CИГНАЛ РIР
- 134 продолжeниe; МЕCTOПОЛОЖЕНИЕ РIР
- 136 РУЧНАЯ НАСТРОЙКА ПРОГРАММ; Программа
- 137 ПОBОPОT ИЗОБРАЖЕНИЯ; ÀeÚaÎëÌaÓ ycÚaÌoÇÍa; » в меню «Д; ПУЛЬТА ДУ; , после чего выполняйте все
- 138 В этом случае введите другой номер страницы.; Фастекст
- 139 Bключение NexTView
- 140 Справка по пиктoгpaммaм:
- 141 Подключение дополнительных устройств; Подключение видеомагнитофона:; Дополнительная информация
- 142 Подключение внeшнeй звyкoвocпpoизвoдящeй aппapaтypы:; ÑËÌaÏËÍË TB; Вы также можете получить звуковой эффект; HacÚpoÈÍa ÁÇyÍa; Использование
- 143 Cписок марок видеомагнитофонов
- 144 Спецификации; Экологичная бумага без хлора
- 145 Уcтpaнeниe нeпoлaдoк; Неисправность; Допoлнитeльнaя инфомация












