Плита Electrolux EKK 603504 X - инструкция пользователя по применению, эксплуатации и установке на русском языке. Мы надеемся, она поможет вам решить возникшие у вас вопросы при эксплуатации техники.
Если остались вопросы, задайте их в комментариях после инструкции.
"Загружаем инструкцию", означает, что нужно подождать пока файл загрузится и можно будет его читать онлайн. Некоторые инструкции очень большие и время их появления зависит от вашей скорости интернета.

electrolux
9
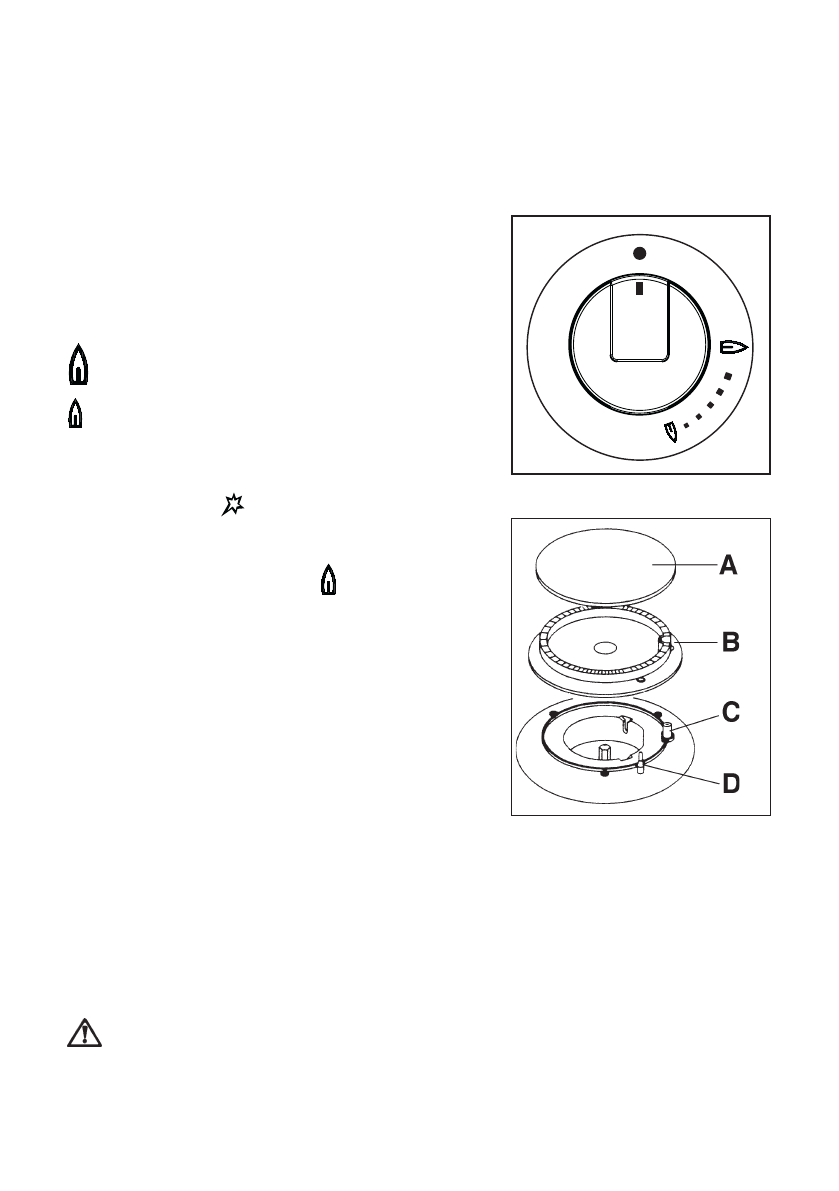
Control knobs on the gas hob
The knobs for using the gas hob of
the cooker are found on the control
panel. The regulation knobs could be
turned in anti-clockwise direction until
the small flame symbol, and vice-versa
for the larger symbol.
z
No gas supply
Maximum gas supply
Minimum gas supply
To light a burner:
1. press the ignition switch marked by
a small spark (
);
2. push the relevant control knob in
completely and turn it anticlockwise
to the maximum position ( );
3. upon ignition, keep the knob pushed
down for about 5 seconds. This will
allow the safety device ("thermocou-
p l e " - s e e f i g u r e , l e t t e r
D
) t o b e
heated and the safety device to be
switched off, otherwise the gas sup-
ply would be interrupted;
4. then, check the flame is regular and
adjust it as required.
If the burner does not ignite, turn the
control knob to zero, and try again.
If after a few attempts the burner
does not ignite, check that the burner
cap and crown (see figure, letter
A
,
B
)
are correctly positioned.
To interrupt the supply of gas, turn
the knob in a clockwise direction to the
position "
z
".
Do not keep the control knob
pressed for more than 15
seconds. If the burner does
not light even after 15 seconds,
)
)
)
)
)
A
- Burner Cap
B
- Burner crown
C
- Spark generator
D
- Thermocouple
The gas burner controls












