Плита Electrolux EKK 603504 X - инструкция пользователя по применению, эксплуатации и установке на русском языке. Мы надеемся, она поможет вам решить возникшие у вас вопросы при эксплуатации техники.
Если остались вопросы, задайте их в комментариях после инструкции.
"Загружаем инструкцию", означает, что нужно подождать пока файл загрузится и можно будет его читать онлайн. Некоторые инструкции очень большие и время их появления зависит от вашей скорости интернета.

14
electrolux
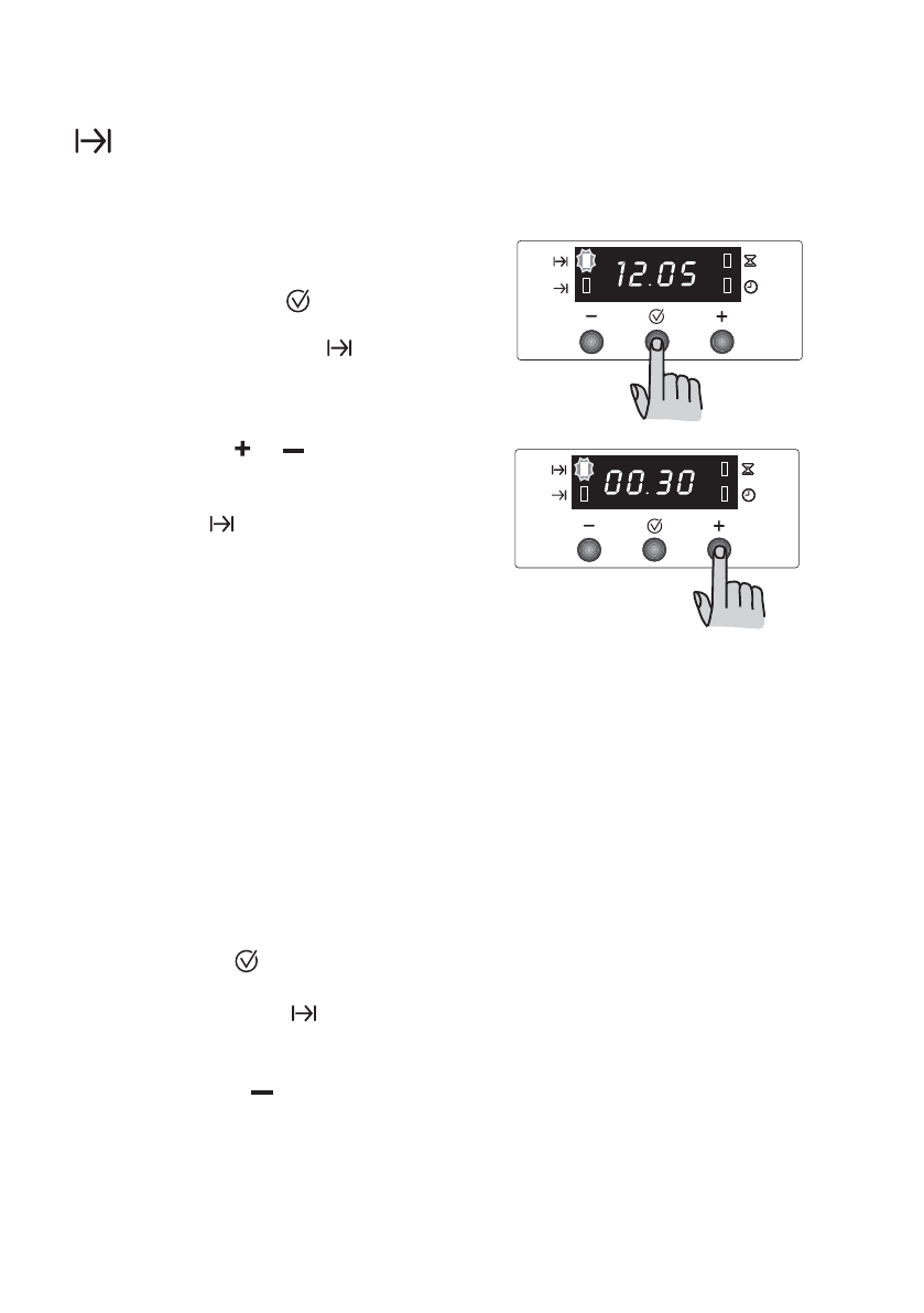
“Cooking Duration” function
T h i s f u n c t i o n a l l o w s t h e o v e n t o
automatically switch off at the end of a
programmed cooking duration time.
Place food in the oven, select a cooking
function and adjust the cooking tempe-
rature. Press button
repeatedly to
select the “Cooking Duration” function.
The relevant pilot lamp
will start
flashing. Then, proceed as follows:
To set the duration time:
To set the duration time:
To set the duration time:
To set the duration time:
To set the duration time:
1.
Press button or .
2.
After the setting is carried out, wait
for 5 seconds: the "Cooking Duration"
pilot lamp
will come on and the
display will revert to the time of day.
3.
When cooking time is over, the oven
will be switched off automatically and
an acoustic alarm will be heard, while
the pilot lamp will start flashing. Turn
the oven function and the thermostat
control knob to zero.
To switch off the acoustic alarm, press
any button.
NOTE:
NOTE:
NOTE:
NOTE:
NOTE:
turning the acoustic alarm off
will reset the oven to manual, and if
the oven function and the thermostat
knobs are not set to zero the oven
will start to heat again.
To cancel the duration time:
To cancel the duration time:
To cancel the duration time:
To cancel the duration time:
To cancel the duration time:
1.
Press button
repeatedly to select
the “Cooking Duration” function. The
relevant pilot lamp
will flash and
the display will show the remaining
cooking time.
2.
Press button
until the display
shows “0:00”. After 5 seconds the
pilot lamp will go out and the display
will revert to the time of day.












