Плита Electrolux EKG 603301 W (X) - инструкция пользователя по применению, эксплуатации и установке на русском языке. Мы надеемся, она поможет вам решить возникшие у вас вопросы при эксплуатации техники.
Если остались вопросы, задайте их в комментариях после инструкции.
"Загружаем инструкцию", означает, что нужно подождать пока файл загрузится и можно будет его читать онлайн. Некоторые инструкции очень большие и время их появления зависит от вашей скорости интернета.

electrolux
13
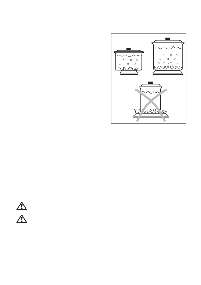
Recommended pottery
Remember that a wide-bottomed pan
allows a faster cooking than a narrow
one. Always use pots which properly fit
what you have to cook.
Particularly make sure that the pans are
not too small for liquids, since these
could easily overflow.
Moreover, the pans should not be too
large for a faster cooking. In fact, grease
and juices may spread on the bottom
and burn easily.
It is better to use non-openable moulds
for baking cakes. In fact, an openable
m o u l d l e t s j u i c e s a n d s u g a r l e a k
through, falling on the bottom of the oven
and consequently burning on the bottom
of the baking tray, making cleaning
difficult.
Avoid putting plastic-handled pans in the
oven as they are not heat-proof.
You should use oans with the right
diameter to fit the burner, in order to
make the most out of it, thus reducing
gas consumption.
It is also advisable to cover any boiling
casserole and, as soon as the liquid
starts boiling, lower the flame enough
to keep the boiling point.
Pots must not enter the control
zone.
Make sure pots do not protrude
over the edges of the cooktop
and that they are centrally
positioned on the rings in order
t o o b t a i n l o w e r g a s
consumption.
Содержание
- 49 Пояснение к пользованию настоящей инструкцией; Оглавление; Инструкции для пользователя Инструкции для установщика
- 50 Важные указания по безопасности; Установка; РУССКИЙ
- 51 При эксплуатации
- 52 Техническое обслуживание
- 55 Камера духового шкафа; Принадлежности
- 56 Включение газовых горелок; Правильная эксплуатация плиты
- 58 Рекомендуемая посуда
- 59 Эксплуатация газового духового шкафа
- 60 Ручной розжиг; Газовый духовой шкаф
- 61 Электрический гриль; Вентилятор духовки; Органы управления
- 62 Использование режима конвекции; Меньшее время прогрева; Более равномерный нагрев
- 63 Первое включение духового шкафа
- 64 Электронный таймер; Установка обратного отсчета времени
- 66 Энергосберегающий режим
- 67 Советы и рекомендации по эксплуатации
- 68 Телескопические держатели полок
- 69 Конденсация и пар
- 72 Рекомендации по использованию газовых горелок
- 73 Таблица приготовления
- 74 Примерные температуры, соответствующие показаниям селектора
- 75 Чистка и уход; Чистка плиты
- 78 Полки духовки и держатели полок
- 81 Технические данные; Плита
- 82 Требования к установке; Указания для установщика; Удаление продуктов сгорания; Выравнивание по высоте
- 83 Подключение к газовой магистрали
- 84 НЕТ; ДА
- 85 Винт обводного клапана
- 86 Замена инжектора горелки
- 88 Параметры горелок
- 89 Электрическое подключение
- 91 Гарантия/сервисная служба; ЕВРОПЕЙСКАЯ ГАРАНТИЯ












