Мотоциклы HONDA CRF150R 2006 - инструкция пользователя по применению, эксплуатации и установке на русском языке. Мы надеемся, она поможет вам решить возникшие у вас вопросы при эксплуатации техники.
Если остались вопросы, задайте их в комментариях после инструкции.
"Загружаем инструкцию", означает, что нужно подождать пока файл загрузится и можно будет его читать онлайн. Некоторые инструкции очень большие и время их появления зависит от вашей скорости интернета.

Перечень дополнительного оборудования
144
Информация технического характера
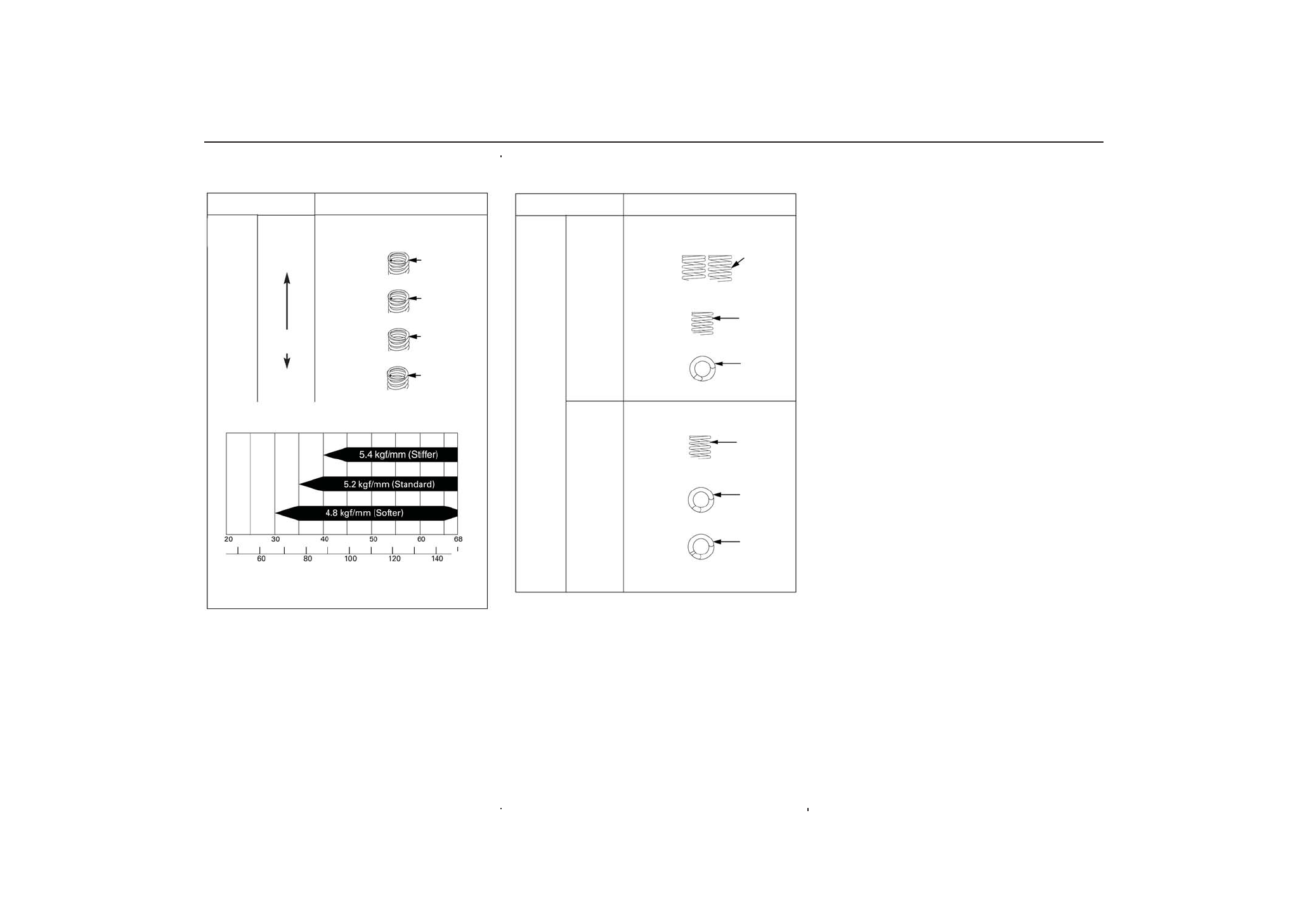
РАМА
Аморти%
заторная
стойка
CRF150
Более мягкая
Стандартная
Более
жесткая
Заметки
4,8 кгс*мм
Красная
метка
5,0 кгс*мм
Белая метка
5,2 кгс*мм
Без метки
5,4 кгс*мм
Черная метка
Вес водителя
Максимальная масса % 68 кг.
Вес водителя не должен превышать этого значения.
Пружины
вилки
CRF150
Более мягкая
Стандартная
Более
жесткая
Заметки
РАМА
0,32 кгс*мм
0,34 кгс*мм
0,36 кгс*мм
0,34 кгс*мм
0,36 кгс*мм
0,38 кгс*мм
1 виток
с обоих
концов
1 метки
2 метки
2 витка
на одном
конце;
1 виток
на другом
конце
1 виток
с обоих
концов
1 метки
CRF150
Более мягкая
Стандартная
Более
жесткая
