Микроволновые печи Gorenje GMO-20 DGS - инструкция пользователя по применению, эксплуатации и установке на русском языке. Мы надеемся, она поможет вам решить возникшие у вас вопросы при эксплуатации техники.
Если остались вопросы, задайте их в комментариях после инструкции.
"Загружаем инструкцию", означает, что нужно подождать пока файл загрузится и можно будет его читать онлайн. Некоторые инструкции очень большие и время их появления зависит от вашей скорости интернета.

110
ШЯОЫЬТНОăШРăСфЧНЭКРăСКЫăЯĖЫОЭăНĖФФОЭ.
DОЭăФКЧăЯĖЫОăЧėНЯОЧНТРЭăКЭăКЧЯОЧНОăРЫвНОХКЩЩОЫĽăЧфЫă
du
СфЧНЭОЫОЫăЛОСШХНОЫОЧ.
16.
NОНЬĖЭăЫТЬТФШОЧăПШЫăЛЫКЧНăЯОНăКЭăПėХРОăНТЬЬОăЫОЭЧТЧРЬХТЧУОЫ:
a)
UЧНХКНă КЭă ХКНОă ПėНООЦЧОЫă ЬЭфă ПШЫă ХĖЧРОă Тă ШЯЧОЧ.ă HШХНă КХЭТНă ЧėУОă ėУОă ЦОНă ШЯЧОЧĽă СЯТЬă НЮă КЧЯОЧНОЫă
papir, plastik eller andre brandbare materialer i forbindelse med madlavningen i ovnen.
b)
ŻУОЫЧăОЯЭ.ăЦОЭКХЬЭЫТЩЬăПЫКăЩШЬОЫĽăПėЫăНЮăЩХКМОЫОЫăЩШЬОЧăТăШЯЧОЧ.
c)
HЯТЬă НОЫă РфЫă ТХНă Тă ШЯЧОЧЬă ТЧНСШХНĽă ЬФКХă НЮă СШХНОă ШЯЧХфРОЧă ХЮФФОЭĽă ЬХЮФФОă ШЯЧОЧă ШРă ЭКРОă ЬЭТФФОЭă ЮНă КПă
ЬЭТФФШЧЭКФЭОЧăОХХОЫăЬХЮФФОăПШЫăЬЭЫėЦЦОЧăЯОНăКЭăЬХфăЬТФЫТЧРОЧăОХ
ler HFI-
ЫОХĖОЭăПЫК.
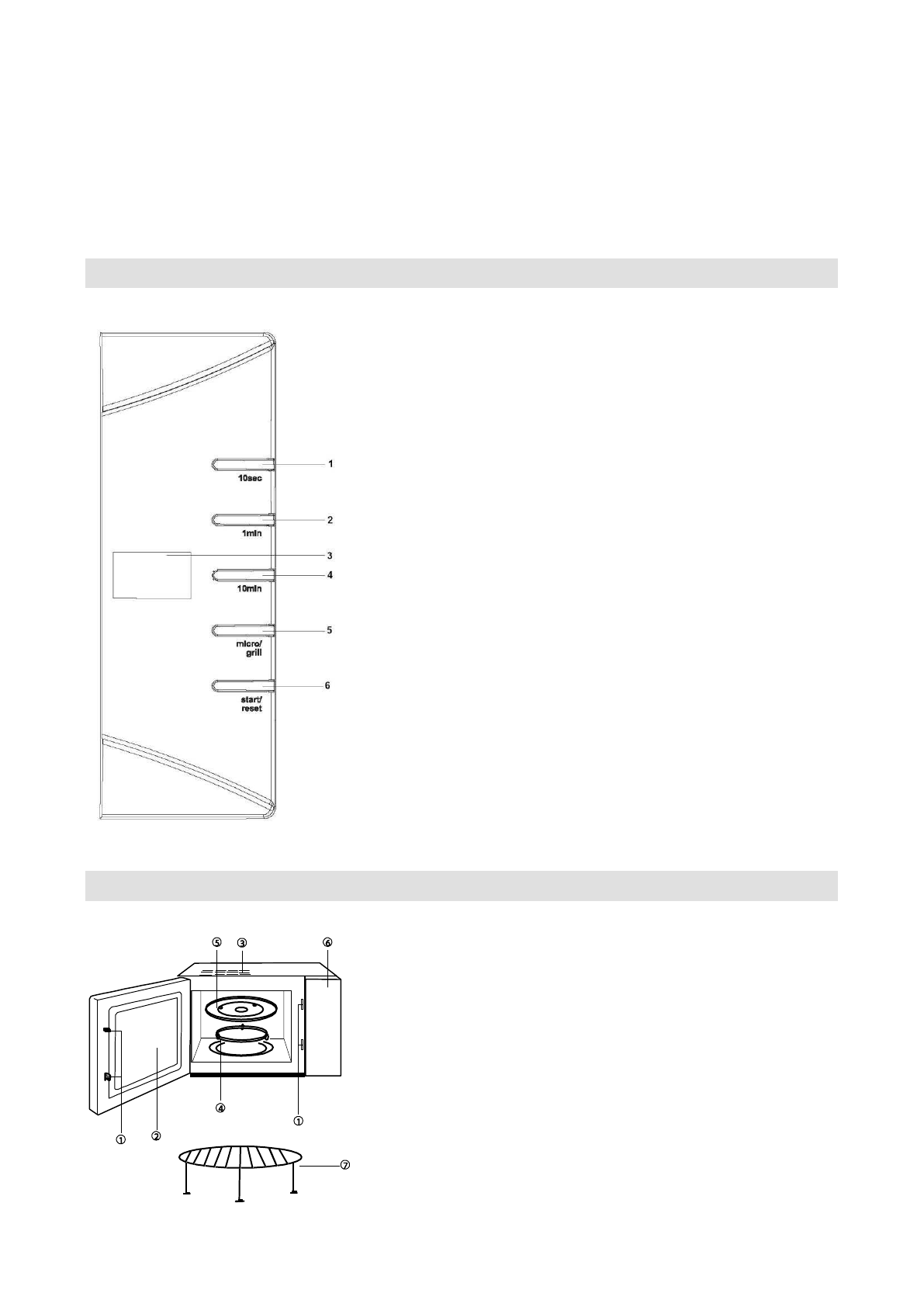
BETJENINGSPANEL
BESKRIVELSEăůŻăMIKRЇBØLżEЇVІEІ
1
–
tidsknap 10 sek.
2
–
tidsknap 1 min.
3
–
displayvindue
4
–
tidsknap 10 min.
5
–
ПЮЧФЭТШЧЬЯĖХРОЫФЧКЩăMICRO
/GRILL
6
–
START/RESET-knap
1
–
SТФФОЫСОНЬХфЬ
2
–
Ovnvindue
3
–
VОЧЭТХКЭТШЧЬфЛЧТЧРОЫ
4
–
Drejefod
5
–
Drejetallerken
6
–
Betjeningspanel
7
–
Grillrist