Honda XL1000VA Varadero - инструкции и руководства
Мотоцикл Honda XL1000VA Varadero - инструкции пользователя по применению, эксплуатации и установке на русском языке читайте онлайн в формате pdf
Инструкции:
Инструкция по эксплуатации Honda XL1000VA Varadero
Краткое содержание
ВАЖНАЯ ИНФОРМАЦИЯ ВОДИТЕЛЬ И ПАССАЖИР Этот мотоцикл предназначен для перевозки водителя и одного пассажира.Никогда не превышайте максимальную грузоподъёмность, указанную на оборудовании и табличкес характеристиками. ЭКСПЛУАТАЦИЯ НА ДОРОГАХ Этот мотоцикл предназначен только для эксплуатации на дорога...
ДОБРО ПОЖАЛОВАТЬ Мотоцикл даёт вам возможность овладеть искусством управления и погрузиться в мир приключений.Вы несётесь навстречу ветру по дороге на машине, которая, как никакая другая, беспрекословновыполняет ваши команды. В отличие от автомобиля, здесь вы не защищены металлической оболочкой. Как...
НЕСКОЛЬКО СЛОВ О БЕЗОПАСНОСТИ Ваша безопасность и безопасность окружающих очень важны. Поэтому безопасное управлениемотоциклом является серьезной ответственностью. Чтобы помочь вам обеспечивать безопасность, мы поместили соответствующую информацию натабличках на мотоцикле и в Руководстве по эксплуат...
Вы ПОГИБНЕТЕ или ПОЛУЧИТЕ СЕРЬЁЗНЫЕ ТРАВМЫ, еслине будете следовать инструкциям. Вы можете ПОГИБНУТЬ или ПОЛУЧИТЬ СЕРЬЁЗНЫЕТРАВМЫ, если не будете следовать инструкциям. Вы можете ПОЛУЧИТЬ ТРАВМЫ, если не будете следоватьинструкциям. Заголовки, относящиеся к безопасности — такие, как важные предостер...
ЭКСПЛУАТАЦИЯ МОТОЦИКЛА Стр. 1 БЕЗОПАСНОСТЬ ПРИ ЭКСПЛУАТАЦИИ МОТОЦИКЛА 1 Сведения по мерам безопасности 2 Защитная одежда4 Максимальная допустимая нагрузка и рекомендации 8 ОРГАНЫ УПРАВЛЕНИЯ И ИХ РАСПОЛОЖЕНИЕ 11 Приборы и индикаторы 26 ОСНОВНЫЕ АГРЕГАТЫ (Информация, необходимая для управлениямотоцикл...
Стр. 55 ПРОЧЕЕ ОБОРУДОВАНИЕ (Не требуемое для работы мотоцикла) 55 Замок руля56 Седло57 Держатель для шлема58 Регулировка ветрового щитка по высоте60 Пакет для документов61 Отсек для размещения механического противоугонного устройства 62 Внутренний обтекатель63 Нижний обтекатель64 Нижний кожух65 Вер...
ТЕХНИЧЕСКОЕ ОБСЛУЖИВАНИЕ МОТОЦИКЛА Стр. 82 ТЕХНИЧЕСКОЕ ОБСЛУЖИВАНИЕМОТОЦИКЛА 82 Значение технического обслуживания83 Меры безопасности при проведении технического обслуживания 84 Информация, относящася к безопасности85 Регламент технического обслуживания88 Комплект инструмента 89 Идентификационные н...
2 Не управляйте мотоциклом послеупотребления алкоголя Алкоголь абсолютно несовместим с вождениеммотоцикла.Даже небольшая доза алкоголяснижает способность реагировать на изменениедорожной обстановки, и существенно ухудшаетреакцию. Поэтому не управляйте мотоцикломпосле употребления алкоголя и не позво...
3 Шлемы и защитные очки Мотоциклетный шлем является наиболее важнымэлементом защитной экипировки, поскольку онобеспечивает наилучшую защиту головы.Шлем должен соответствовать размеру головы,быть удобным, но не болтаться. Шлем, окрашенный в яркие цвета, сделает васболее заметным в уличном движении, т...
4 МАКСИМАЛЬНАЯ ДОПУСТИМАЯ НАГРУЗКАИ РЕКОМЕНДАЦИИ Данный мотоцикл предназначен для перевозкиводителя и одного пассажира. При езде спассажиром вы можете почувствовать, чтомотоцикл при разгоне и торможении ведет себяиначе. Но если вы правильно обслуживаетемотоцикл, а шины и тормоза находятся в хорошемс...
6 Дополнительное оборудованиеи модификации Изменения в конструкции или использованиедополнительного оборудования, не изготовленUного компанией Honda, могут отрицательносказаться на безопасности вождения мотоцикла. До внесения в конструкцию мотоцикла любыхизменений или приобретения аксессуаров,ознако...
7 Запрещается эксплуатировать мотоцикл сприцепом или боковой коляской. Конструкциямотоцикла не предусматривает работы сприцепом или коляской, и их использованиесерьёзно ухудшит управляемость мотоцикла. Изменения конструкции Мы настоятельно рекомендуем не демонтироватьоригинальное оборудование с мото...
8 Выключатель аварийнойсигнализации ОРГАНЫ УПРАВЛЕНИЯ И ИХ РАСПОЛОЖЕНИЕ Выключатель указателяповорота Тахометр Выключательдвигателя Бачок тормозной жидкостипереднего контура Зеркало заднеговида Зеркалозаднего вида Рычаг переднеготормоза Рукояткаакселератора Выключатель указателяповоротов Рычаг сцепл...
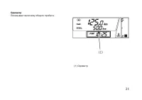
11 ПРИБОРЫ И ИНДИКАТОРЫ Индикаторы располагаются на приборной панели.Их назначение изложено в таблицах на следующихстраницах. (1) Индикатор указателя левого поворота(2) Индикатор низкого давления масла в двигателе (3) Указатель уровня топлива(4) Многофункциональный дисплей(5) Индикатор нейтрали(6) И...
12 № позиции Наименование Назначение 1 Индикатор указателя левогоповорота (зеленого цвета) Прерывисто вспыхивает при включении указателялевого поворота или аварийной сигнализации. 2 Индикатор низкого давлениямасла (красного цвета) Высвечивается, когда давление масла в двигателепадает ниже штатного з...
13 № позиции Наименование Назначение 4 Многофункциональный дисплей Дисплей имеет следующие функции: данныйдисплей служит для отображения пусковойинформации (см. стр. 18) Указатель температурыохлаждающей жидкости Показывает температуру охлаждающей жидкости(стр. 20). Одометр Показывает общий пробег (с...
14 № позиции Наименование Назначение 5 Индикатор нейтрали(зелёного цвета) Загорается при включении нейтрали. 6 Индикатор системыуправления двигателемPGMUFI (красного цвета) Высвечивается при нарушениях функционированиясистемы управления двигателем PGMUFI (электронныйвспрыск топлива). Также должен вы...
15 № позиции Наименование Назначение 8 Тахометр Показывает частоту вращения двигателя в оборотахв минуту. 9 Красная зона тахометра Никогда, даже после обкатки двигателя, не допускайтеситуации, при которой стрелка тахометра будетнаходиться в красной зоне. Эксплуатация двигателя за пределамирекомендов...
17 № позиции Наименование Назначение 13 Индикатор системыиммобилайзера (HISS)(красный цвет) Этот индикатор высвечивается на несколько секунд привключении зажигания, если выключатель двигателянаходится в положении « » RUN (РАБОТА). Затем он должен погаснуть, если в замке зажигания находитсяправильно ...
18 Исходный режим индикации При повороте ключа зажигания в положение ON(ВКЛЮЧЕНО) многофункциональный дисплей (1)на короткое время покажет все сегменты ирежимы индикации, чтобы водитель имелвозможность убедиться в исправности жидкоUкристаллического дисплея. Сегменты «мили» (2) и «мили/л» (3) есть то...
19 Многофункциональный дисплей На многофункциональном дисплее (1) отображаются: Указатель температуры охлаждающей жидкостиОдометрУказатель пробега за поездкуЦифровые часыУказатель расхода топлива Показания цифровых часов (5) и указателяпробега за поездку (3) обнуляются при отсоедиUнении аккумуляторн...
20 (1) Указатель температуры охлаждающей жидкости (2) Сегмент C(3) Сегмент Н Указатель температурыохлаждающей жидкости Указатель температуры охлаждающей жидкости(1) отображает температуру охлаждающей жидUкости в цифровом виде. Когда загорается деление С (2), это означает, чтодвигатель достаточно про...
23 Указатели A и B пробега за поездку. Указатели A и B пробега за поездку показываютсуммарный пробег. Обнуление показаний активизированного указаUтеля (A или B) осуществляется длительнымнажатием кнопки (6). (2) Указатель пробега за поездку А(3) Указатель пробега за поездку В(6) Кнопка указателя проб...
25 Цифровые часы Отображают часы и минуты.Для установки времени следуйте процедуре: 1. Включите зажигание, повернув ключ вположение ON (ВКЛ).2. Нажмите и удерживайте нажатой кнопку (2)более 2 секунд. Включится режим установкивремени. Дисплей начнет мигать. 3. Нажимайте кнопку до появления на дисплее...
26 ОСНОВНЫЕ АГРЕГАТЫ (Информация, необходимая для управления мотоциклом) ПОДВЕСКАЗадняя подвеска Регулятор предварительного сжатия пружиныимеет 36 положений регулировки, предназнаUченных для различной загрузки мотоцикла иразличных состояний дороги.Изменение степени предварительного сжатияпружины про...
31 (1) Рычаг сцепления (2) Резиновый чехол(3) Стопорная гайка(4) Регулятор троса сцепления Регулировка проводится следующим образом:1. Стяните назад резиновый чехол (2). Ослабте стопорную гайку (3), затем поворачивайтерегулятор (4) троса сцепления. Затянитестопорную гайку (3) и проверьте регулировку...
32 (5) Стопорная гайка(6) Регулировочная гайка (А) Увеличение свободного хода(В) Уменьшение свободного хода 3. Ослабьте стопорную гайку (5) на нижнем конце троса сцепления. Поворачивайте регулиUровочную гайку (6), чтобы добиться рекомендоUванной величины свободного хода. Затянитестопорную гайку (5) ...
34 Проверка Расширительный бачок охлаждающей жидкостирасположен с правой стороны под топливнымбаком.Проверяйте уровень охлаждающей жидкости вбачке (1), когда двигатель прогрет и мотоциклнаходится в вертикальном положении. Еслиуровень охлаждающей жидкости ниже отметкиLOWER (2), снимите нижний обтекат...
36 (1) Пробка заливной горловины топливного бака(2) Ключ зажигания(3) Заливная горловина Топливный бак Ёмкость топливного бака, включая резервныйобъём, составляет: 24,5 л Чтобы открыть пробку (1) заливной горловинытопливного бака, вставьте ключ зажигания (2) иповерните его по часовой стрелке. Пробка...
41 Переднее колесо 250 кПа Заднееколесо 280 кПа Проверять давление следует всегда на "холодных"шинах, когда мотоцикл простоял на месте неменее трех часов. Если вы буде проверятьдавление на "горячих" шинах, когда мотоциклпроехал хотя бы несколько километров,измеренное давление будет в...
42 Минимальная глубина протектора Переднее колесо: 1,5 мм Переднее колесо 2,0 мм Износ протектора Следует заменить шину до того, как глубинарисунка протектора в центре шины достигнетследующего предельного значения: < Для Германии >Законодательство Германии запрещает испольUзование шин с остато...
43 Ремонт шины Повреждённую или проколотую шину следуетзаменить, не пытаясь её ремонтировать. Нижебудет приведено объяснение, почему шина,подвергшаяся ремонту, как временному, так иполноценному, будет имет пониженные пределыскорости и эксплуатационных характеристик посравнению с новой шиной. Проведе...
44 Замена шины Шины, установленные на мотоцикл, разработаны сучётом характеристик и особенностей мотоциклаименно этой модели и обеспечивают наилучшеесочетание управляемости, тормозных качеств,долговечности и комфорта. ПРЕДОСТЕРЕЖЕНИЕ Установка не рекомендованных шин приведётк ухудшению характеристик...
45 Важная информация по безопасности Запрещается установка на этот мотоциклбескамерных шин со вставленными камерами.Чрезмерный нагрев камеры при эксплуатациимотоцикла может вызвать её внезапныйразрыв.Используйте на этом мотоцикле толькобескамерные шины. Ободы колёс сконструироUваны для установки бес...
Положения ключазажигания Назначение Извлечение ключа LOCK (заперт замок рулевогоуправления) Руль заблокирован. Двигатель и приборыосвещения не могут быть включены. Ключ можно извлечь ВЫКЛЮЧЕНО (OFF) Двигатель и приборы освещения не могут бытьвключены. Ключ можно извлечь ВКЛЮЧЕНО (ON) Двигатель и при...
47 КЛЮЧИ ЗАЖИГАНИЯ Данный мотоцикл укомплектован двумя ключамизажигания и табличкой с идентификационнымномером ключа. (1) Ключи зажигания(2) Табличка с идентификационным номером ключа Если вам когдаUлибо потребуется заменить ключзажигания, вам понадобится табличка с идентиUфикационным номером ключа....
52 ОРГАНЫ УПРАВЛЕНИЯ ПРАВОЙ РУКОЯТКИВыключатель двигателя Выключатель двигателя (1) расположен рядом сручкой управления дроссельной заслонкой. Когдавыключатель находится в положении « » RUN (РАБОТА), двигатель может работать.Когда выключатель находится в положении « » OFF (ВЫКЛ), двигатель не может ...
53 ОРГАНЫ УПРАВЛЕНИЯ ЛЕВОЙ РУКОЯТКИ Переключатель (1) ближнего и дальнего светафары Нажмите на сторону «HI» клавиши переклюU чателя для включения дальнего света или насторону «LO» для включения ближнего света. Выключатель подачи сигналов дальнимсветом фары (2) При нажатии на кнопку этого выключателя...
54 Выключатель аварийной сигнализации (5) Система аварийной сигнализации должнаиспользоваться только если мотоцикл необUходимо остановить изUза неисправности, в случаеаварии или из соображений безопасности. Для еёвключения поверните ключ зажигания вположение ON (ВКЛ) или ACC, а затем нажмитевыключат...
55 ПРОЧЕЕ ОБОРУДОВАНИЕ (Не требуемое для работы мотоцикла)ЗАМОК РУЛЯ Для блокирования руля поверните руль влево доупора, нажмите на ключ (1) и, продолжаянажимать, поверните его в положение LOCK(БЛОК). Извлеките ключ. Для разблокированияруля нажмите на ключ и, продолжая нажимать,поверните его в полож...
56 СЕДЛО Для снятия седла (1) вставьте ключ зажигания (2) взамок сиденья (3) и поверните его по часовойстрелке. Снимите седло назад и вверх.Для установки седла заведите паз (4) седла подпереднюю часть седла на фиксатор (5) топливногобака; ушки (6) нижней поверхности седласовместите с крючками (7) ра...
ДЕРЖАТЕЛЬ ДЛЯ ШЛЕМА Держатель для шлема находится под седлом.Снимите заднее седло (см. стр. 56).Проденьте любой конец тросика (1) держателяшлема через пряжку (2) шлема. Нацепите петлютросика на держатель для шлема (3).Установите инадёжно заприте седло. Тросик держателя шлемавходит в комплект инструм...
60 ПАКЕТ ДЛЯ ДОКУМЕНТОВ Пакет для документов (1) находится в отсеке длядокументов (2) под обратной стороной седла (3).Настоящее Руководство по эксплуатации и другаядокументация должны храниться в пакете длядокументов.При мойке мотоцикла соблюдайте осторожность,чтобы не залить это отделение водой. (1...
62 ВНУТРЕННИЙ ОБТЕКАТЕЛЬ Демонтаж:1. Снимите нижний кожух (см. стр. 64).2. Снимите клипсы (1) и внутренний обтекатель (2). Установка: Установка выполняется в порядке, обратномпроцедуре снятия. (1) Клипсы(2) Внутренний обтекатель
63 НИЖНИЙ ОБТЕКАТЕЛЬ Демонтаж:1. Снимите клипсы (1).2. Выверните болты (2), снимите шайбы (3) и нижний обтекатель (4). Установка: Установка выполняется в порядке, обратномпроцедуре снятия. (1) Клипсы(2) Болты(3) Шайбы(4) Нижний обтекатель
65 ВЕРХНИЙ ОБТЕКАТЕЛЬ Демонтаж:1. Снимите клипсы (1), выверните болты (2).2. Снимите верхний обтекатель (3). Установка: Установка выполняется в порядке, обратномпроцедуре снятия. (1) Клипсы(2) Болты(3) Верхний обтекатель
67 4. Снимите клипсы (5) с верхнего обтекателя (6). (4) Топливный бак(7) Опора топливного бака (5) Клипсы(6) Верхний обтекатель 5. Немного приподнимите заднюю часть топливного бака (4) и установите на опору (7).
69 1. Проверьте уровень моторного масла. При необходимости долейте моторное масло (стр. 39). Убедитесь в отсутствии утечек. 2. Уровень топлива U при необходимости долейте топливо в топливный бак (стр. 36). Убедитесь вотсутствии утечек. 3. Уровень охлаждающей жидкости U при необходимости долейте охла...
71 ПУСК ДВИГАТЕЛЯ Всегда следуйте правильной процедуре запускадвигателя, рассматриваемой ниже. Данный мотоцикл оснащен системой автоматиUческого выключения зажигания, связанной сположением бокового упора. Если боковой упоропущен, то двигатель невозможно запустить, покав коробке передач не будет вклю...
74 Заливание цилиндров топливом Если двигатель не удается запустить посленескольких попыток, это может означать, чтокамеры сгорания залиты избытком топлива.Для очистки камеры сгорания проделайтеследующее.1. Оставьте выключатель двигателя в рабочем положении « »(RUN). 2. Полностью закройте воздушную ...
75 ОБКАТКА МОТОЦИКЛА Правильная обкатка мотоцикла U это залог егодолгой и безотказной работы в будущем. Поэтомуследует уделять особенное внимание правильнойэксплуатации мотоцикла в течение первых 500 кмпробега. Во время периода обкатки избегайтезапусков двигателя с полностью открытойдроссельной засл...
76 ВОЖДЕНИЕ Перед началом движения ещё раз просмотритераздел по безопасности мотоцикла (стр. 1 U7). Убедитесь, что вам известен принцип работымеханизма бокового упора. (Ознакомьтесь сРегламентом технического обслуживания на стр. 87 и объяснениями, касающимися боковогоупора, на стр. 109). Убедитесь, ...
78 ТОРМОЖЕНИЕ Данный мотоцикл оснащён двойной комбиниUрованной тормозной системой. Воздействие нарычаг переднего тормоза активирует переднийтормоз и частично задний тормоз. Воздействие напедаль заднего тормоза активирует заднийтормоз и частично передний тормоз. Дляобеспечения полной эффективности то...
80 СТОЯНКА МОТОЦИКЛА 1. После остановки включите нейтраль в коробке передач, поверните руль до конца влево,выключите зажигание и извлеките ключзажигания. 2. Используйте боковой упор для удержания мотоцикла на стоянке. Устанавливайте мотоцикл на твёрдой ровнойплощадке, чтобы исключить его возможноеоп...
85 РЕГЛАМЕНТ ТЕХНИЧЕСКОГО ОБСЛУЖИВАНИЯ Перед каждым плановым техическим обслуживанием выполняйте осмотр, который проводится перед каждой поездкой (стр. 69).П: ПРОВЕДИТЕ ОСМОТР И ОЧИСТИТЕ, ОТРЕГУЛИРУЙТЕ, СМАЖТЕ ИЛИ ЗАМЕНИТЕ, ЕСЛИ ЭТОНЕОБХОДИМО О: ОЧИСТКА З: ЗАМЕНА Р: РЕГУЛИРОВКА С: СМАЗКА Приведенный...
88 КОМПЛЕКТ ИНСТРУМЕНТА Комплект инструмента (1) находится под заднимседлом (стр. 56). С помощью инструмента изкомплекта можно выполнить некоторые операцииремонта в дороге, несложные регулировки изамены частей. Тросик крепления шлемаСвечной ключНакидной ключ 10x12 ммРожковый ключ 8x12 ммРожковый клю...
ИДЕНТИФИКАЦИОННЫЕ НОМЕРА Для регистрации мотоцикла необходимо знатьномер рамы и номер двигателя. Эти номера могуттакже потребоваться при заказе запасных частей. Запишите эти номера, чтобы их было простонайти. НОМЕР РАМЫ ДВИГАТЕЛЬ № Номер рамы (1) выштампован на правой сторонерулевой головки. Номер д...
90 ЭТИКЕТКА С ОБОЗНАЧЕНИЕМ КРАСКИ Этикетка (1) с обозначением краски прикрепленана раме за левой боковой панелью.Она будет полезна при заказе запасных частей. Запишите цвет и код краски, чтобы их было простонайти. ЦВЕТ___________________________________________ КОД___________________________________...
92 Моторное масло и масляный фильтр Качество моторного масла является главнымфактором, определяющим срок службы двигаUтеля. Заменяйте моторное масло черезинтервалы, указанные в Регламенте техническогообслуживания (стр. 86).При работе в условиях повышенной запыленностимасло следует менять чаще, чем у...
95 СВЕЧИ ЗАЖИГАНИЯ Ознакомьтесь с правилами техники безопасностина стр. 84.Рекомендуемые свечи зажигания: IJR8B9 (NGK) Никогда не используйте свечу зажигания скалильным числом, отличным от рекоменUдованного. Это может привести к выходудвигателя из строя. Для данного мотоцикла применяются свечизажига...
96 1. Для снятия свечи заднего цилиндра приподнимите топливный бак (стр. 66). (1) Свечной ключ (1) Свечной ключ 2. Снимите наконечники со свечей зажигания.3. Удалите загрязнения вокруг свечей зажигания. Выкрутите свечи зажигания с помощьюсвечного ключа (1), входящего в комплектинструментов. 4. Осмот...
98 ФУНКЦИОНИРОВАНИЕ ДРОССЕЛЬНОЙЗАСЛОНКИ Ознакомьтесь с правилами техники безопасностина стр. 84.1. Убедитесь, что рукоятка управления дроссельной заслонкой плавно поворачиваетсяиз положения полностью открытой заслонки вположения полностью закрытой заслонки вобоих крайних положениях руля. 2. Измерьте...
99 РЕГУЛИРОВАНИЕ ЧАСТОТЫ ХОЛОСТОГО ХОДА Ознакомьтесь с правилами техники безопасностина стр. 84. Для точной регулировки частоты холостого ходадвигатель должен быть прогрет до нормальнойрабочей температуры. Для этого достаточно 10минут движения мотоцикла с разгонами иторможениями. 1. Прогрейте двигат...
101 ПРИВОДНАЯ ЦЕПЬ Ознакомьтесь с правилами техники безопасностина стр. 84. Срок службы приводной цепи зависит от еёправильной смазки и регулировки. Неправильноеобслуживание может привести к преждеUвременному износу или повреждению приводнойцепи и звёздочек. Проверка и смазка приводнойцепи должны со...
103 Регулировка:Прогиб приводной цепи должен проверяться и,при необходимости, регулироваться каждые1000 км. Длительная эксплуатация мотоцикла на высокойскорости или в условиях частых интенсивныхразгонов потребует более частых регулировокцепи. При необходимости проведения регулировкиприводной цепи сл...
105 Проверка износа:Проверьте табличку износа цепи при еёрегулировке. Если красная зона (6) на табличкенаходится напротив метки (5) на маятнике послетого, как цепь была отрегулирована доправильного прогиба, то это означает, что цепьчрезмерно изношена и подлежит замене.Правильный прогиб составляет:35...
107 НАПРАВЛЯЮЩАЯ ПРИВОДНОЙ ЦЕПИ Ознакомьтесь с правилами техники безопасностина стр. 84. Проверьте износ направляющей (1) приводнойцепи. Направляющая приводной цепи подлежит замене,если ее износ достиг линии предельного износа(2). В этом случае обратитесь к официальномудилеру Honda. (1) Направляющая...
108 ПРОВЕРКА ПЕРЕДНЕЙ И ЗАДНЕЙ ПОДВЕСКИ Ознакомьтесь с правилами техники безопасностина стр. 84. 1. Проверьте состояние узла передней вилки, нажав на рычаг переднего тормоза иинтенсивно качая вилку вверх и вниз за руль.Подвеска должны работать плавно, и не должнобыть следов подтекания рабочей жидкос...
109 БОКОВОЙ УПОР Ознакомьтесь с правилами техники безопасностина стр. 84. Выполните следующие операции обслуживания всоответствии с Регламентом техническогообслуживания. Проверка работоспособности: Убедитесь в отсутствии повреждений и потериупругости пружины (1), проверьте, насколькосвободно перемещ...
110 ДЕМОНТАЖ КОЛЕСА Ознакомьтесь с правилами техники безопасностина стр. 84. Демонтаж переднего колеса 1. Приподнимите переднее колесо над опорной поверхностью, разместив под двигателемопорный блок. 2. Закройте переднее колесо с обеих сторон защитной летой (1) или чемUнибудь, еезаменяющим. (2) Болт ...
116 Снятие заднего колеса 1. Приподнимите заднее колесо над опорной поверхностью, разместив под двигателемопорный блок. 2. Ослабьте осевую гайку (4) задней оси.3. Ослабьте регулировочные болты (1) приводной цепи. 4. Снимите гайку задней оси (4).5. Снимите приводную цепь (2) с ведущей звёздочки, прод...
117 Рекомендации по установке: При установке заднего колеса выполняйтеуказанные выше операции в обратномпорядке.Обеспечьте попадание выступа (5) тормозногосуппорта в паз (6) маятника (7).Затяните гайку оси с моментом затяжки:93 НмСмажьте приводную цепь (стр. 103).Несколько раз нажмите на рычаг тормо...
119 ПРОВЕРКА ТОРМОЗНОЙ СИСТЕМЫ Ознакомьтесь с правилами техники безопасностина стр. 84. Проверьте тормозную систему следующимобразом:1. Установите мотоцикл на боковой упор, выключите двигатель и включите нейтраль. (2) Вторичный главный цилиндр(3) Ход (1) Левый тормозной суппорт 2. Подвиньте левый то...
120 ПРЕДОСТЕРЕЖЕНИЕ Аккумуляторная батарея при работе выделяетвзрывоопасный водород. Искра или пламя могут вызвать взрываккумуляторной батареи, сила которогодостаточна для причинения серьёзных травм. При работах с аккумуляторной батареейследует надевать защитную одежду, защититьлицо или доверить раб...
121 Снятие аккумуляторной батареи 1. Снимите седло (стр. 56).2. Освободите кольцевые застёжки и снимите резиновый ремень (1). 3. Сначала отсоедините «отрицательную» (U) клемму (2) от аккумуляторной батареи, затемотсоедините «положительную» (+) клемму (3). 4. Извлеките аккумуляторную батарею (4) из к...
122 ЗАМЕНА ПРЕДОХРАНИТЕЛЕЙ Ознакомьтесь с правилами техники безопасностина стр. 84. Частое перегорание предохранителя обычнобывает вызвано коротким замыканием илиперегрузкой в системе электроборудования. Длявыполнения этого ремонта обратитесь кофициальному дилеру Honda. Запрещается использовать пред...
123 Блок предохранителей:Блок предохранителей расположен под седлом. Номинальная размерность предохранителей: 10 A, 20 A1. Снимите седло (стр. 56).2. Откройте крышку (1) блока предохранителей.3. Извлеките перегоревший предохранитель и вставьте новый предохранитель. Запасной предохранитель (2) находи...
126 ЗАМЕНА ЛАМП Ознакомьтесь с правилами техники безопасностина стр. 84. Лампа прибора освещения нагревается довысокой температуры при включенном освещениии остается горячей в течение некоторого временипосле выключения освещения. Дайте лампеостыть, прежде чем работать с ней. Не прикасайтесь пальцами...
127 Лампа фары 1. Снимите верхний обтекатель (стр. 65). 2. Вытащите патрон (1), не поворачивая его.3. Снимите противопылевой колпачок (2).4. Снимите лампу (4), нажав на фиксатор (3).5. Вытяните лампу (4), не поворачивая её.6. Установите новую лампу, выполняя операции в обратном порядке. (1) Патрон(2...
128 Лампа стояночного света 1. Снимите нижний кожух (см. стр. 64).2. Вытяните и извлеките патрон лампы стояночного света (1). 3. Вытяните лампу (2), не поворачивая её.4. Установите новую лампу, выполняя операции в обратном порядке. (1) Патрон лампы стояночного света(2) Лампа
129 Лампа стоп;сигнала и заднего фонаря 1. Снимите седло (стр. 56).2. Поверните гнездо приблизительно на 45° против часовой стрелки и потяните на себя. 3. Слегка надавите на лампу (2) и поверните её против часовой стрелки. 4. Установите новую лампу, выполняя операции в обратном порядке. (1) Патрон(2...
130 Лампы передних указателей поворотов 1. Снимите нижний обтекатель (стр. 64) и внутренний обтекатель (стр. 62). 2. Поверните гнездо (1) против часовой стрелки и снимите его. 3. Слегка надавите на лампу (2) и поверните её против часовой стрелки. 4. Установите новую лампу, выполняя операции в обратн...
131 Лампы задних указателей поворотов 1. Открутив винт (3), снимите рассеиватель (1) указателя поворота и его прокладку (2). 2. Слегка надавите на лампу (4) и поверните её против часовой стрелки. 3. Установите новую лампу, выполняя операции в обратном порядке. (1) Рассеиватель(2) Прокладка рассеиват...
133 ОЧИСТКА МОТОЦИКЛА Регулярно очищайте мотоцикл от грязи, чтобыобеспечить защиту окрашенных поверхностей исвоевременно обнаруживать повреждениедеталей, износ, утечки масла, охлаждающейжидкости и тормозной жидкости. Не используйте очистители, которые непредназначены специально для окрашенныхповерхн...
134 4. После очистки тщательно промойте мотоцикл большим количеством чистой воды.Остатки сильнодействующих моющих средствмогут привести к коррозии металлическихдеталей. 5. Протрите мотоцикл, запустите двигатель и дайте ему поработать несколько минут. 6. Перед поездкой на мотоцикле проверьте, как раб...
135 Очистка мотоцикла от дорожной соли Соль, содержащаяся в средствах борьбы сгололедицей, которые разбрызгиваются надорогах в зимнее время, и морская вода могутстать причиной коррозии.Промойте мотоцикл, как указано ниже, послепоездки по таким местам. 1. Промойте мотоцикл чистой водой (стр.133). Не ...
137 РЕКОМЕНДАЦИИ ПО ХРАНЕНИЮ МОТОЦИКЛА Продолжительное хранение, как, например, взимнее время, требует выполнения специальныхподготовительных работ, чтобы уменьшитьотрицательный эффект длительного хранения.Кроме этого, если необходимо провести ремонт,его следует выполнить ДО постановки мотоциклана х...
140 Общая длина Общая ширина Общая высота Колесная база 2292 мм924 мм1465 мм (минимальная)1509 мм (максимальная)1559 мм Сухая масса 245 кг Моторноемасло После слива После слива масла и заменымасляного фильтра После разборки и последующейсборки двигателя 3,4 л3,6 л 4,1 л ЗАПРАВОЧНЫЕ ЁМКОСТИ МАССА Топ...
141 ДВИГАТЕЛЬ Диаметр цилиндра и ход поршня Степень сжатия: Рабочий объем Свечи зажигания Частота холостого хода Зазоры в клапанном механизме (на холодном двигателе) 98,0 X 66,0 мм9,8: 1996 см 3 IJR8B9 (NGK)1,200 ± 100 мин U1 (об/мин) Впускной клапан 0,16 ммВыпускной клапан 0,31 мм
142 ШАССИ И ПОДВЕСКА Угол продольного наклона вилкиКолеяРазмерность шин Передняя Задняя шина 27°30'110 мм110/80 R19 59H или110/80 R19 M/C 59H50/70 R17 69H или150/70 R17 M/C 69H Первичная понижающая ступень Передаточное число, 1Uя передача2Uя передача 3Uя передача4Uя передача5Uя передача6Uя передача ...
144 КАТАЛИТИЧЕСКИЕ НЕЙТРАЛИЗАТОРЫ Данная модель мотоцикла оснащена каталитиUческими нейтрализаторами.Каталитический нейтрализатор содержит редкиеметаллы, которые служат катализаторами,ускоряя химические реакции преобразованияотработавших газов, без воздействия на металлы.Каталитический нейтрализатор...
Honda Мотоциклы Инструкции
-
Honda CB1000R 2010
Инструкция по эксплуатации
-
Honda CB1100A 2012
Инструкция по эксплуатации
-
Honda CB1300SA 2010
Инструкция по эксплуатации
-
Honda CBF1000A 2010
Инструкция по эксплуатации
-
Honda CBF600SA 2010
Инструкция по эксплуатации
-
Honda CBR1000RR ABS
Инструкция по эксплуатации
-
Honda CBR1100XX
Инструкция по эксплуатации
-
Honda CBR500RA 2013
Инструкция по эксплуатации
-
Honda CBR600F 2004
Инструкция по эксплуатации
-
Honda CBR600RR
Инструкция по эксплуатации
-
Honda CBR600RR ABS
Инструкция по эксплуатации
-
Honda CRF250X 2006
Инструкция по эксплуатации
-
Honda CRF450X 2006
Инструкция по эксплуатации
-
Honda CRF50F 2013
Инструкция по эксплуатации
-
Honda DN 01
Инструкция по эксплуатации
-
Honda GL1800 2012
Инструкция по эксплуатации
-
Honda GL1800A 2006
Инструкция по эксплуатации
-
Honda NC750S SA 2013
Инструкция по эксплуатации
-
Honda PCBR600F 2011
Инструкция по эксплуатации
-
Honda PCBR600FA 2011
Инструкция по эксплуатации