Страница 2 - ВАЖНАЯ ИНФОРМАЦИЯ; ВОДИТЕЛЬ И ПАССАЖИР
ВАЖНАЯ ИНФОРМАЦИЯ ВОДИТЕЛЬ И ПАССАЖИР Этот мотоцикл предназначен для перевозки водителя и одного пассажира. Никогда не превышайте максимальную грузоподъёмность, указанную на оборудовании и табличкес характеристиками. ЭКСПЛУАТАЦИЯ НА ДОРОГАХ Этот мотоцикл предназначен только для эксплуатации на дорог...
Страница 4 - ДОБРО ПОЖАЛОВАТЬ; ПРИМЕЧАНИЕ
ДОБРО ПОЖАЛОВАТЬ Мотоцикл даёт вам возможность овладеть искусством управления и погрузиться в мир приключений. Вы несётесь навстречу ветру по дороге на машине, которая, как никакая другая, беспрекословновыполняет ваши команды. В отличие от автомобиля, здесь вы не защищены металлической оболочкой.Как...
Страница 6 - НЕСКОЛЬКО СЛОВ О БЕЗОПАСНОСТИ; Таблички безопасности; A на самом мотоцикле.; Информация, относящаяся к безопасности; A перед которой помещен символ; ОПАСНОСТЬ; Эти сигнальные слова означают следующее:
НЕСКОЛЬКО СЛОВ О БЕЗОПАСНОСТИ Ваша безопасность и безопасность окружающих очень важны.Поэтому безопасное управление мотоциклом является серьезной ответственностью. Чтобы помочь вам обеспечивать безопасность, мы поместили соответствующую информацию натабличках на мотоцикле и в Руководстве по эксплуат...
Страница 7 - Заголовки, относящиеся к безопасности; A такие, как важные предостережения или требования; Инструкции; ПРЕДОСТЕРЕЖЕНИЕ
Заголовки, относящиеся к безопасности A такие, как важные предостережения или требования осторожности. Раздел "Безопасность " A относящийся к безопасности, связанной с мотоциклом. Инструкции A объясняющие, как правильно и безопасно пользоваться данным мотоциклом. Всё Руководство по эксплуата...
Страница 8 - ЭКСПЛУАТАЦИЯ МОТОЦИКЛА
ЭКСПЛУАТАЦИЯ МОТОЦИКЛА Стр.1 БЕЗОПАСНОСТЬ ПРИ ЭКСПЛУАТАЦИИ МОТОЦИКЛА 1 Сведения по мерам безопасности 2 Защитная одежда 4 Максимально допустимая нагрузка и рекомендации 8 ОРГАНЫ УПРАВЛЕНИЯ И ИХ РАСПОЛОЖЕНИЕ 11 Приборы и индикаторы 24 ОСНОВНЫЕ АГРЕГАТЫ (Информация, необходимая дляуправления этим мото...
Страница 12 - ЗАЩИТНАЯ ОДЕЖДА
2 Не управляйте мотоциклом после употребленияалкоголя Алкоголь абсолютно несовместим с вождениеммотоцикла. Даже небольшая доза алкоголяснижает способность реагировать на изменениедорожной обстановки, и существенно ухудшаетреакцию. Поэтому не управляйте мотоцикломпосле употребления алкоголя и не позв...
Страница 13 - Шлемы и защитные очки
3 Шлемы и защитные очки Мотоциклетный шлем является наиболее важнымэлементом защитной экипировки, поскольку онобеспечивает наилучшую защиту головы. Шлемдолжен соответствовать размеру головы, бытьудобным, но не болтаться. Шлем, окрашенный вяркие цвета, сделает вас более заметным вуличном движении, та...
Страница 14 - Загрузка
4 МАКСИМАЛЬНАЯ ДОПУСТИМАЯНАГРУЗКА И РЕКОМЕНДАЦИИ Данный мотоцикл предназначен для перевозкиводителя и одного пассажира.При езде с пассажиром вы можете почувствовать,что мотоцикл при разгоне и торможении ведетсебя иначе. Но если вы правильно обслуживаетемотоцикл, а шины и тормоза находятся вхорошем с...
Страница 16 - Дополнительное оборудование и модификации
6 При движении с пассажиром или с грузомнеобходимо соблюдать следующие правила: Убедитесь, что давление воздуха в шинахсоответствует норме.При изменении загрузки мотоцикла посравнению с обычной вам может потребоватьсяпровести регулировку задней подвески(стр. 24).Чтобы незакрепленные вещи не сталипри...
Страница 21 - ПРИБОРЫ И ИНДИКАТОРЫ; двигателе
11 ПРИБОРЫ И ИНДИКАТОРЫ Индикаторы располагаются на приборной панели. Их назначение изложено в таблицах наследующих страницах.(1) Индикатор нейтрали(2) Индикатор низкого давления масла в двигателе (3) Индикатор указателя правого поворота(4) Спидометр(5) Кнопка системы иммобилайзера HISS < Кроме в...
Страница 23 - иммобилайзера HISS
13 № позиции наименование Назначение (5) Кнопка системы иммобилайзера HISS Кроме версии BR: Эта кнопка служит для активации индикатора системы иммобилайзера(HISS). После активации индикатор начинает вспыхивать привыключенном зажигании (стр. 47). (6) Индикатор системы иммобилайзера (HISS)(красный цве...
Страница 24 - дисплей
14 № позиции наименование Наименование (9) Многофункциональный дисплей Указатель температурыохлаждающей жидкости Указатель уровня топлива Цифровые часы Одометр Указатель пробега за поездку Данный дисплей выполняет следующие функции: Показывает исходный режим индикации (стр. 17). Показывает температу...
Страница 26 - Показывает частоту вращения двигателя в оборотах в минуту.
16 № позиции наименование Назначение (13) Тахометр Показывает частоту вращения двигателя в оборотах в минуту. (14) Красная зона тахометра Никогда, даже после обкатки двигателя, не допускайте ситуации, прикоторой стрелка тахометра будет находиться в красной зоне. Эксплуатация двигателя за пределами р...
Страница 27 - Исходный режим индикации; уровня топлива
17 Исходный режим индикации При включении зажигания многофункциональAный дисплей (1) и спидометр (2) нанепродолжительное время покажут все режимы исегменты цифровой информации. Затемспидометр (2) отобразит показания скорости от290 км/ч до 0 км/ч (для версии E: от 180 миль/часдо 0 миль/ч), а указател...
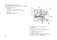
Страница 28 - Многофункциональный дисплей; жидкости
18 Многофункциональный дисплей На многофункциональном дисплее (1) выводятсяследующие показания: ОдометрУказатель пробега за поездкуУказатель температуры охлаждающейжидкостиУказатель уровня топливаЦифровые часы (1) Многофункциональный дисплей(2) Одометр(3) Указатель пробега за поездку(4) Указатель те...
Страница 29 - Указатель уровня топлива
19 Указатель уровня топлива Указатель уровня топлива жидкокристаллиAческого дисплея (1) с помощью градуированнойшкалы отображает приблизительное количествотоплива в баке. При отображении деления Fколичество топлива в баке, включая резерв,составляет: 23,0 л Если на указателе мигает деление Е (2), это...
Страница 30 - Одометр; Показывает величину общего пробега.; Указатель пробега за поездку
20 (1) Одометр(2) Указатель пробега за поездку (3) Указатель пробега за поездку А (4) Указатель пробега запоездку В (5) Кнопка MODE (ВЫБОРРЕЖИМОВ) Одометр Показывает величину общего пробега. Указатель пробега за поездку Показывает величину пробега за данную поездку.Существуют два указателя пробега з...
Страница 31 - Спидометр; Показывает скорость движения.
21 Спидометр Показывает скорость движения. Переключение режимов индикации скорости(только для версии Е) Спидометр индицирует «km/h» («км/ч») или«mph» («мили/час»).Для переключения режимов индикации «км/ч» и«миль/час» одновременно нажмите иудерживайте кнопки MODE (2) и SET (3). Этафункция не работает...
Страница 32 - Цифровые часы; Нажмите и удерживайте нажатой кнопку SET
22 Цифровые часы Отображают часы и минуты. Для установки времени следуйте процедуре: 1. Включите зажигание, повернув ключ в положение ON (ВКЛ). 2. Нажмите и удерживайте нажатой кнопку SET (2) более 2 секунд. Включится режимустановки времени. Дисплей начнет мигать. 3. Нажимайте кнопку до появления на...
Страница 33 - Указатель температуры охлаждающей жидкости; Индикация температуры
23 Извещение о перегреве двигателяПри достижении температуры 122° C дисплейначинает мигать, и на нем появляется «краснаялиния» (2). В этом случае следует немедленноостановить двигатель и проверить уровеньохлаждающей жидкости в расширительном бачке Ознакомьтесь со страницами 31A32 Руководства ине про...
Страница 34 - ОСНОВНЫЕ АГРЕГАТЫ; Регулировочное устройство установлено в
24 ОСНОВНЫЕ АГРЕГАТЫ (Информация, необходимая для управлениямотоциклом)ПОДВЕСКА Задняя подвеска Посредством регулирования степени демпфиAрования задней подвески можно адаптироватьповедение мотоцикла к различным состояниямдорожного покрытия и степени загруженности. Демпфирующее усилие отбоя:Регулятор...
Страница 39 - СЦЕПЛЕНИЕ
29 СЦЕПЛЕНИЕ Данный мотоцикл имеет гидравлический приводсцепления. Механизм сцепления не нуждается врегулировке, но уровень рабочей жидкости иотсутствие протечек следует регулярно проверять.Если свободный ход рычага управлениясцеплением станет избыточным и при включениипередачи мотоцикл начинает пер...
Страница 41 - на базе
31 ОХЛАЖДАЮЩАЯ ЖИДКОСТЬРекомендации относительно охлаждающейжидкости Необходимо правильно обращаться с охлажAдающей жидкостью, не допуская её замерзания,перегрева двигателя и коррозии внутреннихдеталей двигателя мотоцикла. Используйте тольковысококачественный антифриз на базе этиленгликоля, который ...
Страница 42 - Проверка; расширительного бачка
Проверка Расширительный бачок располагается за рамой.Проверяйте уровень охлаждающей жидкости вбачке (1), когда двигатель прогрет и мотоциклнаходится в вертикальном положении. Еслиуровень охлаждающей жидкости находится нижеметки LOWER (3), снимите седло (стр. 54) икрышку расширительного бачка (4), по...
Страница 43 - бака
33 ТОПЛИВОТопливный бак Ёмкость топливного бака, включая резервныйобъём, составляет: 23,0 л Для открывания крышки заливной горловинытопливного бака (1) вставьте ключ зажигания (2)и поверните его по часовой стрелке. Крышкатопливного бака откидывается на петле. Недопускайте переполнения топливного бак...
Страница 45 - Запрещается использовать бензин,
35 Использование спиртосодержащихвидов топлива Если вы решили эксплуатировать двигатель набензине, содержащем спирт, убедитесь в том, чтооктановое число этого топлива не ниже значения,рекомендованного компанией Honda. Существуетдва вида спиртосодержащего бензина. Один изних содержит в своем составе ...
Страница 48 - Необходимо обратить внимание на следующее:
38 Проверять давление следует всегда на«холодных» шинах, когда мотоцикл простоял наместе не менее трех часов. Если вы будетепроверять давление на «горячих» шинах, когдамотоцикл проехал хотя бы несколько километров,измеренное давление будет выше, чем давление в«холодных» шинах. Это нормальное явление...
Страница 49 - Износ протектора
39 Минимальная глубина протектора Переднее колесо 1,5 мм Заднее колесо 2,0 мм Износ протектора Следует заменить шину до того, как глубинарисунка протектора в центре шины достигнетследующего предельного значения. < Для Германии >Законодательство Германии запрещает использоAвание шин с остаточно...
Страница 50 - Ремонт шины
40 Ремонт шины Повреждённую или проколотую шину следуетзаменить, не пытаясь её ремонтировать. Ниже будет преведено объяснение, почему шина,подвергшаяся ремонту, как временному, так иполноценному, будет имет пониженные пределыскорости и эксплуатационных характеристик посравнению с новой шиной. Провед...
Страница 51 - Замена шины
41 Замена шины Шины, установленные на ваш мотоцикл,разработаны с учётом характеристик вашегомотоцикла и обеспечивают наилучшее сочетаниеуправляемости, тормозных качеств, долговечAности и комфорта. Для вашего мотоцикла рекомендованы шины,указанные ниже.Переднее колесо: 120/70 ZR17 (58W) или120/70 ZR1...
Страница 52 - Важная информация по безопасности
42 Важная информация по безопасности Запрещается установка на этот мотоциклбескамерных шин со вставленными камерами. Чрезмерный нагрев камеры при эксплуатациимотоцикла может вызвать её внезапныйразрыв.Используйте на этом мотоцикле толькобескамерные шины. Ободы колёс сконструиAрованы для установки бе...
Страница 54 - КЛЮЧИ ЗАЖИГАНИЯ
44 КЛЮЧИ ЗАЖИГАНИЯ Данный мотоцикл укомплектован двумя ключамизажигания и табличкой с идентификационнымномером ключа. < Кроме версии BR > (1) Ключи зажигания (2) Табличка с идентификационным номером ключа <Для версии BR >
Страница 60 - Выключатель двигателя; RUN; Кнопка стартера
50 ОРГАНЫ УПРАВЛЕНИЯ ПРАВОЙРУКОЯТКИ< Кроме версии BR > Выключатель двигателя Выключатель двигателя (1) расположен рядом сручкой управления дроссельной заслонкой.Когда выключатель находится в положении RUN (РАБОТА), двигатель может работать.Когда выключатель находится в положении OFF (ВЫКЛ), дв...
Страница 61 - Переключатель ближнего и дальнего света фары (1); Нажмите на сторону
51 ОРГАНЫ УПРАВЛЕНИЯ ЛЕВОЙ РУКОЯТКИ Переключатель ближнего и дальнего света фары (1) Нажмите на сторону (HI) клавиши переклюA чателя для включения дальнего света или насторону (LO) для включения ближнего света. Выключатель подачи сигналов дальним светом фары (2) При нажатии на кнопку этого выключате...
Страница 62 - ПРОЧЕЕ ОБОРУДОВАНИЕ; Разблокировать
52 ПРОЧЕЕ ОБОРУДОВАНИЕ (Не требуемое для работы мотоцикла)ЗАМОК РУЛЯ Для блокирования руля поверните руль влево иливправо до упора, нажмите на ключ (1) и,продолжая нажимать, поверните его в положениеLOCK (БЛОК). Извлеките ключ. Для разблоAкирования руля нажмите на ключ и, продолжаянажимать, повернит...
Страница 63 - ДЕРЖАТЕЛЬ ДЛЯ ШЛЕМА
53 ДЕРЖАТЕЛЬ ДЛЯ ШЛЕМА Держатель для шлема находится под седлом.Снимите седло (см. стр. 54). Повесьте шлем накрюк держателя (1). Установите и надёжнозаприте седло. (1) Крюк держателя ПРЕДОСТЕРЕЖЕНИЕ Запрещается двигаться на мотоцикле сошлемом, закрепленным в держателе. Шлемможет попасть в колесо или...
Страница 64 - СЕДЛО
54 СЕДЛО Для снятия седла (1) вставьте ключ зажигания (2)в замок сиденья (3) и поверните его по часовойстрелке.Снимите седло назад и вверх. Для установкиседла введите передний фиксатор (4) в опору (5)топливного бака, а задние фиксаторы (7) подраму, затем нажмите на заднюю часть седла. После установк...
Страница 65 - ПАКЕТ ДЛЯ ДОКУМЕНТОВ
55 ПАКЕТ ДЛЯ ДОКУМЕНТОВ Пакет для документов (1) находится в отсеке длядокументов (2) под обратной стороной седла (3).Настоящее Руководство по эксплуатации и другаядокументация должны храниться в пакете длядокументов. При мойке мотоцикла соблюдайтеосторожность, чтобы не залить это отделениеводой. (1...
Страница 67 - ЗАДНИЙ ОБТЕКАТЕЛЬ
57 (1) Заглушки(2) Болты(3) Шайбы(4) Задний поручень (5) Болты(6) Шайбы(7) Выступы(8) Задний обтекатель ЗАДНИЙ ОБТЕКАТЕЛЬ Демонтаж:1. Снимите седло (стр. 54).2. Снимите заглушки (1), болты (2) и шайбы (3).3. Снимите задний поручень (4).4. Выверните болты (5) с шайбами (6).5. Осторожно вытащите перед...
Страница 68 - НИЖНИЙ ОБТЕКАТЕЛЬ
58 НИЖНИЙ ОБТЕКАТЕЛЬ Демонтаж:1. Выверните болты А (1), и болты В (2).2. Снимите клипсу A (3). (1) Болты А(2) Болты В(3) Клипса A (7) Болты D(9) Нижний правый обтекатель (10) Болты E(12) Нижний левый обтекатель
Страница 69 - полукожух
59 (8) Выступ(11) Выступ (13) Клипсы D(14) Внутренний полукожух 3. Выверните болты C (4).4. Снимите клипсы B (5) и клипсы C (6).5. Выверните болты D (7).6. Выжмите выступ (8) нижнего правого обтекателя (9) из втулок и снимитеобтекатель. 7. Выверните болты E (10).8. Выжмите выступ (11) нижнего левого...
Страница 70 - ВЕРХНИЙ ОБТЕКАТЕЛЬ
60 (1) Гайка(2) Длинный болт(3) Короткий болт (4) Клипса(5) Верхний обтекатель ВЕРХНИЙ ОБТЕКАТЕЛЬ Правый и левый верхние обтекатели снимаютсяодинаково. Демонтаж:1. Открутите нижнюю крепежную гайку (1) и длинный крепежный болт (2). 2. Выкрутите короткий болт (3).3. Снимите клипсу (4).4. Снимите верхн...
Страница 71 - ВЕТРОВЫЕ ЭКРАНЫ
61 ВЕТРОВЫЕ ЭКРАНЫ Правый и левый ветровые экраны снимаютсяодинаково. Демонтаж:1. Снимите верхний обтекатель (стр. 60).2. Снимите клипсы A (1).3. Снимите клипсы B (2).4. Снимите ветровые экраны (3). Установка: Установка выполняется в порядке, обратномпроцедуре снятия. (1) Клипсы A(2) Клипсы B(3) Вет...
Страница 72 - ВНУТРЕННЯЯ ПАНЕЛЬ
62 ВНУТРЕННЯЯ ПАНЕЛЬ Правая и левая внутренние панели снимаютсяодинаково. Демонтаж:1. Снимите нижний (стр. 58) и верхний (стр 60) обтекатели. 2. Снимите клипсу A (1).3. Снимите клипсу B (2).4. Снимите внутреннюю панель (3), стягивая ее с выступа рамы (4). 5. Снимите внутреннюю панель (3), стягивая е...
Страница 74 - ОСМОТР ПЕРЕД ПОЕЗДКОЙ; Уровень масла в двигателе A добавьте
64 ЭКСПЛУАТАЦИЯ МОТОЦИКЛА ОСМОТР ПЕРЕД ПОЕЗДКОЙ Для вашей собственной безопасности очень важнопотратить немного времени, и перед поездкойобойти вокруг мотоцикла для проверки егосостояния. При обнаружении любой неисправAности обязательно её ликвидируйте илиобратитесь для её ликвидации к официальномуд...
Страница 76 - ПУСК ДВИГАТЕЛЯ
66 ПУСК ДВИГАТЕЛЯ Всегда следуйте правильной процедуре запускадвигателя, рассматриваемой ниже. Ваш мотоцикл оснащен системой автоматическоговыключения зажигания, связанной с боковымупором. Если боковой упор опущен, то двигательневозможно запустить, пока в коробке передач небудет выбрана нейтраль. Ес...
Страница 78 - Заливание цилиндров топливом; Если холостой ход после запуска двигателя; Отключение зажигания
68 Заливание цилиндров топливом Если двигатель не удаётся запустить посленескольких попыток, возможно камеры сгораниядвигателя залиты избытком топлива.1. Оставьте выключатель двигателя в рабочем положении (РАБОТА). 2. Полностью откройте дроссельную заслонку.3. Нажмите кнопку стартера на 5 секунд.4. ...
Страница 79 - ОБКАТКА МОТОЦИКЛА
69 ОБКАТКА МОТОЦИКЛА Правильная обкатка мотоцикла A это залог егопродолжительной и безотказной работы вбудущем, поэтому следует уделять особоевнимание правильной эксплуатации мотоцикла втечение первых 500 км (300 миль) пробега.Во время периода обкатки избегайте запусковдвигателя с полностью открытой...
Страница 80 - ВОЖДЕНИЕ; Пока двигатель работает на холостом ходу,
70 ВОЖДЕНИЕ Перед началом движения ещё раз просмотритераздел по безопасности при эксплуатациимотоцикла (стр. 1 A 7). Убедитесь, что вам известен принцип работымеханизма бокового опора. (Ознакомьтесь сРегламентом технического обслуживания на стр.81 и объяснениями, касающимися бокового упора,на стр. 1...
Страница 82 - ТОРМОЖЕНИЕ; Важная информация по безопасности:
72 ТОРМОЖЕНИЕ Данный мотоцикл оснащён двойной комбиAнированной тормозной системой. Воздействие нарычаг переднего тормоза активирует переднийтормоз и частично задний тормоз. Воздействие напедаль заднего тормоза активирует задний тормози частично передний тормоз. Для обеспеченияполной эффективности то...
Страница 84 - СТОЯНКА МОТОЦИКЛА; После остановки мотоцикла включите
74 СТОЯНКА МОТОЦИКЛА 1. После остановки мотоцикла включите нейтральную передачу в коробке передач,поверните руль до упора влево, выключитезажигание и извлеките ключ из замказажигания. 2. Используйте центральную опору или боковой упор для удержания мотоцикла на стоянке.Устанавливайте мотоцикл на твёр...
Страница 88 - * Ожоги от контакта с горячими частями
ИНФОРМАЦИЯ, ОТНОСЯЩАЯСЯК БЕЗОПАСНОСТИ Перед началом любых работ по обслуживаниюили ремонту убедитесь, что двигательвыключен. Это поможет избежать несколькихвозможных рисков: * Окись углерода, которая содержится в отработавших газах, обладает высокой токсичностью. Если вам требуется запустить двигате...
Страница 89 - РЕГЛАМЕНТ ТЕХНИЧЕСКОГО ОБСЛУЖИВАНИЯ
(1) При пробеге, превышающем указанные значения, повторяйте выполнение работ через указанные промежутки времени. (2) Выполняйте работы чаще, если мотоцикл эксплуатируется в условиях влажного климата или высокой запыленности. (3) Замените через 2 года или по достижении указанного пробега, что наступи...
Страница 92 - КОМПЛЕКТ ИНСТРУМЕНТА
82 КОМПЛЕКТ ИНСТРУМЕНТА Комплект инструмента (1) находится под седлом.С помощью инструмента из комплекта можновыполнить некоторые операции ремонта в дороге,несложные регулировки и замены частей. Свечной ключНакидной ключ 10 Х 12 ммНакидной ключ 22 ммНакидной ключ 27 ммРожковый ключ 8 ммРожковый ключ...
Страница 93 - ИДЕНТИФИКАЦИОННЫЕ НОМЕРА; ДВИГАТЕЛЬ No
83 ИДЕНТИФИКАЦИОННЫЕ НОМЕРА Для регистрации мотоцикла необходимо знатьномер рамы и номер двигателя. Они могут такжепотребоваться при заказе запасных частей.Запишите эти номера, чтобы их было простонайти. РАМА № ДВИГАТЕЛЬ № Номер рамы (1) выштампован на правой сторонерулевой головки. Номер двигателя ...
Страница 94 - ЭТИКЕТКА С ОБОЗНАЧЕНИЕМ КРАСКИ; ЦВЕТ
84 ЭТИКЕТКА С ОБОЗНАЧЕНИЕМ КРАСКИ Этикетка (1) с обозначением краски прикрепленана раме под седлом (стр. 54). Она будет полезнапри заказе запасных частей. Запишите цвет и код краски, чтобы их былопросто найти. ЦВЕТ КОД (1) Наклейка с обозначением краски
Страница 96 - Моторное масло и масляный фильтр
Моторное масло и масляный фильтр Качество моторного масла является главнымфактором, определяющим срок службы двигаAтеля. Заменяйте моторное масло через интервалы,указанные в Регламенте технического обслужиAвания (стр. 80). При работе в условияхповышенной запыленности масло следует менятьчаще, чем ук...
Страница 97 - С помощью специального ключа для фильтра
87 (1) Сливная пробка (2) Уплотнительная шайба (3) Масляный фильтр 1. Снимите нижний обтекатель (стр. 58).2. Для слива масла выверните заливную крышку (1) и болт сливного отверстия суплотнительной шайбой (2). 3. С помощью специального ключа для фильтра отверните масляный фильтр (3) и дайте стечьоста...
Страница 99 - СВЕЧИ ЗАЖИГАНИЯ
89 СВЕЧИ ЗАЖИГАНИЯ Ознакомьтесь с правилами техники безопасностина стр. 78. Рекомендуемые свечи зажигания: IMR9CA9H (NGK) Никогда не используйте свечу зажигания скалильным числом, отличным от рекомендоAванного. Это может привести к выходу двигателяиз строя. Для данного мотоцикла применяются свечизаж...
Страница 104 - Измерьте свободный ход рукоятки управления
94 (1) Стопорная гайка (2) Регулятор ФУНКЦИОНИРОВАНИЕ ДРОССЕЛЬНОЙЗАСЛОНКИ Ознакомьтесь с правилами техники безопасностина стр. 78. 1. Убедитесь, что рукоятка управления дроссельной заслонкой плавно поворачиваетсяиз положения полностью открытой заслонки вположения полностью закрытой заслонки привсех ...
Страница 107 - ПРИВОДНАЯ ЦЕПЬ; центральный упор и включите нейтраль.
97 ПРИВОДНАЯ ЦЕПЬ Ознакомьтесь с правилами техники безопасностина стр. 78. Срок службы приводной цепи зависит от еёправильной смазки и регулировки. Неправильноеобслуживание может привести к преждеAвременному износу или повреждению приводнойцепи и звёздочек. Проверка и смазка приводнойцепи должны сос...
Страница 108 - НОРМА
98 4. Медленно проворачивая заднее колесо, осмотрите приводную цепь и звездочки напредмет наличия следующего: ПРИВОДНАЯ ЦЕПЬ *Повреждённые ролики*Ослабшие оси*Сухие или ржавые звенья*«Закисшие» или заедающие звенья*Повышенный износ*Неправильная регулировка*Повреждённые или отсутствующиестопорные кол...
Страница 109 - включите нейтраль и выключите зажигание.
При необходимости проведения регулировкиприводной цепи следуйте нижеприведённойпроцедуре:1. Поставьте мотоцикл на боковой упор, включите нейтраль и выключите зажигание. 2. Ослабьте осевую гайку (1) задней оси.3. Поворачивайте регулировочные болты (2) на одинаковое число оборотов до полученияправильн...
Страница 111 - Приводная цепь для замены:
101 Проверка износа:Проверьте табличку износа цепи при еёрегулировке. Если красная зона (6) на табличкенаходится напротив метки (5) на маятнике послетого, как цепь была отрегулирована доправильного прогиба, то это означает, что цепьчрезмерно изношена и подлежит замене.Правильный прогиб составляет: 2...
Страница 115 - БОКОВОЙ УПОР; Проверка работоспособности:
105 БОКОВОЙ УПОР Ознакомьтесь с правилами техники безопасностина стр. 78. Выполните следующие операции обслуживания всоответствии с Регламентом техническогообслуживания. Проверка работоспособности: Убедитесь в отсутствии повреждений и потериупругости пружины (1), проверьте, насколькосвободно перемещ...
Страница 116 - Приподнимите переднее колесо над опорной
106 (1) Защитная лента (2) Болты А с торцевыми головками (3) Болты В с торцевыми головками ДЕМОНТАЖ КОЛЕС Ознакомьтесь с правилами техники безопасностина стр. 78. Демонтаж переднего колеса 1. Приподнимите переднее колесо над опорной поверхностью, разместив под двигателемопорный блок. 2. Закройте пер...
Страница 122 - Демонтаж заднего колеса; звёздочки, продвинув заднее колесо вперёд.
112 Демонтаж заднего колеса 1. Установите мотоцикл на центральный упор.2. Ослабьте осевую гайку (4) задней оси.3. Ослабьте регулировочные болты приводной цепи (1). 4. Снимите гайку задней оси (4).5. Снимите приводную цепь (2) с ведущей звёздочки, продвинув заднее колесо вперёд. 6. Снимите с маятника...
Страница 123 - Рекомендации по установке:
113 Рекомендации по установке: При установке заднего колеса выполняйтеуказанные выше операции в обратномпорядке.Обеспечьте попадание выступа (5) тормозногосуппорта в паз (6) маятника (7).Затяните гайку оси с моментом затяжки: 93 Нм Отрегулируйте приводную цепь (стр. 97).Несколько раз нажмите на рыча...
Страница 125 - Задний тормоз
115 Задний тормоз Проверьте по канавкам (2) износ каждойтормозной колодки. Если степень износа какойAлибо из колодок равна глубине канавки, заменитеобе тормозные колодки в комплекте. Длявыполнения этой операции обратитесь кофициальному дилеру Honda. (2) Канавки <ЗАДНИЙ ТОРМОЗ>
Страница 126 - ПРОВЕРКА ТОРМОЗНОЙ СИСТЕМЫ; выключите двигатель и включите нейтраль.
116 ПРОВЕРКА ТОРМОЗНОЙ СИСТЕМЫ Ознакомьтесь с правилами техники безопасностина стр. 78. Проверьте тормозную систему следующимобразом:1. Установите мотоцикл на центральный упор, выключите двигатель и включите нейтраль. 2. Медленно вращая заднее колесо, переместите левый суппорт (1) в сборе вверх. Есл...
Страница 127 - АККУМУЛЯТОРНАЯ БАТАРЕЯ
117 ПРЕДОСТЕРЕЖЕНИЕ Аккумуляторная батарея при работе выделяетвзрывоопасный водород. Искра или пламя могут вызвать взрываккумуляторной батареи, сила которогодостаточна для причинения серьёзных травм. При работах с аккумуляторной батареейследует надевать защитную одежду, защититьлицо или доверить раб...
Страница 128 - Снятие аккумуляторной батареи; Сначала отсоедините провод от отрицательной
118 (1) Резиновый ремень(2) Отрицательная (A) клемма(3) Положительная (+) клемма(4) Аккумуляторная батарея Снятие аккумуляторной батареи 1. Снимите седло (см. стр. 54).2. Освободите кольцевые застёжки и снимите резиновый ремень (1). 3. Сначала отсоедините провод от отрицательной (A) клеммы (2) аккум...
Страница 130 - Закройте крышку блока предохранителей и
120 Блок предохранителей:Блок предохранителей расположен под седлом.Номинальная размерность предохранителей: 10 A, 20 A 1. Снимите седло (см. стр. 54).2. Откройте крышку (1) блока предохранителей.3. Извлеките перегоревший предохранитель и вставьте новый предохранитель. Запаснойпредохранитель (2) нах...
Страница 133 - ЗАМЕНА ЛАМП
123 ЗАМЕНА ЛАМП Ознакомьтесь с правилами техники безопасностина стр. 78. Лампа прибора освещения нагревается довысокой температуры при включенном освещениии остается горячей в течение некоторого временипосле выключения освещения. Дайте лампеостыть, прежде чем работать с ней. Не прикасайтесь пальцами...
Страница 134 - Лампа фары; колпачок
124 Лампа фары 1. Снимите верхний обтекатель (стр. 60).2. Вытащите патрон (1), не поворачивая его.3. Снимите противопылевой колпачок (2).4. Снимите лампу (3), нажав на фиксатор (4)5. Вытяните лампу (4), не поворачивая её.6. Установите новую лампу, выполняя операции в обратном порядке. Установите про...
Страница 135 - Лампа стояночного света
125 Лампа стояночного света < Кроме версии U > 1. Снимите крышку (1) лампы стояночного света2. Вытяните и извлеките патрон (2) лампы стояночного света. 3. Вытяните лампу (3), не поворачивая её.4. Установите новую лампу, выполняя операции в обратном порядке. (1) Крышка лампы стояночного света(2...
Страница 136 - Лампа стоп6сигнала и заднего света; стрелки и потяните на себя.
126 Лампа стоп6сигнала и заднего света 1. Снимите седло (стр. 54).2. Поверните разъём (1) на 90° против часовой стрелки и потяните на себя. 3. Вытяните лампу (2), не поворачивая её.4. Установите новую лампу, выполняя операции в обратном порядке. (1) Гнездо(2) Лампа
Страница 137 - Лампы передних указателей поворотов; стрелки и снимите его.
127 Лампы передних указателей поворотов 1. Сдвиньте в сторону чехол (1) зеркала заднего вида. 2. Выкрутите два крепежных болта (2) и снимите зерказо заднего вида (3). 3. Поверните гнездо (4) на 90° против часовой стрелки и снимите его. 4. Слегка надавите на лампу (5) и поверните её против часовой ст...
Страница 138 - Лампы задних указателей поворотов; против часовой стрелки.
128 Лампы задних указателей поворотов 1. Открутив винт (2), снимите рассеиватель (1) указателя поворота и его прокладку (4). 2. Слегка надавите на лампу (3) и поверните её против часовой стрелки. 3. Установите новую лампу, выполняя операции в обратном порядке. (1) Рассеиватель(2) Винт (3) Лампа(4) П...
Страница 139 - ОЧИСТКА МОТОЦИКЛА
129 ОЧИСТКА МОТОЦИКЛА Регулярно очищайте мотоцикл от грязи, чтобыобеспечить защиту окрашенных поверхностей исвоевременно обнаруживать повреждениедеталей, износ, утечки масла, охлаждающейжидкости и тормозной жидкости. Не используйте очистители, которые непредназначены специально для окрашенныхповерхн...
Страница 140 - Мойка мотоцикла; Полностью ополосните мотоцикл струей
130 Мойка мотоцикла 1. Полностью ополосните мотоцикл струей холодной воды и удалите отставшую грязь. 2. Промойте мотоцикл холодной водой с губкой или мягкой тканью. Избегайте направлятьструю воды на выходное отверстие глушителяи на электрические компоненты. 3. Очистите обтекатель, рассеиватель фары ...
Страница 144 - ХРАНЕНИЕ МОТОЦИКЛА; Замените масло в двигателе и масляный
134 РЕКОМЕНДАЦИИ ПОХРАНЕНИЮ МОТОЦИКЛА Продолжительное хранение, как, например, взимнее время, требует выполнения специальныхподготовительных работ, чтобы уменьшитьотрицательный эффект длительного хранения. Кроме этого, если необходимо провести ремонт,его следует выполнить ДО постановки мотоциклана х...
Страница 147 - ТЕХНИЧЕСКИЕ ХАРАКТЕРИСТИКИ МОТОЦИКЛА; РАЗМЕРЫ; Сухая масса; МАССА
137 ТЕХНИЧЕСКИЕ ХАРАКТЕРИСТИКИ МОТОЦИКЛА РАЗМЕРЫ Габаритная длина Габаритная ширина Габаритная высота Колёсная база: 2160 мм720 мм1200 мм 1490 мм Сухая масса 224 кг Моторное масло При замене маслаПри замене масла и масляного фильтра После капитального ремонта 3,8 л 3,9 л4,6 л Топливный бакЗаправочна...
Страница 148 - ДВИГАТЕЛЬ
138 ДВИГАТЕЛЬ Диаметр цилиндра и ход поршняСтепень сжатияРабочий объём Свеча зажиганияЧастота холостого ходаЗазор в клапанном механизме (на холодном двигателе) 79,0 X 58,0 мм110:11137 см 3 IMR9CA9H (NGK)1 100 ± 100 мин A1 (об/мин) Впускной клапан 0,16 ммВыпускной клапан 0,30 мм
Страница 149 - Главная передача
139 ШАССИ И ПОДВЕСКА Угол продольного наклона вилкиВылетРазмерность шины, переднее колесоРазмерность шины, заднее колесо ТРАНСМИССИЯ Первичная понижающая ступеньПередаточные числа 1 передача2 передача3 передача4 передача5 передача6 передача Главная передача 25°99 мм120/70 ZR17 (58W) или120/70ZR17M/C...
Страница 151 - Правильно регулируйте двигатель.
141 КАТАЛИТИЧЕСКИЕ НЕЙТРАЛИЗАТОРЫ< Кроме версии BR > Данная модель мотоцикла оснащена каталитиAческими нейтрализаторами.Каждый каталитический нейтрализатор содержитредкие металлы, которые служат катализаторами,ускоряя химические реакции преобразованияотработавших газов без воздействия на метал...
Страница 152 - СИСТЕМА СНИЖЕНИЯ ШУМА (ТОЛЬКО ДЛЯ АВСТРАЛИИ)
142 СИСТЕМА СНИЖЕНИЯ ШУМА (ТОЛЬКО ДЛЯ АВСТРАЛИИ) ЗАПРЕЩАЕТСЯ ПЕРЕДЕЛЫВАТЬ И МОДИФИЦИРОВАТЬ СИСТЕМУ СНИЖЕНИЯ ШУМА: Мы предупреждаем владельцев, что закон может запрещать следующее:(а) Снятие или выключение, выполненное любым человеком, кроме как в целях обслуживания, ремонтаили замены, любых агрегато...