Страница 2 - ВАЖНАЯ ИНФОРМАЦИЯ; ВОДИТЕЛЬ И ПАССАЖИР
ВАЖНАЯ ИНФОРМАЦИЯ ВОДИТЕЛЬ И ПАССАЖИР • (Кроме KO, SI) Данный мотоцикл предназначен для перевозки водителя и одного пассажира. Никог-да не превышайте максимальную грузоподъемность, указанную на оборудовании и табличке с характеристиками. (KO, SI) Данный мотоцикл предназначен для перевозки водителя и...
Страница 4 - ДОБРО ПОЖАЛОВАТЬ; ПРИМЕЧАНИЕ; . Эта информация поможет избежать повреждения мотоцикла и причи-
ДОБРО ПОЖАЛОВАТЬ Мотоцикл дает возможность овладеть искусством управления и погрузиться в мир при-ключений. Вы несетесь навстречу ветру по дороге на машине, которая, как никакая дру-гая, беспрекословно выполняет ваши команды. В отличие от автомобиля, здесь вы не защищены металлической оболочкой. Как...
Страница 6 - НЕСКОЛЬКО СЛОВ О БЕЗОПАСНОСТИ; Предупреждающие таблички; – перед которой помещен символ внима-; ОПАСНОСТЬ; или; ВНИМАНИЕ; Эти сигнальные слова означают следующее:
НЕСКОЛЬКО СЛОВ О БЕЗОПАСНОСТИ Ваша безопасность и безопасность окружающих исключительно важны. Поэтому управ-ление мотоциклом в полном соответствии с правилами безопасности является вашей прямой обязанностью. Соответствующая информация по мерам предосторожности, размещенная на предупре-ждающих табли...
Страница 7 - Заголовки, относящиеся к безопасности; бования осторожности.; Раздел «Безопасность»; – относящийся к безопасности, связанной с мотоциклом.; Инструкции; – объясняющие, как правильно и безопасно пользоваться данным мото-
ОПАСНОСТЬ Вы ПОГИБНЕТЕ или ПОЛУЧИТЕ ТЯЖЕЛЫЕ УВЕЧЬЯ, если будете игнорировать данное предупреждение. Вы можете ПОГИБНУТЬ или ПОЛУЧИТЬ СЕРЬЕЗНУЮ ТРАВМУ, если не будете следовать инструкциям. ВНИМАНИЕ Вы можете ПОЛУЧИТЬ ТРАВМЫ, если не будете следовать инструкциям. Заголовки, относящиеся к безопасности...
Страница 8 - СОДЕРЖАНИЕ; ЭКСПЛУАТАЦИЯ
СОДЕРЖАНИЕ ЭКСПЛУАТАЦИЯ Страница 1 БЕЗОПАСНОСТЬ МОТОЦИКЛА 1 ВАЖНАЯ ИНФОРМАЦИЯ, ОТНОСЯЩАЯСЯ К БЕЗОПАСНОСТИ 2 ЗАЩИТНАЯ ЭКИПИРОВКА 4 МАКСИМАЛЬНО ДОПУСТИМАЯ НАГРУЗКА И РЕКОМЕНДАЦИИ 8 ПИКТОГРАММЫ 17 ПРЕДУПРЕЖДАЮЩИЕ ТАБЛИЧКИ 20 ОРГАНЫ УПРАВЛЕНИЯ И ИХ РАСПОЛОЖЕНИЕ 25 ПРИБОРЫ И ИНДИКАТОРЫ 32 МНОГОФУНКЦИОНАЛ...
Страница 9 - ПРОЧЕЕ ОБОРУДОВАНИЕ
Страница 74 ПРОЧЕЕ ОБОРУДОВАНИЕ (Не требуемое для работы мотоцикла) 74 ЗАМОК РУЛЯ 74 ДЕРЖАТЕЛИ ШЛЕМА 75 ЦЕНТРАЛЬНЫЙ И БОКОВЫЕ КОФРЫ 78 СИСТЕМА ДИСТАНЦИОННОГО УПРАВЛЕНИЯ ЗАМКАМИ 82 КАРМАН В ОБТЕКАТЕЛЕ / ВЕЩЕВОЙ ОТСЕК 83 КАРМАНЫ В БОКОВИНАХ ЦЕНТРАЛЬНОГО КОФРА 84 РЕГУЛИРОВКА ВЫСОТЫ ВЕТРОВОГО СТЕКЛА 85 ...
Страница 12 - БЕЗОПАСНОСТЬ ЭКСПЛУАТАЦИИ МОТОЦИКЛА; ВАЖНАЯ ИНФОРМАЦИЯ, ОТНОСЯЩАЯСЯ К БЕЗОПАСНОСТИ
1 БЕЗОПАСНОСТЬ ЭКСПЛУАТАЦИИ МОТОЦИКЛА ВАЖНАЯ ИНФОРМАЦИЯ, ОТНОСЯЩАЯСЯ К БЕЗОПАСНОСТИ Данный мотоцикл будет верно служить вам в течение многих лет, если вы осознаете от-ветственность за вашу собственную безопасность и понимаете опасности, с которыми можете встретиться на дороге. Вы можете сделать очен...
Страница 14 - Дополнительные предметы защитного снаряжения
3 Дополнительные предметы защитного снаряжения В дополнение к шлему и защитным очкам или прозрачному щитку рекомендуется на-девать: Прочные сапоги или ботинки с подошвой, препятствующей скольжению, для защиты • ступней и лодыжек. Кожаные перчатки, согревающие руки и защищающие их от раздражений, пор...
Страница 15 - МАКСИМАЛЬНАЯ ДОПУСТИМАЯ НАГРУЗКА И РЕКОМЕНДАЦИИ; ПРЕДУПРЕЖДЕНИЕ
4 БЕЗОПАСНОСТЬ ЭКСПЛУАТАЦИИ МОТОЦИКЛА МАКСИМАЛЬНАЯ ДОПУСТИМАЯ НАГРУЗКА И РЕКОМЕНДАЦИИ Данный мотоцикл предназначен для перевозки водителя, пассажира, груза и дополни-тельного оборудования. При езде с пассажиром или при перевозке груза вы можете по-чувствовать, что скутер при ускорениях и торможениях...
Страница 16 - груз и дополнительное оборудование.
5 Максимальная допустимая нагрузка Ниже приводятся значения максимально допустимой нагрузки для данного мотоцикла: Максимальная грузоподъемность: = 190 кг (Кроме KO) Включает вес водителя, пассажира, весь груз и дополнительное оборудование. 170 кг (KO) Излишнее нагружение кофров также может повлиять...
Страница 18 - Внесение изменений в конструкцию мотоцикла
7 Убедитесь, что электрическое оборудование не превышает возможности электриче- • ской системы мотоцикла (стр. 218). Выход из строя плавкого предохранителя может привести к отключению приборов освещения или потере мощности двигателя. Запрещается эксплуатировать мотоцикл с прицепом или боковой коляск...
Страница 19 - ПИКТОГРАММЫ; Внимательно ознакомьтесь с Руководством по эксплуатации.
8 БЕЗОПАСНОСТЬ ЭКСПЛУАТАЦИИ МОТОЦИКЛА ПИКТОГРАММЫ Кроме KO, BR, IIBR, SI Ниже приведены расшифровки предупреждающих табличек. Некоторые из них предо-стерегают вас о потенциальной опасности серьезного травмирования. Другие содержат важную информацию, касающуюся безопасности. Внимательно изучите их со...
Страница 20 - подушкой безопасности); Устойчивость и управляемость мотоцикла могут; ТАБЛИЧКА НА ДЕМПФЕРЕ БОКОВОГО КОФРА; СОДЕРЖИМОЕ НАХОДИТСЯ ПОД ДАВЛЕНИЕМ
9 ТАБЛИЧКА НА КРЫШКЕ РАДИАТОРА ОПАСНОСТЬ НЕ ОТКРЫВАТЬ, КОГДА НАХОДИТСЯ В ГОРЯЧЕМ СОСТОЯНИИ Горячая охлаждающая жидкость ошпарит вас. Редукционный клапан открывается при давлении 1,1 кгс/см 2 . (Мотоцикл, не оборудованный подушкой безопасности) (Мотоцикл, оборудованный подушкой безопасности) ПРЕДУПРЕ...
Страница 21 - BRIDGESTONE
10 БЕЗОПАСНОСТЬ ЭКСПЛУАТАЦИИ МОТОЦИКЛА ТАБЛИЧКА НА ЗАДНЕМ АМОРТИЗАТОРЕ ЗАПОЛНЕНО ГАЗОМ Не вскрывать. Не нагревать. ТАБЛИЧКА НА БОКОВОМ КОФРЕ ПРИМЕЧАНИЕ Не размещайте тяжелые предметы на открывающейся крышке. Это может привести к повреждению крыш-ки кофра и его самого. ТАБЛИЧКА НА КАБЕЛЕ ГЕНЕРАТОРА П...
Страница 22 - ТАБЛИЧКА С УКАЗАНИЕМ ТИПА ТОПЛИВА; ТОЛЬКО НЕЭТИЛИРОВАННЫЙ БЕНЗИН
11 ТАБЛИЧКА С ТРЕБОВАНИЕМ СОБЛЮДЕНИЯ ПРАВИЛ БЕЗОПАСНОСТИ Для обеспечения собственной безопасности во время езды всегда носите шлем. ТАБЛИЧКА С УКАЗАНИЕМ ТИПА ТОПЛИВА ТОЛЬКО НЕЭТИЛИРОВАННЫЙ БЕНЗИН ТАБЛИЧКА С ИНФОРМАЦИЕЙ О МАКСИМАЛЬНОЙ МАССЕ ПЕРЕВОЗИМОГО ГРУЗА Не превышайте нагрузку 0,5 кг. ТАБЛИЧКА С...
Страница 23 - ТАБЛИЧКА НА АККУМУЛЯТОРНОЙ БАТАРЕЕ; Не приближайте к аккумуляторной батарее источ-
12 БЕЗОПАСНОСТЬ ЭКСПЛУАТАЦИИ МОТОЦИКЛА ТАБЛИЧКА НА АККУМУЛЯТОРНОЙ БАТАРЕЕ ОПАСНОСТЬ Не приближайте к аккумуляторной батарее источ- • ники открытого пламени или искр.При работе аккумуляторная батарея вырабатывает • горючий газ, который может стать причиной взры-ва.При работе с аккумуляторной батареей...
Страница 29 - Кроме KO
18 БЕЗОПАСНОСТЬ ЭКСПЛУАТАЦИИ МОТОЦИКЛА Кроме KO МАКСИМАЛЬНАЯ МАССА ПЕРЕВОЗИМОГО ГРУЗА 8,0 кг МАКСИМАЛЬНАЯ МАССА ПЕРЕВОЗИМОГО ГРУЗА 5,0 кг МАКСИМАЛЬНАЯ МАССА ПЕРЕВОЗИМОГО ГРУЗА 9,0 кг МАКСИМАЛЬНАЯ МАССА ПЕРЕВОЗИМОГО ГРУЗА 2,0 кг KO
Страница 31 - УЗЛЫ И ИХ РАСПОЛОЖЕНИЕ
20 УЗЛЫ И ИХ РАСПОЛОЖЕНИЕ E, F, ED, U Органы управления аудиосистемы Вентиляционная решетка ветрового стекла Выключатель электроподогрева переднего седла Замок зажигания Рычаг регулировки высоты ветрового стекла Выключатель электроподогрева руля Рычаг регулировки высоты ветрового стекла Рычаг передн...
Страница 35 - Центральный кофр
24 УЗЛЫ И ИХ РАСПОЛОЖЕНИЕ Вентиляционная решетка обдува ног (кроме BR, IIBR) Разъем подключения передней гарнитуры Карман в боковине центрального кофра Разъем подключения задней гарнитуры Центральный кофр Держатель шлема Боковой кофр Выключатель электроподогрева заднего седла (кроме BR, IIBR) Рычаг ...
Страница 36 - ПРИБОРЫ И ИНДИКАТОРЫ
25 ПРИБОРЫ И ИНДИКАТОРЫ Индикаторы и сигнализаторы располагаются на приборной панели. Их назначение рассматривается на последующих страницах. Красная зона тахометра Индикатор левого указателя поворота Тахометр Индикатор системы иммобилайзера (HISS) Индикатор неисправности подушки безопасности (мотоц...
Страница 39 - Загорается при включении дальнего света фары.
28 УЗЛЫ И ИХ РАСПОЛОЖЕНИЕ Индикатор антиблокировочной системы (ABS) (оранжевый) При исправной системе загорается при установке ключа в замке зажигания в положение ON и гаснет при достижении мотоциклом скорости выше 10 км/ч. При неисправности антиблокировочной системы сигнализатор загорается и не гас...
Страница 42 - Стрелка
31 Указатель уровня топлива Когда стрелка указателя достигает красной полосы, это указывает на низкий уровень то-плива в баке и необходимость скорейшей заправки.В момент достижения стрелкой красной полосы количество топлива в баке вертикально стоящего мотоцикла составляет приблизительно: 3,0 л Указа...
Страница 43 - МНОГОФУНКЦИОНАЛЬНЫЙ ДИСПЛЕЙ
32 УЗЛЫ И ИХ РАСПОЛОЖЕНИЕ МНОГОФУНКЦИОНАЛЬНЫЙ ДИСПЛЕЙ Ваш мотоцикл оснащен многофункциональным информационным дисплеем, имеющим различные режимы индикации. В данном разделе разъясняются функции и принципы работы дисплея. (Мотоциклы, не оборудованные навигационной системой) (Мотоциклы, не оборудованн...
Страница 44 - Заставка начала/завершения сеанса работы
33 Заставка начала/завершения сеанса работы (Мотоциклы, не оборудованные навигационной системой)При установке ключа в замке зажигания в положение ON или ACC на дисплее отобража-ется заставка начала сеанса работы. При установке ключа в замке зажигания в положение OFF на дисплее отображается заставка ...
Страница 45 - Заставку начала/завершения сеанса работы можно отключить.
34 УЗЛЫ И ИХ РАСПОЛОЖЕНИЕ Заставку начала/завершения сеанса работы можно отключить. 1. Для вызова меню CLOCK ADJUST (установка времени) нажмите кнопку SETUP (меню). 2. Нажмите кнопку DIM для вызова меню OPENING/ENDING CEREMONY (заставка начала/завершения сеанса работы). 3. Для включения или отключен...
Страница 46 - Одометр/Счетчик пробега за поездку; Одометр
35 Одометр/Счетчик пробега за поездку ODO (одометр) показывает общий пробег в милях (E, IIIE ) или километрах • (кроме E, IIIE ). TRIP (счетчик пробега за поездку) показывает пробег в милях (E, IIIE ) или километрах • (кроме E, IIIE) за поездку. Счетчик пробега за поездку показывает пробег в двух ре...
Страница 47 - Регулировка интенсивности подсветки дисплея
36 УЗЛЫ И ИХ РАСПОЛОЖЕНИЕ Переключение дневного и ночного режимов дисплея вручную(Мотоциклы, оборудованные навигационной системой)Переключение дисплея в дневной и ночной режим происходит автоматически, в зави-симости от времени суток. Для переключения режимов вручную нажмите и удерживайте нажатой кн...
Страница 49 - Цифровые часы; желаемого результата.; Кнопка INFO
38 УЗЛЫ И ИХ РАСПОЛОЖЕНИЕ Цифровые часы (Мотоциклы, не оборудованные навигационной системой) На дисплее отображается индикация часов и минут. Для настройки времени:1. Поверните ключ в замке зажигания в положение ON или АСС.2. Однократно нажмите кнопку SETUP. На дисплее отобразится надпись CLOCK ADJU...
Страница 50 - Указатель температуры воздуха; Индикация температуры
39 Указатель температуры воздуха Однократно нажмите кнопку INFO для перехода в режим индикации температуры воз-духа. Через пять секунд дисплей вернется в прежний режим. Индикация температуры (Мотоциклы, не оборудованные навигационной системой) Ниже -11°C Отображаются символы «- -» . Диапазон темпера...
Страница 51 - Индикатор незакрытого центрального и боковых кофров; Незакрыт центральный кофр; Индикатор незакрытых кофров
40 УЗЛЫ И ИХ РАСПОЛОЖЕНИЕ Индикатор незакрытого центрального и боковых кофров Этот индикатор загорается, когда при установленном в положение ON ключе в замке за-жигания происходит открытие центрального или боковых кофров. Если незакрыты все кофры, на дисплее будет мигать сообщение OPEN с указанием н...
Страница 52 - Выбор типа отображаемой на дисплее информации; онного дисплея в сжатом виде отображается в строке под картой.; Кнопка DISP
41 Выбор типа отображаемой на дисплее информации (Мотоциклы, оборудованные навигационной системой) Нажатие кнопки DISP позволяет осуществлять переключение между следующими типа-ми информации: Многофункциональный информационный дисплей (часы, одометр и счетчик пробега • за поездку)Полноэкранное отобр...
Страница 53 - Выбор режимов работы информационного дисплея
42 УЗЛЫ И ИХ РАСПОЛОЖЕНИЕ Выбор режимов работы информационного дисплея При каждом нажатии кнопки INFO режим работы информационного дисплея изменяет-ся следующим образом: Если в течение пяти секунд ни одна кнопка не будет нажата, то дисплей вернется в преж-ний режим работы. (Мотоциклы, не оборудованн...
Страница 54 - ОСНОВНЫЕ УЗЛЫ И АГРЕГАТЫ; ЗАДНЯЯ ПОДВЕСКА
43 ОСНОВНЫЕ УЗЛЫ И АГРЕГАТЫ (Информация, необходимая для управления мотоциклом) ЗАДНЯЯ ПОДВЕСКА Заднюю подвеску можно настроить под вес водителя (и пассажира) и дорожные условия путем изменения предварительного сжатия пружины. Не пытайтесь самостоятельно разбирать, ремонтировать или утилизировать ам...
Страница 59 - свободном вращении. Повторите эту операцию несколько раз.; Рычаг тормоза
48 Зазор между рычагом тормоза и рукояткой может быть отрегулирован.1. Поворачивайте регулировочную головку, одновременно отжимая рычаг тормоза впе- ред. 2. Совместите отметку на рычаге тормоза с цифрой на регулировочной головке.3. Выжмите рычаг тормоза, отпустите его, затем раскрутите колесо и убед...
Страница 61 - СЦЕПЛЕНИЕ; Уровень рабочей жидкости:
50 СЦЕПЛЕНИЕ Данный мотоцикл имеет гидравлический привод сцепления. Механизм сцепления не нуждается в регулировке, однако регулярно следует проверять уровень рабочей жидкости и отсутствие ее подтеканий. Если свободный ход рычага управления сцеплением стал избыточным и при включении передачи мотоцикл...
Страница 64 - Проверка; Пробка-щуп расширительного бачка
53 Проверка Расширительный бачок находится за левым кожухом двигателя. Снимите левый кожух двигателя (стр. 174). Проверьте уровень охлаждающей жидкости в расширительном бачке, когда двигатель прогреется до рабочей температуры. Долейте охлаждающую жидкость в компенсацион-ный резервуар до отметки макс...
Страница 65 - Емкость топливного бака, включая резервный объем, составляет:; Остановите двигатель и не при-; Ключ зажигания
54 ТОПЛИВО Топливный бак Емкость топливного бака, включая резервный объем, составляет: 25 л Для открывания пробки топливного бака вставьте ключ зажигания и поверните его по часовой стрелке, чтобы открыть крышку заправочной горловины. Для снятия пробки то-пливного бака поверните ее против часовой стр...
Страница 67 - Использование спиртосодержащих видов топлива; Повреждению лакокрасочного покрытия топливного бака
56 Использование спиртосодержащих видов топлива Если вы решили эксплуатировать двигатель на бензине, содержащем спирт, то убедитесь в том, что октановое число этого топлива не ниже значения, рекомендованного компанией Honda. Существует два вида спиртосодержащего топлива: один из них содержит в своем...
Страница 68 - Крышка-щуп маслозаливной горловины
57 МОТОРНОЕ МАСЛОПроверка уровня моторного масла Проверяйте уровень моторного масла каждый день перед поездкой на мотоцикле. Для проверки уровня моторного масла:1. Установите мотоцикл на центральный упор на жесткой ровной поверхности и сними- те правый кожух двигателя (стр. 174). 2. Запустите двигат...
Страница 69 - БЕСКАМЕРНЫЕ ШИНЫ; Давление воздуха в шинах
58 БЕСКАМЕРНЫЕ ШИНЫ Для обеспечения безопасной езды на мотоцикле шины должны быть правильного типа и размера, находиться в хорошем состоянии, с удовлетворительным состоянием протекто-ра, а давление воздуха в них должно соответствовать нагрузке. На последующих страни-цах приводится более подробная ин...
Страница 70 - Необходимо обратить внимание на следующее:
59 Проверять давление следует всегда на холодных шинах, когда мотоцикл простоял на месте не менее трех часов. Если вы буде проверять давление на горячих шинах, когда мотоцикл проехал хотя бы несколько километров, измеренное давление будет выше, чем давление в холодных шинах. Это нормальное явление, ...
Страница 71 - Износ протектора; Минимальная глубина протектора; Ремонт шины; Индикатор износа
60 Износ протектора Следует заменить шину до того, как глубина рисунка протектора в центре шины достиг-нет следующего предельного значения: Минимальная глубина протектора Передняя 1,5 мм Задняя 2,0 мм < Для Германии >Законодательство Германии запрещает использование шин с остаточной глубиной п...
Страница 72 - Замена шины; Для данного мотоцикла рекомендованы шины, указанные ниже.; BRIDGESTONE G709 RADIAL; Задняя; BRIDGESTONE G704 RADIAL; Тип; радиальная, бескамерная
61 Замена шины Шины, установленные на мотоцикл, разработаны с учетом характеристик и особенностей именно этой модели мотоцикла и обеспечивают наилучшее сочетание управляемости, тормозных качеств, долговечности и комфорта. ПРЕДУПРЕЖДЕНИЕ Установка не рекомендованных шин повлечет ухудшение характерист...
Страница 73 - Важная информация по безопасности
62 Важная информация по безопасности Запрещается установка на данный мотоцикл бескамерных шин со вставленными в них • камерами. Постепенный разогрев камеры при эксплуатации мотоцикла может вызвать ее внезапный разрыв.Используйте на данном мотоцикле только бескамерные шины. Обода колес сконстру- • ир...
Страница 74 - МЕХАНИЗМЫ И ОРГАНЫ УПРАВЛЕНИЯ; ЗАМОК ЗАЖИГАНИЯ; ON
63 МЕХАНИЗМЫ И ОРГАНЫ УПРАВЛЕНИЯ ЗАМОК ЗАЖИГАНИЯ Замок зажигания расположен на кожухе руля. Положения ключа зажигания Функция Извлечение ключа АСС Действуют только цепи питания дополнительного оборудования. В этом положении ключ нельзя извлечь из замка ON Питание подается на все электрические цепи. ...
Страница 75 - КЛЮЧИ; Старайтесь не ронять ключи и не ставьте на них тяжелые предметы.; Ключи
64 МЕХАНИЗМЫ И ОРГАНЫ УПРАВЛЕНИЯ КЛЮЧИ Данный мотоцикл укомплектован двумя ключами зажигания и табличкой с идентифика-ционным номером ключа. При необходимости замены ключа зажигания вам понадобится табличка с идентифика-ционным номером ключа. Храните эту табличку в надежном месте. Для изготовления д...
Страница 78 - Директивы ЕС
67 Директивы ЕС Данная система иммобилайзера соответствует требованиям Директивы R & TTE (Ради-ооборудование и телекоммуникационное оборудование и взаимное признание их соот-ветствия). Заявление о соответствии мотоцикла требованиям Директивы R & TTE владелец полу-чает при покупке мотоцикла. ...
Страница 79 - ключатель находится в любом из положений; Кнопка стартера/заднего хода; Выключатель двигателя
68 ОРГАНЫ УПРАВЛЕНИЯ НА ПРАВОЙ РУКОЯТКЕ РУЛЯ Выключатель двигателя Трехпозиционный выключатель двигателя расположен рядом с рукояткой акселератора. Когда выключатель находится в положении RUN, двигатель может работать. Когда вы- ключатель находится в любом из положений OFF, двигатель не может работа...
Страница 80 - Выключатель круиз-контроля; Для включения системы:; Индткаторы
69 Выключатель круиз-контроля Система круз-контроля автоматизирует действие дроссельной заслонки для поддержания постоянной скорости мотоцикла. Это обеспечивает удобство в продолжительных поезд-ках, но может также быть опасным на незнакомой дороге или дороге с интенсивным дви-жением. Использование э...
Страница 82 - Изменение заданной скорости:
71 Изменение заданной скорости: Для увеличения скорости с постепенным ускорением: Нажмите и удерживайте кнопку RESUME/ACCEL до достижения желаемой скорости, после отпускания кнопки новая скорость будет сохранена в памяти системы. Для быстрого разгона: Поворотом рукоятки акселератора разгоните мотоци...
Страница 83 - ОРГАНЫ УПРАВЛЕНИЯ НА ЛЕВОЙ РУКОЯТКЕ РУЛЯ; На левой рукоятке руля расположены следующие органы управления:; Переключатель света фар; Нажмите на сторону; Кнопка сигнализации дальним светом фары; Нажмите на кнопку для включения звукового сигнала.; Выключатель указателей поворота; Кнопка звукового сигнала
72 ОРГАНЫ УПРАВЛЕНИЯ НА ЛЕВОЙ РУКОЯТКЕ РУЛЯ На левой рукоятке руля расположены следующие органы управления: Переключатель света фар Нажмите на сторону (Дальний свет) клавиши переключателя для включения дальнего света или на сторону (Ближний свет) для включения ближнего света. Кнопка сигнализации дал...
Страница 84 - ВЫКЛЮЧАТЕЛЬ АВАРИЙНОЙ СИГНАЛИЗАЦИИ; затели поворота начнут мигать одновременно.
73 ВЫКЛЮЧАТЕЛЬ АВАРИЙНОЙ СИГНАЛИЗАЦИИ Данная система должна использоваться, только если мотоцикл остановлен в экстренной ситуации или в опасных условиях. Для ее включения установите ключ в замке зажигания в положение ON или ACC, а затем нажмите на выключатель . Передние и задние ука- затели поворота...
Страница 85 - Блокировка
74 ЗАМОК РУЛЯ Для блокировки руля поверните его влево или вправо до упора, нажмите на ключ и, про-должая нажимать, установите его в замке зажигания в положение LOCK. Извлеките ключ из замка. Для разблокировки руля нажмите на ключ и, продолжая нажимать, установите его в замке зажигания в положение OF...
Страница 86 - ЦЕНТРАЛЬНЫЙ И БОКОВЫЕ КОФРЫ; Запереть
75 ЦЕНТРАЛЬНЫЙ И БОКОВЫЕ КОФРЫ Центральный и боковые кофры предназначены для размещения легких предметов. Масса перевозимого груза не должна превышать следующие значения: Кроме KO 8,0 кг KO 9,0 кг Для запирания и отпирания центрального и боковых кофровЦентральный и боковые кофры можно запереть и отп...
Страница 87 - Рычаги защелок; Левый кофр
76 Открывание и закрывание центрального и боковых кофров Чтобы открыть центральный кофр, потяните вниз рычаг средней защелки. Чтобы открыть правый или левый кофр, потяните вниз рычаги правой или левой защелок. Для закрытия любого из кофров положите ладони рук на края крышки и нажмите до ее полного з...
Страница 89 - СИСТЕМА ДИСТАНЦИОННОГО УПРАВЛЕНИЯ ЗАМКАМИ; Кнопка запирания
78 СИСТЕМА ДИСТАНЦИОННОГО УПРАВЛЕНИЯ ЗАМКАМИ Вы можете отпирать и запирать центральный и боковые кофры при помощи пульта дис-танционного управления. Если замок зажигания не использовался более одного месяца, пульт дистанционного управления не будет управлять системой дистанционного управления. Для в...
Страница 90 - Обращение с пультом дистанционного управления; Кнопка открывания кофра
79 Открывание кофра:Нажмите и удерживайте нажатой в течение примерно одной секунды кнопку открывания кофра. Обращение с пультом дистанционного управления Оберегайте пульт от сильных ударов, не бросайте и не роняйте его. Защищайте пульт от воздействия очень высоких или низких температур. Очищайте пул...
Страница 91 - Светодиод
80 Замена элемента питания пульта: При разряде элемента питания пульта дистанционного управления может понадобиться несколько нажатий на кнопку для запирания или отпирания кофров, а светодиод станет гореть тусклее. Незамедлительно замените элемент питания. Тип используемого элемента питания: CR2025 ...
Страница 93 - КАРМАН В ОБТЕКАТЕЛЕ / ВЕЩЕВОЙ ОТСЕК; в кармане обтекателя
82 КАРМАН В ОБТЕКАТЕЛЕ / ВЕЩЕВОЙ ОТСЕК Карман в обтекателе и вещевой отсек предназначены для размещения легких предметов. Масса перевозимого груза не должна превышать следующие значения: в кармане обтекателя 2,0 кг в вещевом отсеке 3,0 кг Чтобы открыть карман в обтекателе, нажмите кнопку. (Мотоцикл,...
Страница 94 - КАРМАНЫ В БОКОВИНАХ ЦЕНТРАЛЬНОГО КОФРА; Карманы в боковинах центрального кофра
83 КАРМАНЫ В БОКОВИНАХ ЦЕНТРАЛЬНОГО КОФРА Карманы в боковинах центрального кофра предназначены для размещения легких пред-метов. Не перевозите более 0,5 кг багажа в каждом кармане. Карманы расположены с обеих сторон центрального кофра. Откройте крышку, потянув за ручку.Не помещайте в карманы острые ...
Страница 95 - РЕГУЛИРОВКА ВЫСОТЫ ВЕТРОВОГО СТЕКЛА; Передвиньте ветровое стекло вверх в необходимое вам положение.; Верхний край
84 РЕГУЛИРОВКА ВЫСОТЫ ВЕТРОВОГО СТЕКЛА Высоту ветрового стекла можно отрегулировать в зависимости от ваших предпочтений. Для регулировки:1. Потяните оба рычага вверх для освобождения ветрового стекла.2. Чтобы поднять ветровое стекло: Передвиньте ветровое стекло вверх в необходимое вам положение. 3. ...
Страница 97 - Вентиляционные решетки обдува ног; Открыть
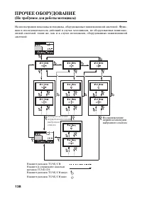
86 Вентиляционные решетки обдува ног (Кроме BR, IIBR) Рычажком вы можете отрегулировать интенсивность и направление потоков теплого воз-духа для обдува ног. ПРОЧЕЕ ОБОРУДОВАНИЕ (Не требуемое для работы мотоцикла) Открыть Рычажок Закрыть
Страница 98 - Выключатель электроподогрева руля
87 ОТОПЛЕНИЕ Электроподогрев руля (Кроме BR, IIBR) Электроподогрев служит для подогрева правой и левой рукоятки руля, что обеспечивает комфорт управления даже в холодную погоду. Переключатель электроподогрева расположен справа от замка зажигания. Переключа-тель функционирует при работающем двигателе...
Страница 99 - Электроподогрев седел
88 Электроподогрев седел (Кроме BR, IIBR) Электроподогрев седла водителя (и седла пассажира) служит для обеспечения комфорта езды в холодную погоду. Переключатель электроподогрева переднего седла расположен слева от замка зажигания. Переключатель электроподогрева заднего седла расположен под левым к...
Страница 100 - ДОКУМЕНТАЦИЯ
89 ДОКУМЕНТАЦИЯ Настоящее Руководство по эксплуатации и другая документация должны храниться в ле-вом кофре. При мойке мотоцикла соблюдайте осторожность, чтобы не залить эту зону водой. Мотоциклы, оборудованные навигационной системой:Храните руководство по навигационной системе вместе с Руководством...
Страница 101 - РЕГУЛИРОВКА НАПРАВЛЕНИЯ СВЕТА ФАРЫ ПО ВЕРТИКАЛИ; Регулятор светового пучка фары; Подъем
90 РЕГУЛИРОВКА НАПРАВЛЕНИЯ СВЕТА ФАРЫ ПО ВЕРТИКАЛИ Вертикальная регулировка достигается поворотом регулятора в нужном направлении.Соблюдайте требования местного законодательства. Регулятор направления света фары по вертикали имеет 11 положений (от 0 до 10), пред-назначенных для разных дорожных услов...
Страница 102 - ГНЕЗДО ПОДКЛЮЧЕНИЯ ДОПОЛНИТЕЛЬНОГО ОБОРУДОВАНИЯ; При длительном потреблении сила тока не должна превышать 5 А.; Блок предохранителей
91 ГНЕЗДО ПОДКЛЮЧЕНИЯ ДОПОЛНИТЕЛЬНОГО ОБОРУДОВАНИЯ Гнездо для подключения дополнительного оборудования находится в блоке предохра-нителей (стр. 201). Вывод и дополнительная розетка служат для подачи напряжения 12 постоянного тока для питания дополнительного оборудования. Если одновременно ис-пользую...
Страница 103 - АУДИОСИСТЕМА
92 АУДИОСИСТЕМА Аудиосистема может использоваться при установке ключа в замке зажигания в положение ON или ACC. Держите обе руки на руле.Не устанавливайте слишком большую громкость звучания, чтобы всегда слышать звуки дорожного движения или сигналы автомобилей аварийных служб. (E, F, ED, IIIE JF, II...
Страница 104 - Расположение дисплея
93 Расположение дисплея (E, F, ED) (IIIE ,IIF, IIED) Индикатор режима автовыбора Индикатор USB Индикация часов Радиостанция Индикатор STEREO Индикатор названия радиопередачи Предварительно установленные станции Частота принимаемой станции Индикатор режима интеркома Индикатор режима навигационной сис...
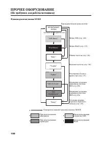
Страница 111 - Функции рукоятки/кнопки MODE; ‘‘iPod Menu’’; При выключенной аудиосистеме
100 Функции рукоятки/кнопки MODE При включенной аудиосистеме НАЧАЛЬНЫЙ ЭКРАН ‘‘Beep’’ ‘‘SRS Headphone’’ ‘‘SRS CS Auto’’ ‘‘Fader’’ ‘‘Treble’’ ‘‘Bass’’ ‘‘USB Menu’’ ‘‘iPod Menu’’ ПРОЧЕЕ ОБОРУДОВАНИЕ (Не требуемое для работы мотоцикла) При выключенной аудиосистеме Меню USB (стр. 140) Меню iPod® (стр. 1...
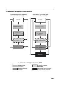
Страница 112 - Функции рукоятки/кнопки регулировки громкости; ‘‘NAVI VOL’’; Однократно нажмите рукоятку/кнопку MODE
101 Функции рукоятки/кнопки регулировки громкости ‘‘INTERCOM VOL’’ ‘‘INTERCOM MUTE’’ ‘‘AUTO VOL SPK’’ ‘‘AUTO VOL HS’’ ‘‘NAVI VOL’’ "AUDIO" "AUDIO" ‘‘Auto Speaker Vol’’ ‘‘Auto Headset Vol’’ ‘‘INTERCOM VOL’’ ‘‘INTERCOM MUTE’’ (Мотоциклы, не оборудованные навигационной системой) (Мотоци...
Страница 113 - Расположение элементов аудиосистемы
102 Расположение элементов аудиосистемы ПРОЧЕЕ ОБОРУДОВАНИЕ (Не требуемое для работы мотоцикла) Высокочастотные динамики Передний динамик Задние динамики Внешний усилитель Органы управления аудиосистемы Передний динамик Органы управления аудиосистемы
Страница 114 - Управление системой; Кнопка AUDIO
103 Управление системой Для включения аудиосистемы нажмите кнопку AUDIO. Для выключения аудиосистемы нажмите кнопку AUDIO и удерживайте ее нажатой. (E, F, ED) (DIE, IIF, IIED) (KO, U, BR, IIBR) (IIU, SI) Радиостанции диапазона СВ является дополнительным оборудованием. Она показана, только если устан...
Страница 115 - Переключение выхода; Переключение выхода осуществляется нажатием кнопки AUDIO.
104 Переключение выхода Когда аудиосистема включена, вы можете переключать ее выход между динамиками и гарнитурой. (Гарнитура является дополнительным оборудованием) Переключение выхода осуществляется нажатием кнопки AUDIO. • (E, F, ED) (IIE, IIF, IIED) (KO, U, BR, IIBR) (IIU, SI) ПРОЧЕЕ ОБОРУДОВАНИЕ...
Страница 116 - Регулирование уровня громкости; Рычажок регулировки громкости
105 Регулирование уровня громкости Для увеличения уровня громкости — нажмите рычажок регулировки громкости • вверх или поверните рукоятку/кнопку регули-ровки громкости по часовой стрелке. Для уменьшения уровня громкости — нажмите рычажок регулировки громкости вниз • или поверните рукоятку/кнопку рег...
Страница 117 - Регулировка тембра звука; со скоростью мотоцикла.; РЕЖИМ
106 Регулировка тембра звука Тембр (низкие частоты-высокие частоты) регулируется автоматически, в соответствии • со скоростью мотоцикла. Низкие частоты: Для перехода в режим регулировки низких частот нажимайте рукоятку/кнопку MODE, пока на дисплее не отобразится индикатор BASS (стр. 100). Затем, в т...
Страница 119 - SRS; Для перехода в режим регулировки
108 SRS Система SRS CS Auto™ обеспечивает насыщенное низким частотами объемное звучание, создающее яркое акустическое изображение.Наушники SRS Headphone™ обеспечивают реалистичный трехмерный стереозвук. и являются торговыми марками SRS Labs, Inc.Технологии CS Auto и Headphone используются по лицензи...
Страница 120 - Установка режима короткого звукового сигнала:
109 Установка режима короткого звукового сигнала: Для перехода в режим регулировки • нажимайте рукоятку/кнопку MODE, пока на дисплее не отобразится индикатор BEEP (стр. 100)/ Затем, в течение пяти секунд, приступи-те к изменению установок системы короткого звукового сигнала. Для изменения установок ...
Страница 121 - Автоматическая регулировка уровня громкости (AVC)
110 Автоматическая регулировка уровня громкости (AVC) Для автоматического увеличения уровня громкости при увеличении скорости мотоцик-ла нажимайте рукоятку/кнопку регулировки громкости, пока на дисплее не отобразится индикатор AUTO VOL SPK (стр. 100). Для установки уровня громкости наушников на-жима...
Страница 122 - Временное уменьшение громкости аудиосистемы; Кнопка MUTE
111 Временное уменьшение громкости аудиосистемы Для временного уменьшения громкости аудиосистемы, позволяющего расслышать окру-жающие звуки, нажмите кнопку MUTE. На дисплее отобразится индикатор MUTE.Чтобы восстановить прежний уровень громкости, еще раз нажмите кнопку MUTE. Кнопка MUTE
Страница 123 - Для складывания радиоантенны:; Радиоантенна
112 МАГНИТОЛА Радиоантенна Для складывания радиоантенны: Захватите и потяните кверху муфту с накаткой, затем сложите радиоантенну. Прочтите соответствующие страницы данного раздела, касающиеся приемов управления аудиосистемой мотоцикла. Стр. 113 - 122 для E, IIIE, F, IIF, ED и IIED. • Стр. 123 - 127...
Страница 124 - Выбор диапазона; Нажмите кнопку U для переключения между U1/U2.
113 (E, IIIE, F, IIF, ED, IIED) Выбор диапазона Для изменения диапазона в режиме радиоприема пользуйтесь кнопками U1, M и L. Нажмите кнопку U для переключения между U1/U2. Появление на дисплее индикатора STEREO указывает на прием стереосигнала. (Прием стереосигнала возможен только в диапазоне FM). Е...
Страница 125 - Выбор радиостанции
114 Выбор радиостанции Для увеличения частоты приема нажмите рычажок TUNE/CH вверх.Для уменьшения частоты приема нажмите рычажок TUNE/CH вниз. Для последовательного перебора радиочастот нажимайте рычажок короткими нажатия-ми. Шаг частот диапазонов ультракоротких волн U (FM) составляет 100 МГц. Шаг ч...
Страница 126 - Предварительная настройка радиостанций; для сохранения этой радиостанции. Нажмите и удерживайте кнопку.
115 Предварительная настройка радиостанций Вы можете сохранить частоты ваших любимых радиостанций на шести кнопках предва-рительной настройки. Каждая кнопка может хранить одну частоту в диапазонах длинных (LW) и средних (MW) волн и две частоты в диапазоне ультракоротких волн (UKW). 1. Убедитесь, что...
Страница 127 - Автоматический выбор
116 Автоматический выбор Если вы в дальней поездке удалились от дома и не можете более принимать станции пред-варительной настройки, вы можете воспользоваться функцией автоматического выбора станций для поиска станций в зоне, где вы сейчас находитесь. Для активации этой функции нажмите кнопку A.SEL....
Страница 128 - Кнопка U
117 Система радиоданных (RDS) Ваша аудиосистема позволяет пользоваться рядом преимуществ, которые обеспечивает система радиоданных (RDS). Функция поиска альтернативных частот (AF) включается автоматически с включением аудиосистемы. При настройке на радиостанцию RDS с дисплея исчезает частота приема,...
Страница 129 - Рычажок AF
118 Рычажок AF Для включения функции поиска альтернативных частот (AF) нажмите рычажок AF вверх, на дисплее загорится индикатор AF. Для выключения функции поиска альтернативных частот (AF) нажмите рычажок AF вверх и удерживайте его в этом положении. В некоторых странах использование преимуществ сист...
Страница 130 - Рычажок ТА
119 Режим ожидания передачи дорожных сообщений (ТА) Для включения данной функции выберите диапазон U (FM). Когда рычажок ТА переводится в верхнее положение, на дисплее появляется индикатор ТА и система переходит в режим готовности к приему объявлений дорожной информа-ции. Если выбрана станция, котор...
Страница 131 - Сигнал тревоги
120 TA (Дорожные сообщения) Если при включении функции ТА отсутствует сигнал радиостанций, передающих дорож-ную информацию, то пятикратно прозвучит предупреждающий сигнал.Если сигнал станции, передающей дорожную информацию, становится слабым, когда вы слушаете радио, индикатор ТР погаснет и примерно...
Страница 132 - Функция индикации типа программы PTY; Кнопка PTY
121 Функция индикации типа программы PTY Когда нажата кнопка PTY, включается функция индикации типа программы PTY. Инди-катор PTY будет гореть на дисплее, как напоминание об этом. Тип радиопрограммы ото-бражается на дисплее, если радиостанция, на которую настроен радиоприемник, способ-на передавать ...
Страница 133 - Установка жанра программы:; Повторите шаги с 3 по 6 для установки других жанров PTY.
122 Установка жанра программы: 1. Убедитесь, что кнопка A.SEL выключена. Если она включена, нажмите кнопку A.SEL для ее выключения. 2. Выберите диапазон ультракоротких волн UKW и нажмите кнопку PTY.3. Нажмите кнопку выбора типа программы и выберите жанр PTY. CH1 CH2 CH3 CH4 CH5 CH6 INFO POP CLASSIC ...
Страница 134 - Нажмите кнопку FM для переключения между диапазонами FM1/FM2.
123 (KO, U, IIU, BR, IIBR, SI) Выбор диапазона Для изменения диапазона в режиме радиоприема нажмите кнопку АМ или FM. Нажмите кнопку FM для переключения между диапазонами FM1/FM2. Появление на дисплее индикатора STEREO указывает на прием стереосигнала. (Прием стереосигнала возможен только в диапазон...
Страница 137 - Кнопки предварительной настройки
126 Автоматический выбор Если вы в дальней поездке удалились от дома и не можете более принимать станции пред-варительной настройки, вы можете воспользоваться функцией автоматического выбора станций для поиска станций в зоне, где вы сейчас находитесь. Для активации этой функции нажмите кнопку A.SEL....
Страница 139 - Для выключения этой функции — нажмите другую кнопку.; Кнопка AUX
128 ФУНКЦИЯ ПОДКЛЮЧЕНИЯ ДОПОЛНИТЕЛЬНОГО ОБОРУДОВАНИЯ Вход для внешнего источника сигнала (AUX) Воспользуйтесь этой функцией для прослушивания внешнего источника сигнала:Для прослушивания внешнего источника сигнала необходимо вставить соответствующий разъем в гнездо аудиосистемы.Для управления и прос...
Страница 140 - Установка входного разъема внешнего источника сигнала; дне кармана обтекателя.
129 Установка входного разъема внешнего источника сигнала Входной разъем внешнего источника сигнала расположен под левым карманом обтекате-ля. Чтобы воспользоваться им: 1. Приложите к крышке кусок ветоши и, поддев плоской отверткой, снимите крышку.2. Откройте крышку левого кармана обтекателя и сними...
Страница 143 - Поддерживаемые форматы аудиофайлов; Пункт
132 Поддерживаемые форматы аудиофайлов В режиме магнитолы аудиосистема способна воспроизводить аудиофайлы формата MP3/WMA, записанные на устройстве USB. Прежде чем приступить к записи аудиофайлов на устройство USB, ознакомьтесь с приведенными ниже ограничениями. Не изменяйте названия файлов и расшир...
Страница 145 - Кабель USB; Подключение; Переходник
134 Кабель USB Подключение 1. Откройте центральный кофр (стр. 76).2. Освободите разъем USB.3. Подключите iPod® (с помощью переходника) или устройство USB к разъему USB. Отключение Отключить устройство iPod®/USB можно в любое время. Процедуру отключения пере-ходника iPod® от кабеля USB см. в инструкц...
Страница 146 - Воспроизведение аудиофайлов с iPod®; Индикатор iPod®
135 Воспроизведение аудиофайлов с iPod® Подключите iPod® к разъему USB с помощью переходника (стр. 134 ) и дважды нажми-те кнопку AUX. Загорится индикатор iPod®. Если на дисплее появилось сообщение об ошибке, стр. 143. Индикатор iPod® Индикатор iPod® (Мотоциклы, не оборудованные навигационной систем...
Страница 147 - Кнопка RETURN
136 Выберите плейлист, исполнителя, альбом и песню с помощью рукоятки/кнопки MODE. Нажимайте рукоятку/кнопку MODE, пока на дисплей не будет выведено меню iPod®. Затем выберите необходимый плейлист поворотом рукоятки/кнопки MODE. Нажмите рукоятку/кнопку MODE для подтверждения сделанного вами выбора.Н...
Страница 150 - RPT
139 При воспроизведении файла доступы функции повтора и воспроизведения в случайном порядке. Для выбора режима воспроизведения Нажимайте A.SEL RPT/RDM, пока на дисплее не появится индикация необходимого вам режима воспроизведения. При каждом нажатии кнопки A.SEL RPT/RDM режим работы информационного ...
Страница 151 - Воспроизведение аудиофайлов с устройства USB; Если вы выберете RETURN, то вернетесь на предыдущий экран.; Индикатор USB
140 Воспроизведение аудиофайлов с устройства USB Подключите устройство USB к кабелю USB (стр. 134 ) и дважды нажмите кнопку AUX. Загорится индикатор USB. Если на дисплее появилось сообщение об ошибке, стр. 143. Выберите папку или файл поворотом рукоятки/кнопки MODE. Нажимайте рукоятку/кнопку MODE, п...
Страница 154 - Сообщения об ошибках устройства USB; Сообщение
143 Сообщения об ошибках устройства USB (Мотоциклы, не оборудованные навигационной системой)Если при воспроизведении файлов с устройства iPod® или USB возникнет ошибка, вы увидите на дисплее одно из следующих сообщений. Если вам не удается удалить сообще-ние об ошибке, доставьте мотоцикл к официальн...
Страница 155 - Для включения системы
144 ИНТЕРКОМ (I-COM) Управление системой Законодательства некоторых стран запрещают использование микрофонно-телефонной гарнитуры. Всегда следуйте требованиям применимого законодательства. Система внутренней связи может быть использована для связи между вами и вашим пассажиром. (Чтобы воспользоватьс...
Страница 156 - Рукоятка/кнопка регулировки громкости
145 Регулирование уровня громкости Для перехода в режим регулировки уровня громкости нажимайте рукоятку/кнопку ре-гулировки громкости, пока на дисплее не отобразится индикатор INTERCOM VOL (стр. 101). Затем, в течение пяти секунд, приступите к регулировке уровня громкости. Для увеличения уровня гром...
Страница 157 - Временное понижение громкости интеркома
146 Временное понижение громкости интеркома Система временного понижения громкости интеркома автоматически снижает (не до нуля) громкость музыки/радиопрограммы во время переговоров по интеркому. Чувствительность микрофона гарнитуры к голосу и окружающим звукам устанавливает уровень понижения громкос...
Страница 158 - Переключение выхода осуществляется нажатием кнопки NAVI.; Кнопка NAVI
147 НАВИГАЦИОННАЯ СИСТЕМА(Мотоциклы, оборудованные навигационной системой)Управление системой Для включения речевого сопровождения при выключенной навигационной системе – нажмите кнопку NAVI. Для выключения речевого сопровождения при включенной навигационной системе – нажмите и удерживайте нажатой к...
Страница 159 - Регулировка громкости навигационной системы
148 Регулировка громкости навигационной системы Для перехода в режим регулировки уровня громкости нажимайте рукоятку/кнопку регу-лировки громкости, пока на дисплее не отобразится индикатор 'NAVI VOL (стр. 101). За-тем, в течение пяти секунд, приступите к регулировке уровня громкости навигационной си...
Страница 160 - ОСМОТР ПЕРЕД ПОЕЗДКОЙ; Сцепление – проверьте уровень рабочей жидкости сцепления.
149 ЭКСПЛУАТАЦИЯ ОСМОТР ПЕРЕД ПОЕЗДКОЙ Для обеспечения собственной безопасности очень важно потратить немного времени, и перед поездкой обойти вокруг мотоцикла, проверяя его состояние. При обнаружении любой неисправности необходимо ее устранить или обратиться для ее устранения к офи-циальному дилеру...
Страница 161 - ПУСК ДВИГАТЕЛЯ
150 ЭКСПЛУАТАЦИЯ ПУСК ДВИГАТЕЛЯ Всегда следуйте правильной процедуре запуска двигателя, рассматриваемой ниже. Данный мотоцикл оснащен системой автоматического выключения зажигания, связан-ной с положением бокового упора. Если боковой упор опущен, то двигатель невозможно запустить, пока в коробке пер...
Страница 162 - Подготовка к пуску; Горит сигнализатор падения давления масла.
151 Подготовка к пуску Перед запуском двигателя вставьте ключ в замок зажигания, установите его в положение ON и убедитесь в следующем: В коробке передач включена нейтральная передача (горит индикатор включения ней- • тральной передачи).Выключатель двигателя находится в положении RUN • Горит сигнали...
Страница 163 - Процедура запуска двигателя; Независимо от температуры окружающего воздуха:; Заливание свечей зажигания топливом
152 ЭКСПЛУАТАЦИЯ Процедура запуска двигателя Двигатель данного мотоцикла оснащен системой впрыска топлива с автоматическим ре-гулированием оборотов холостого хода. Следуйте указанной ниже процедуре. Независимо от температуры окружающего воздуха: При полностью закрытой дроссельной заслонке нажмите кн...
Страница 164 - ОБКАТКА
153 ОБКАТКА Правильная обкатка мотоцикла - это залог его долгой и безотказной работы в будущем. Поэтому следует уделять особенное внимание правильной эксплуатации мотоцикла в те-чение первых 500 км пробега. Во время периода обкатки избегайте запусков двигателя с полностью открытой дроссель-ной засло...
Страница 165 - ЕЗДА
154 ЭКСПЛУАТАЦИЯ ЕЗДА Перед началом движения еще раз просмотрите раздел по безопасности мотоцикла (стр. 1-19). Убедитесь, что вам известен принцип работы механизма бокового упора. (Ознакомьтесь с Регламентом технического обслуживания на стр. 166 и объяснениями, касающимися бокового упора, на стр. 18...
Страница 166 - ЗАДНИЙ ХОД; боковая опора поднята.
155 ЗАДНИЙ ХОД Перед началом маневрирования задним ходом убедитесь в отсутствии препятствий или людей в зоне маневра, избегайте крутых и неровных поверхностей. При движении назад обеспечивайте равновесие вашего мотоцикла, сопровождая его пе-ремещение назад ногами. При движении назад не рекомендуется...
Страница 167 - хода дольше одной минуты.
156 ЭКСПЛУАТАЦИЯ 5. Когда вы будете готовы подавать назад, нажмите и удерживайте нажатой кнопку стар- тера/заднего хода. Мотоцикл будет перемещаться назад, пока вы удерживаете кнопку нажатой. Во избежание разряда аккумуляторной батареи не нажимайте кнопку стартера/заднего хода дольше одной минуты. 6...
Страница 168 - ТОРМОЖЕНИЕ; Важная информация по безопасности:
157 ТОРМОЖЕНИЕ Данный мотоцикл оснащен двойной комбинированной тормозной системой. Воздей-ствие на рычаг переднего тормоза активирует передний тормоз и частично задний тормоз. Воздействие на педаль заднего тормоза активирует задний тормоз и частично передний тормоз. Для обеспечения полной эффективно...
Страница 169 - Комбинированная антиблокировочная система
158 ЭКСПЛУАТАЦИЯ Комбинированная антиблокировочная система Данная модель также оснащена антиблокировочной системой (ABS), сконструированной для предотвращения блокировки колеса при интенсивном торможении на неровных и других некачественных поверхностях во время прямолинейного движения. Хотя колесо и...
Страница 170 - Сигнализатор антиблокировочной системы (ABS)
159 Сигнализатор антиблокировочной системы (ABS) Этот сигнализатор обычно высвечивается при включении зажигания и гаснет при начале движения. При неисправности антиблокировочной системы (ABS) данный сигнализатор продолжает высвечиваться или мигает. Антиблокировочная система (ABS) не функцио-нирует, ...
Страница 171 - СТОЯНКА; извлеките ключ из замка зажигания.
160 ЭКСПЛУАТАЦИЯ СТОЯНКА 1. После остановки мотоцикла включите нейтральную передачу, выключите зажигание и извлеките ключ из замка зажигания. 2. Используйте центральную опору или боковой упор для удержания мотоцикла на стоянке. Устанавливайте мотоцикл на твердой ровной площадке, чтобы исключить его ...
Страница 172 - РЕКОМЕНДАЦИИ ПО ЗАЩИТЕ ОТ УГОНА; простое правило, но многие забывают ему следовать.
161 РЕКОМЕНДАЦИИ ПО ЗАЩИТЕ ОТ УГОНА 1. Обязательно блокируйте руль и не оставляйте ключ в замке зажигания. Это очень простое правило, но многие забывают ему следовать. 2. Все регистрационные документы и знаки мотоцикла должны быть действующими и находиться в порядке. 3. По возможности храните мотоци...
Страница 177 - ТЕХНИЧЕСКОЕ ОБСЛУЖИВАНИЕ
166 ТЕХНИЧЕСКОЕ ОБСЛУЖИВАНИЕ (Кроме Бразилии) ПЕРИОДИЧНОСТЬ ПУНКТ ПРОВЕРКИ ОСМОТР ПЕРЕД ПОЕЗДКОЙ (Стр. 149) ПОКАЗАНИЯ ОДОМЕТРА * 1 ЕЖЕГОДНАЯ ПРОВЕРКА РЕГУЛЯРНАЯ ЗАМЕНА См. стр. х 1000 км 1 12 24 36 48 х 1000 миль 0,6 8 16 24 32 * ТОПЛИВОПРОВОД I I I I I - УРОВЕНЬ ТОПЛИВА I 54 * ФУНКЦИОНИРОВАНИЕ ДРОС...
Страница 180 - КОМПЛЕКТ ИНСТРУМЕНТА; Ремень инструментальной сумки
169 КОМПЛЕКТ ИНСТРУМЕНТА Комплект инструмента находится в левом кофре (стр. 76).С помощью инструмента из комплекта можно выполнить некоторые операции ремонта в дороге, несложные регулировки и замены частей. Свечной ключ • Рожковый ключ 8 мм • Рожковый ключ 10 Х 12 мм • Рожковый ключ 14 Х 17 мм • Нак...
Страница 181 - СЕРИЙНЫЕ НОМЕРА; Номер рамы
170 ТЕХНИЧЕСКОЕ ОБСЛУЖИВАНИЕ СЕРИЙНЫЕ НОМЕРА Для регистрации мотоцикла необходимо знать номер рамы и номер двигателя. Они могут также потребоваться при заказе запасных частей.Запишите эти номера, чтобы их было просто найти.Номер рамы выштампован на правой стороне рулевой колонки.Номер двигателя вышт...
Страница 182 - ЭТИКЕТКА С ОБОЗНАЧЕНИЕМ КРАСКИ; Табличка с кодом краски
171 ЭТИКЕТКА С ОБОЗНАЧЕНИЕМ КРАСКИ Этикетка с обозначением краски прикреплена внутри крышки топливозаправочной гор-ловины (стр. 54).Она понадобится при заказе запасных частей. Запишите цвет и код краски, чтобы их было просто найти. ЦВЕТ _______________________________________________________________...
Страница 183 - СНЯТИЕ КОЖУХОВ; Ознакомьтесь с правилами техники безопасности на стр. 164.; Боковой кожух двигателя
172 ТЕХНИЧЕСКОЕ ОБСЛУЖИВАНИЕ СНЯТИЕ КОЖУХОВ Ознакомьтесь с правилами техники безопасности на стр. 164. Показана левая сторона, правая сторона аналогична. Боковой кожух двигателя Боковой кожух Боковой кожух головки цилиндра Передний нижний кожух
Страница 184 - Втулки
173 Боковая крышка Снятие: 1. Откройте кофр (стр. 76).2. Вытяните боковой кожух до выхода выступов А из втулок на раме.3. Вытяните боковой кожух до выхода выступов В из втулок на раме.4. Осторожно снимите боковой кожух. Установка: 1. Вставьте верхний край бокового кожуха под седло.2. Выровняйте кожу...
Страница 185 - освободятся из прорезей крепления.
174 ТЕХНИЧЕСКОЕ ОБСЛУЖИВАНИЕ Боковой кожух двигателя Снятие: 1. Осторожно потяните за заднюю часть бокового кожуха двигателя, пока выступы не освободятся из прорезей крепления. 2. Сдвиньте боковой кожух двигателя назад. Установка: Установка выполняется в порядке, обратном процедуре снятия. • ПРИМЕЧА...
Страница 186 - Установка выполняется в порядке, обратном процедуре снятия.; Боковой кожух головки цилиндра
175 Боковой кожух головки цилиндра Снятие: 1. Выкрутите резиновые заглушки.2. Выверните болты. Установка: Установка выполняется в порядке, обратном процедуре снятия. • Боковой кожух головки цилиндра Болт Резиновая пробка
Страница 187 - Передний нижний кожух; Фиксатор
176 ТЕХНИЧЕСКОЕ ОБСЛУЖИВАНИЕ Передний нижний кожух Снятие: 1. Снимите фиксаторы.2. Выверните болты. Установка: Установка выполняется в порядке, обратном процедуре снятия. • Фиксатор Передний нижний кожух Болты
Страница 188 - ФИКСАТОР
177 ФИКСАТОР Снятие: 1. Продавите центральный штифт для освобождения фиксатора.2. Извлеките фиксатор из отверстия. Установка: 1. Надавите на низ штифта.2. Вставьте фиксатор в отверстие.3. Слегка нажмите на центральный штифт для закрепления фиксатора. 1. . 3 . 2 . 2 . 1
Страница 191 - Моторное масло и масляный фильтр
180 ТЕХНИЧЕСКОЕ ОБСЛУЖИВАНИЕ Моторное масло и масляный фильтр Качество моторного масла является главным фактором, определяющим срок службы дви-гателя. Заменяйте моторное масло согласно интервалам, указанным в Регламенте техни-ческого обслуживания (стр. 166). При работе в условиях повышенной запыленн...
Страница 192 - из картера и уплотнительную шайбу.; Сливная пробка картера
181 1. Установите мотоцикл на его центральную опору на жесткой ровной поверхности.2. Если двигатель холодный, запустите его и прогрейте в течение 2-3 минут. Заглушите двигатель. Подождите 2-3 минуты. 3. Снимите правый кожух двигателя (стр. 174).4. Снимите передний нижний кожух (стр. 176).5. Для слив...
Страница 193 - масляный фильтр и затяните его моментом:
182 ТЕХНИЧЕСКОЕ ОБСЛУЖИВАНИЕ 8. С помощью специального ключа и динамометрического ключа установите новый масляный фильтр и затяните его моментом: 26 Нм (2,7 кгс-м) При замене используйте только оригинальный масляный фильтр Honda или его эквивалент, предназначенный для данной модели мотоцикла. Исполь...
Страница 194 - САПУН КАРТЕРА; Пробка вентиляционной трубки картера
183 САПУН КАРТЕРА Ознакомьтесь с правилами техники безопасности на стр. 164. 1. Снимите левый боковой кожух головки цилиндров (стр. 175)2. Поместите поддон для слива под пробку вентиляционной трубки.3. Снимите пробку трубки вентиляции картера и удалите отложения.4. Установите на место пробку системы...
Страница 195 - СВЕЧИ ЗАЖИГАНИЯ; провода высокого напряжения при снятии наконечников.; Свечной ключ
184 ТЕХНИЧЕСКОЕ ОБСЛУЖИВАНИЕ СВЕЧИ ЗАЖИГАНИЯ Ознакомьтесь с правилами техники безопасности на стр. 164. Рекомендуемые свечи зажигания: Стандартные: BKR6E-11 (NGK) или K20PR-U11 (DENSO) Для холодного климата: (Ниже 5°C) BKR5E-11 (NGK) или K16PR-U11 (DENSO) Для преимущественного использования на высок...
Страница 198 - ПРОВЕРКА ПЕРЕДНЕЙ И ЗАДНЕЙ ПОДВЕСКИ
187 ПРОВЕРКА ПЕРЕДНЕЙ И ЗАДНЕЙ ПОДВЕСКИ Ознакомьтесь с правилами техники безопасности на стр. 164. 1. Проверьте состояние узла передней вилки, нажав на рычаг переднего тормоза и интенсивно качая вилку вверх и вниз руль. Подвеска должна работать плавно, и не должна иметь следов подтекания рабочей жид...
Страница 199 - БОКОВОЙ УПОР; Пружина
188 ТЕХНИЧЕСКОЕ ОБСЛУЖИВАНИЕ БОКОВОЙ УПОР Ознакомьтесь с правилами техники безопасности на стр. 164. Выполните следующие операции обслуживания в соответствии с Регламентом техниче-ского обслуживания. Проверка функционирования: Убедитесь в отсутствии повреждений и потери упругости пружины, проверьте,...
Страница 200 - СНЯТИЕ КОЛЕСА; Снятие переднего колеса; тормозном шланге. Не перекручивайте тормозной шланг.
189 СНЯТИЕ КОЛЕСА Ознакомьтесь с правилами техники безопасности на стр. 164. Снятие переднего колеса Рекомендуется снятие колеса поручать механикам официальных дилерских центров Honda или другим квалифицированным специалистам. Не пытайтесь снимать колесо са-мостоятельно. Для снятия колеса необходимы...
Страница 201 - Изоляционная лента
190 ТЕХНИЧЕСКОЕ ОБСЛУЖИВАНИЕ Соответствующие моменты затяжки приведены на стр. 192. Покройте переднее колесо с обеих сторон защитной пленкой или чем-либо подобным. Числа указывают последовательность разборки. Изоляционная лента
Страница 203 - УСТАНОВКА ПЕРЕДНЕГО КОЛЕСА; Углубленная поверхность
192 ТЕХНИЧЕСКОЕ ОБСЛУЖИВАНИЕ УСТАНОВКА ПЕРЕДНЕГО КОЛЕСА 1. Производите сборку, выполняя операции в обратном порядке. Поместите переднее колесо между перьями вилки и вставьте с левой стороны ось • через левое перо вилки и ступицу колеса.Выровняйте линию-метку передней оси с углубленной поверхностью п...
Страница 204 - Удалите защитную пленку с переднего колеса.; Плоский щуп
193 Неправильно выставленный зазор между диском и держателем тормозного суппорта мо-жет привести к повреждению тормозных дисков и ухудшению эффективности торможе-ния. 4. После установки переднего колеса нажмите на рычаг тормоза И педаль тормоза несколько раз, а затем перепроверьте зазор между обоими...
Страница 205 - Снятие заднего колеса; пульсное кольцо датчика антиблокировочной системы.
194 ТЕХНИЧЕСКОЕ ОБСЛУЖИВАНИЕ Снятие заднего колеса Рекомендуется снятие колеса поручать механикам официальных дилерских центров Honda или другим квалифицированным специалистам. Не пытайтесь снимать колесо са-мостоятельно. Для снятия колеса необходимы технические навыки и профессиональный инструмент....
Страница 207 - Установка заднего колеса
196 ТЕХНИЧЕСКОЕ ОБСЛУЖИВАНИЕ Установка заднего колеса 1. Производите сборку, выполняя операции в обратном порядке.2. Затяните колесные гайки требуемым моментом. 108 Нм (11,0 кгс-м) 3. После установки колеса несколько раз нажмите на педаль тормоза и затем проверьте, свободно ли вращается колесо. Если...
Страница 208 - ИЗНОС ТОРМОЗНЫХ КОЛОДОК; Передний тормоз; Канавки
197 ИЗНОС ТОРМОЗНЫХ КОЛОДОК Ознакомьтесь с правилами техники безопасности на стр. 164. Износ тормозных колодок зависит от интенсивности торможения, манеры вождения мотоцикла и дорожных условий. (Обычно колодки изнашиваются быстрее на мокрых и грязных дорогах.) Проверяйте состояние тормозных колодок ...
Страница 209 - ПРОВЕРКА ТОРМОЗНОЙ СИСТЕМЫ; Левый суппорт в сборе
198 ТЕХНИЧЕСКОЕ ОБСЛУЖИВАНИЕ ПРОВЕРКА ТОРМОЗНОЙ СИСТЕМЫ Ознакомьтесь с правилами техники безопасности на стр. 164. Проверьте тормозную систему следующим образом: 1. Установите мотоцикл на его центральную опору, остановите двигатель и включите нейтральную передачу. 2. Медленно вращая заднее колесо, п...
Страница 210 - АККУМУЛЯТОРНАЯ БАТАРЕЯ
199 АККУМУЛЯТОРНАЯ БАТАРЕЯ Ознакомьтесь с правилами техники безопасности на стр. 164. На данном мотоцикле применяется необслуживаемая аккумуляторная батарея, которая не нуждается в проверке уровня электролита или доливке дистиллированной воды. Если аккумуляторная батарея разряжена и/или имеет место ...
Страница 211 - Проверьте надежность затяжки всех болтов и соединений.
200 ТЕХНИЧЕСКОЕ ОБСЛУЖИВАНИЕ Аккумуляторная батарея размещена в отсеке батареи за левым боковым кожухом.Установив ключ в замке зажигания в положение OFF, выждите 10 секунд и отсоедините кабель от отрицательного вывода аккумуляторной батареи.Навигационная система может функционировать некорректно. Сн...
Страница 213 - Главный предохранитель:; Главный предохранитель А
202 ТЕХНИЧЕСКОЕ ОБСЛУЖИВАНИЕ Главный предохранитель: 4. Проверьте главные предохранители (А и В/предохранитель внешнего усилителя) на предмет их целостности. Для замены главных предохранителей (А и В/предохранитель внешнего усилителя) обратитесь к официальному дилеру Honda. Предохранитель ограничите...
Страница 214 - ЗАМЕНА ЛАМП
203 ЗАМЕНА ЛАМП Ознакомьтесь с правилами техники безопасности на стр. 164. Лампа прибора освещения нагревается до высокой температуры при включенном осве-щении и остается горячей в течение некоторого времени после выключения освещения. Дайте лампе остыть, прежде чем работать с ней. Не прикасайтесь п...
Страница 215 - Лампа дальнего света фары
204 ТЕХНИЧЕСКОЕ ОБСЛУЖИВАНИЕ Лампа дальнего света фары 1. Приложите к крышке кусок ветоши и, поддев плоской отверткой, снимите крышку.2. Откройте крышку отсека обтекателя и снимите фиксаторы (стр. 177).3. Отверните болты А и снимите крышку.4. Отверните болты Б и достаньте исполнительное устройство. ...
Страница 216 - Лампа фары ближнего света; Шпилька
205 Лампа фары ближнего света 1. Достаньте разъем, не поворачивая его.2. Снимите противопылевой колпачок.3. Нажмите на фиксатор и извлеките лампу.4. Вытяните лампу, не поворачивая ее.5. Установите новую лампу, выполняя операции в обратном порядке. Установите противопылевой колпачок, ориентируя его с...
Страница 217 - Гайки
206 ТЕХНИЧЕСКОЕ ОБСЛУЖИВАНИЕ Лампа стоп-сигнала(KO: Лампа стоп-сигнала и заднего фонаря) 1. Откройте центральный кофр (стр. 76).2. Отверните гайки и извлеките стоп-сигнал/задний фонарь в сборе. 3. Поверните гнездо приблизительно на 45° против часовой стрелки и потяните на себя.4. Вытяните лампу, не ...
Страница 218 - Лампы передних указателей поворота; Зеркало заднего вида
207 Лампы передних указателей поворота 1. Снимите зеркало заднего вида, вывернув винт. 2. Поверните гнездо приблизительно на 45° против часовой стрелки и потяните на себя.3. Вытяните лампу, не поворачивая ее.4. Установите новую лампу, выполняя операции в обратном порядке. Зеркало заднего вида Винт П...
Страница 219 - Лампы задних указателей поворота/заднего фонаря
208 ТЕХНИЧЕСКОЕ ОБСЛУЖИВАНИЕ Лампы задних указателей поворота/заднего фонаря 1. Откройте кофры (стр. 76).2. Отверните гайки и снимите задний фонарь в сборе 3. Поверните гнездо приблизительно на 45° против часовой стрелки и потяните на себя.4. Вытяните лампу, не поворачивая ее.5. Установите новую лам...
Страница 220 - Лампа фонаря освещения регистрационного знака; Винты
209 Лампа фонаря освещения регистрационного знака 1. Снимите рассеиватель лампы фонаря освещения номерного знака, отвернув винты.2. Вытяните лампу, не поворачивая ее.3. Установите новую лампу, выполняя операции в обратном порядке. Крышка фонаря освещения регистрационного знака Винты Лампа
Страница 221 - УХОД; Дайте двигателю и системе выпуска остыть.
210 УХОД УХОД Регулярно очищайте мотоцикл от грязи, чтобы обеспечить защиту окрашенных поверх-ностей и своевременно обнаруживать повреждение деталей, износ, утечки масла, охлаж-дающей жидкости и тормозной жидкости. Не используйте очистители, которые не предназначены для окрашенных поверхностей мотоц...
Страница 222 - После очистки просушите мягкой сухой ветошью.
211 Мойка мотоцикла 1. Тщательно смойте грязь с мотоцикла слабой струей холодной воды. 2. Промойте мотоцикл холодной водой с губкой или мягкой тканью. Избегайте направлять струю воды на выпускное отверстие глушителя и электриче-ские компоненты. 3. Очистите пластмассовые детали мотоцикла с помощью тк...
Страница 223 - Уход за лакокрасочным покрытием
212 УХОД Уход за лакокрасочным покрытием После мытья мотоцикла рекомендуется использовать имеющиеся в продаже моющие и полировочные спреи или качественную жидкую или кремообразную полировочную пасту в качестве заключительной операции ухода. Используйте только полировочные пасты, не содержащие абрази...
Страница 225 - РЕКОМЕНДАЦИИ ПО ХРАНЕНИЮ; ХРАНЕНИЕ
214 РЕКОМЕНДАЦИИ ПО ХРАНЕНИЮ Продолжительное хранение, как, например, в зимнее время, требует выполнения специ-альных подготовительных работ, чтобы уменьшить отрицательный эффект длительного хранения. Кроме этого, если необходимо провести ремонт, его следует выполнить ДО постановки мотоцикла на хран...
Страница 226 - РАСКОНСЕРВАЦИЯ ПОСЛЕ ХРАНЕНИЯ
215 5. Снимите аккумуляторную батарею. Храните ее в месте, защищенном от минусовых температур и прямого солнечного света. Раз в месяц подзаряжайте аккумуляторную батарею в медленном режиме. 6. Вымойте и просушите мотоцикл. Нанесите на все окрашенные поверхности слой за- щитной мастики. Нанесите на х...
Страница 227 - В СЛУЧАЕ АВАРИИ
216 ДЕЙСТВИЯ ПРИ НЕПРЕДВИДЕННЫХ ОБСТОЯТЕЛЬСТВАХ В СЛУЧАЕ АВАРИИ Если случилась авария, наивысший приоритет приобретает ваша личная безопасность. Если в результате аварии вы или кто-то еще получили травмы, необходимо оценить сте-пень тяжести полученных травм и решить, есть ли возможность продолжать е...
Страница 228 - ТЕХНИЧЕСКИЕ ХАРАКТЕРИСТИКИ; РАЗМЕРЫ; мм; ЗАПРАВОЧНЫЕ ЕМКОСТИ; Водитель и один пассажир; ДВИГАТЕЛЬ; Выпускные
217 ТЕХНИЧЕСКИЕ ХАРАКТЕРИСТИКИ РАЗМЕРЫ Габаритная длина 2630 мм Габаритная ширина 945 мм Кроме KO 900 мм KO Габаритная высота 1455 мм Колесная база 1690 мм ЗАПРАВОЧНЫЕ ЕМКОСТИ Моторное масло— После капитального ремонта 4,6 л — После слива масла и замены масляного фильтра 3,7 л — После слива масла 3,...
Страница 229 - ШАССИ И ПОДВЕСКА; ТРАНСМИССИЯ
218 ТЕХНИЧЕСКИЕ ХАРАКТЕРИСТИКИ ШАССИ И ПОДВЕСКА Угол продольного наклона оси поворота колеса 29°15 ' Вылет 109 мм Размерность передней шины 130/70R18M/C 63H BRIDGESTONE G709 RADIAL Размерность задней шины 180/60R16M/C 74H BRIDGESTONE G704 RADIAL Тип шин: радиальные, бескамерные ТРАНСМИССИЯ Первичная...
Страница 231 - КАТАЛИТИЧЕСКИЙ НЕЙТРАЛИЗАТОР; Поддерживайте двигатель в исправном состоянии.
220 КАТАЛИТИЧЕСКИЙ НЕЙТРАЛИЗАТОР Данный мотоцикл оснащен каталитическим нейтрализатором.Нейтрализатор содержит редкие металлы, которые служат катализаторами, ускоряя хи-мические реакции преобразования отработавших газов без воздействия на металлы.Каталитический нейтрализатор воздействует на HC, CO и...