Страница 3 - Содержание; Название
i Содержание Название Страница Введение ............................................................................................................... 1 Контактная информация о компании Fluke............................................................ 1 Общая информация по безопасности ...............
Страница 4 - ii; MIN MAX
87V Ex Руководство пользователя ii Измерение частоты ............................................................................................ 33 Измерение коэффициента заполнения ( импульсной последовательности ) ........ 35 Определение длительности импульса ........................................
Страница 5 - iii; Список; Таблица
iii Список таблиц Таблица Название Страница 1. Электрические обозначения ........................................................................................ 9 2. Входы .......................................................................................................................... 10 3...
Страница 7 - Рисунок
v Список рисунков Рисунок Название Страница 1. Функции дисплея ......................................................................................................... 15 2. Измерение напряжения переменного и постоянного тока ............................................ 19 3. Фильтр низких частот ....
Страница 9 - Введение; XW; Предупреждение; Контактная
1 True-rms Multimeter Введение XW Предупреждение ! Перед использованием мультиметра ознакомьтесь с " Информацией по технике безопасности ". Искробезопасный мультиметр истинных среднеквадратичных значений Fluke 87V Ex ( далее " Измеритель ") - компактный и простой в работе измерительн...
Страница 10 - ATEX
87V Ex Руководство пользователя 2 Общая информация по безопасности Измеритель удовлетворяет следующим стандартам : • EN61010-1:2001 • ANSI/ISA S82.01-2004 • CAN/CSA C22.2 No. 1010.1:2004 • Категория измерений III, 1000 В , степень загрязнения 2 • Категория измерений IV, 600 В , степень загрязнения 2...
Страница 11 - Fluke
True-rms Multimeter Информация по безопасности ATEX 3 • Не вскрывайте Измеритель при нахождении во взрывоопасной зоне . • Замену батареи производите только вне взрывоопасных зон . • Не проносите во взрывоопасные зоны дополнительные или запасные батареи . • Используйте в Измерителе только батареи утв...
Страница 14 - Low Pass
87V Ex Руководство пользователя 6 • Не используйте прибор , если он выдает аномальные значения измерений . Защита может быть повреждена . При возникновении сомнений выполните обслуживание измерителя . • Для питания Измерителя используйте одну батарею 9 В , правильно уставленную внутри корпуса Измери...
Страница 15 - Ошибки
True-rms Multimeter Информация по безопасности ATEX 7 • Перед измерением токов проверьте плавкие предохранители измерителя . ( см . " Проверка предохранителей "). • Соблюдайте все правила безопасности и прочтите сертификат . Ошибки и ограничения нагрузки При возникновении проблем , угрожающи...
Страница 16 - Сертификация; II 2 G EEx
87V Ex Руководство пользователя 8 Сертификация взрывобезопасности • Сертификат EC- типа № : ZELM 05 ATEX 0274 • Обозначение взрывобезопасности : ( II 2 G EEx ia IIC T4 Диапазон измерения : макс . 65 В во взрывоопасных зонах . Макс . 5 А во взрывоопасных зонах • Питание : 9 Вольт блочного типа , IEC ...
Страница 17 - CAT III
True-rms Multimeter Информация по безопасности ATEX 9 Таблица 1. Электрические обозначения B AC ( переменный ток ) J Заземление F DC ( постоянный ток ) I Предохранитель ( плавкая вставка ) E Емкость G Диод b Батарея . При выводе на экран – низкий уровень заряда батареи . R Проверка на электропроводн...
Страница 18 - Функции; mA
87V Ex Руководство пользователя 10 Функции прибора В таблицах 2 – 5 и на рисунке 1 представлено краткое описание функций прибора . Таблица 2. Входы Клемма Описание A Вход для измерений силы тока в диапазоне 0 А – 10,00 А ( перегрузка 20 А в течение максимум 30 с ), частоты тока и коэффициента заполн...
Страница 19 - Любое
True-rms Multimeter Функции прибора 11 Таблица 3. Положения поворотного переключателя Положение переключ - ателя Функция Любое положение При включении прибора номер модели на короткое время появляется на дисплее . J Измерение напряжения переменного тока Нажмите A для фильтра низких частот ( K ). L И...
Страница 20 - PoFF; CAL
87V Ex Руководство пользователя 12 Таблица 4. Кнопки Кнопка Положение переключат еля Функция N Выбор емкости M Выбор температуры J Выбор функции фильтра низких частот переменного тока P Переключение постоянный / переменный ток Q Переключение постоянный / переменный ток A ( желтый ) Power-up Отключен...
Страница 23 - Trig; RS; MAX
True-rms Multimeter Функции прибора 15 aom1_af.eps Рисунок 1. Функции дисплея Таблица 5. Функции дисплея Номер Элемент Индикация Y Индикатор полярности аналоговой гистограммы . A Trig Y Индикатор положительной / отрицательной крутизны запускающего сигнала для запуска измерения Гц / коэффициента запо...
Страница 25 - LEAd
True-rms Multimeter Функции прибора 17 Номер Элемент Индикация R Количество сегментов зависит от верхнего предела шкалы выбранного диапазона . В обычном режиме 0 ( ноль ) находится слева . Знак полярности слева от гистограммы указывает полярность [ входного сигнала ]. Гистограмма не работает в режим...
Страница 26 - Функция; Проведение; Измерение
87V Ex Руководство пользователя 18 Функция Input Alert™ При подключении измерительного провода к клемме мА / μА или А в случае , если поворотный переключатель установлен в неверное положение , зуммер издает звуковой сигнал и на дисплее высвечивается мигающая надпись "????". Это предупреждени...
Страница 29 - RANGE; OL; eG
True-rms Multimeter Проведение измерений 21 Примечание В режиме фильтра низких частот измеритель переходит в режим ручной установки диапазонов . Выберите диапазон измерений при помощи кнопки RANGE ( Диапазон ). Автоматический выбор диапазона в режиме фильтра низких частот не предусмотрен . 1 kHz 100...
Страница 30 - Проверка
87V Ex Руководство пользователя 22 Проверка целостности цепи W Осторожно ! Во избежание повреждения прибора или проверяемого оборудования , перед измерением электропроводности необходимо обесточить цепь и разрядить все высоковольтные конденсаторы . При выполнении проверки электропроводности работает...
Страница 35 - diSC
True-rms Multimeter Проведение измерений 27 Измерение емкости W Осторожно ! Во избежание повреждения прибора или проверяемого оборудования необходимо перед измерением емкости обесточить цепь и разрядить все высоковольтные конденсаторы . Используйте функцию измерения постоянного напряжения , чтобы по...
Страница 38 - COM
87V Ex Руководство пользователя 30 Измерение силы переменного или постоянного тока XW Предупреждение ! Во избежание поражения электрическим током или травм : • Не пытайтесь измерять внутренний ток при потенциале разомкнутой цепи относительно земли более 1000 В . Это может привести к повреждению Изме...
Страница 43 - Hz
True-rms Multimeter Проведение измерений 35 Измерение коэффициента заполнения ( импульсной последовательности ) Коэффициент заполнения ( коэффициент заполнения периода импульса ) - это процент времени , в течение которого сигнал находится выше или ниже уровня срабатывания в течение одного периода ( ...
Страница 44 - Определение; Аналоговая
87V Ex Руководство пользователя 36 Определение длительности импульса Для периодических волновых сигналов ( их форма повторяется через равные промежутки времени ) вы можете определить количество времени , в течение которого сигнал имеет высокий или низкий уровень , следующим образом : 1. Измерьте час...
Страница 45 - Режим
True-rms Multimeter Режим HiRes 37 Режим масштабирования ( опция только при включении питания ) Для использования масштабированной измерительной гистограммы : 1. При включении измерительного прибора нажмите и удерживайте F . На дисплее появится 2rEL . 2. Выберите режим относительного масштабирования...
Страница 49 - Техническое; Общее
True-rms Multimeter Техническое обслуживание 41 Техническое обслуживание XW Предупреждение Во избежание возможного электрического шока или травмы техническое обслуживание , не описанное в настоящем руководстве , может осуществляться только производителем . Ремонт или обслуживание , произведенные дру...
Страница 51 - Замена; batt
True-rms Multimeter Техническое обслуживание 43 Замена батареи Заменять батарею Измерителя 9 Вольт можно только на утвержденные батареи , указанные в таблице 8. X W Предупреждение ! Запрещается менять или устанавливать батарею во взрывоопасной зоне . Во избежание ошибочных показаний , могущих привес...
Страница 53 - Обслуживание
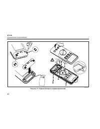
True-rms Multimeter Обслуживание и запасные части 45 Согласно рисунку 11, осмотрите или замените предохранители измерительного прибора , как указано ниже : 1. Переведите поворотный переключатель в положение OFF и отключите измерительные провода от клемм . 2. Снимите крышку батарейного отсека с помощ...
Страница 58 - Общие
87V Ex Руководство пользователя 50 Общие технические условия Максимальное напряжение между любой клеммой и заземлением : 1000 В среднеквадратичного значения W Защитный предохранитель для входов мА или μА : 0,44 А , 1000 В быстрого срабатывания (FAST) W Защитный предохранитель для входа A: 11 A, 1000...
Страница 59 - Подробные
True-rms Multimeter Подробные технические условия 51 Подробные технические условия Для всех подробных характеристик : Погрешность приведена как ± ([% показаний ] + [ количество последних значащих цифр ]) при 18 ° C до 28 ° C, относительной влажности до 90 %, в течение одного года после калибровки . ...
Страница 62 - мА
87V Ex Руководство пользователя 54 Функция тока Функция Диапазон Разрешение Точность [1, 2] Провал напряжения ( обычно ) мА \ (45 Гц до 2 кГц ) мА [ 60,00 мА 400,0 м A [4] 6,000 А 10,00 A [3] 60,00 мА 400,0 м A [4] 6,000 А 10,00 A [3] 0,01 мА 0,1 м A 0,001 A 0.01 А 0,01 мА 0,1 м A 0,001 A 0.01 А ± (...
Страница 64 - Чувствительность
87V Ex Руководство пользователя 56 Чувствительность и уровни срабатывания частотомера Минимальная чувствительность ( среднеквадратичное значение сигнала синусоидальной формы ) Примерный уровень срабатывания Входной диапазон [1] 5 Гц – 20 кГц 0.5 Гц – 200 кГц ( Функция напряжения постоянного тока ) 6...
Страница 65 - Электрические
True-rms Multimeter Подробные технические условия 57 Электрические характеристики клемм Функция Защита от перегрузок [1] Входное сопротивление ( номинальные ) Коэффициент подавления в общем режиме (1 к Ω несбалансированный ) Нормальный режим подавления L 1000 V среднеквадратический 10 M Ω < 100 п...
Страница 66 - Запись
87V Ex Руководство пользователя 58 Запись MIN MAX значений Номинальный отклик Погрешность 100 мс до 80 % Указанная погрешность ± 12 отсчетов для изменений длительностью > 200 мс ( ± 40 отсчетов при перем . токе с включенным бипером ) 100 мс до 80% ( функции пост . тока ) 120 мс до 80% ( функции п...