Автомобили Nissan Pathfinder 2010 - инструкция пользователя по применению, эксплуатации и установке на русском языке. Мы надеемся, она поможет вам решить возникшие у вас вопросы при эксплуатации техники.
Если остались вопросы, задайте их в комментариях после инструкции.
"Загружаем инструкцию", означает, что нужно подождать пока файл загрузится и можно будет его читать онлайн. Некоторые инструкции очень большие и время их появления зависит от вашей скорости интернета.

1 - 25
Безопасность – сиденья, ремни безопасности и дополнительные удерживающие системы
ОПАСНОСТЬ
Крепежные узлы для детских удерживающих систем
•
рассчитаны только на восприятие нагрузок от правильно
установленного детского кресла. Ни при каких обстоятель-
ствах нельзя использовать эти крепления для фиксации
ремней безопасности, предназначенных для взрослых
пассажиров, а также других предметов и оборудования.
Верхняя стропа детской удерживающей системы может
•
быть повреждена в результате контакта со шторкой
багажного отделения или вещами, расположенными
в багажном отделении. Снимите шторку багажного от-
деления и уложите ее в багажном отделении. Кроме
того, надежно закрепите весь багаж, уложенный в
багажном отделении. Если верхняя стропа крепления
детского кресла будет повреждена, ребенок может по-
лучить тяжелые травмы и даже погибнуть при дорожно-
транспортном происшествии.
При фиксации верхней крепежной стропы детского
•
кресла подголовник сиденья должен находиться в "гру-
зовом" (нижнем) положении. Если подголовник мешает
правильной прокладке верхней крепежной стропы, то
поднимите подголовник и пропустите верхнюю кре-
пежную стропу детского кресла под ним. Запрещается
пропускать верхнюю крепежную стропу детского кресла
поверх подголовника, когда он находится в "пассажир-
ском" (поднятом) положении.
ПРИМЕЧАНИЕ
При установке на заднем сиденье детского кресла, в ко-
•
тором ребенок сидит лицом по ходу движения, сдвиньте
сиденье переднего пассажира как можно дальше вперед.
При установке на заднем сиденье детского кресла
•
ISOFIX, в котором ребенок сидит лицом против хода дви-
жения, сдвиньте сиденье переднего пассажира назад до
тех пор, пока оно не коснется детского кресла.
ВЕРХНЯЯ СТРОПА КРЕПЛЕНИЯ ДЕТСКОГО
КРЕСЛА
Верхняя лямка крепления детского сиденья должна прикре-
пляться к соответствующему анкерному крепежному узлу.
При установке детского кресла строго следуйте инструкциям
изготовителя.
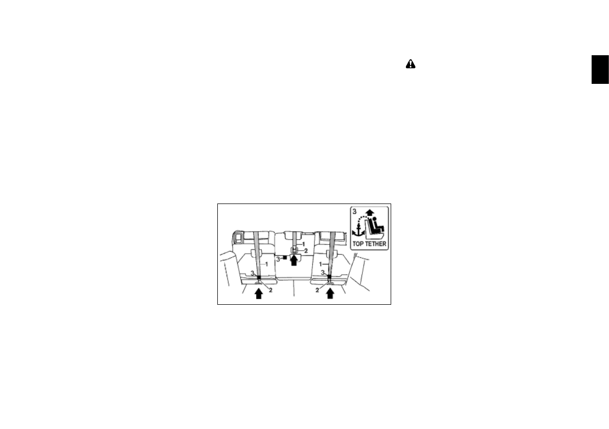
Сиденья 2-го ряда
1. Верхняя крепежная стропа
2. Крепежный узел
3. Ярлык верхней крепежной стропы
Прикрепите верхнюю стропу детского кресла к крепежному
узлу, как показано на рисунке.
Устанавливая в автомобиль детское кресло, внима-
•
тельно изучите и выполняйте все инструкции, которые
приведены в настоящем Руководстве, а также в доку-
ментации, которая приложена к изделию.
Для установки детского кресла, совместимого с системой
ISOFIX, при помощи крепежных узлов, расположенные на за-
днем сиденье, выполните следующее.
Проверьте нижние крепежные узлы ISOFIX на заднем сиде-
нье. Для этого просуньте руку за подушку заднего сиденья
и убедитесь, что крепежные узлы ISOFIX ничем не закрыты
(например, лямкой ремня или обивкой сиденья). Вы не смо-
жете зафиксировать детское кресло должным образом, если
доступ к крепежным узлам ISOFIX чем-либо затруднен.
1. Для того чтобы установить детское кресло с системой
креплений ISOFIX, вставьте фиксаторы детского кресла
в крепежные узлы ISOFIX, расположенные на заднем си-
денье. Инструкции по применению верхней стропы см.
в разделе "Верхняя стропа крепления детского кресла"
ниже в этой главе.
2. Установите направляющие элементы ISOFIX (которые
могут поставляться вместе с креслом ISOFIX) на крон-
штейны креплений ISOFIX автомобиля, расположенные
сбоку у основания подушки заднего сиденья (см. та-
бличку, указывающую расположение креплений ISOFIX).
3. После установки детского кресла, прежде чем усадить
в него ребенка, с силой покачайте кресло из стороны в
сторону и потяните его вперед, чтобы проверить проч-
ность крепления. Убедитесь, что оба крепления ISOFIX
надежно зафиксированы.
4. Проверяйте надежность крепления детского кресла каж-
дый раз, когда вы собираетесь перевозить в нем ребенка.
