Вытяжки Faber ARKEA EVO PLUS - инструкция пользователя по применению, эксплуатации и установке на русском языке. Мы надеемся, она поможет вам решить возникшие у вас вопросы при эксплуатации техники.
Если остались вопросы, задайте их в комментариях после инструкции.
"Загружаем инструкцию", означает, что нужно подождать пока файл загрузится и можно будет его читать онлайн. Некоторые инструкции очень большие и время их появления зависит от вашей скорости интернета.

EN
1
8
18
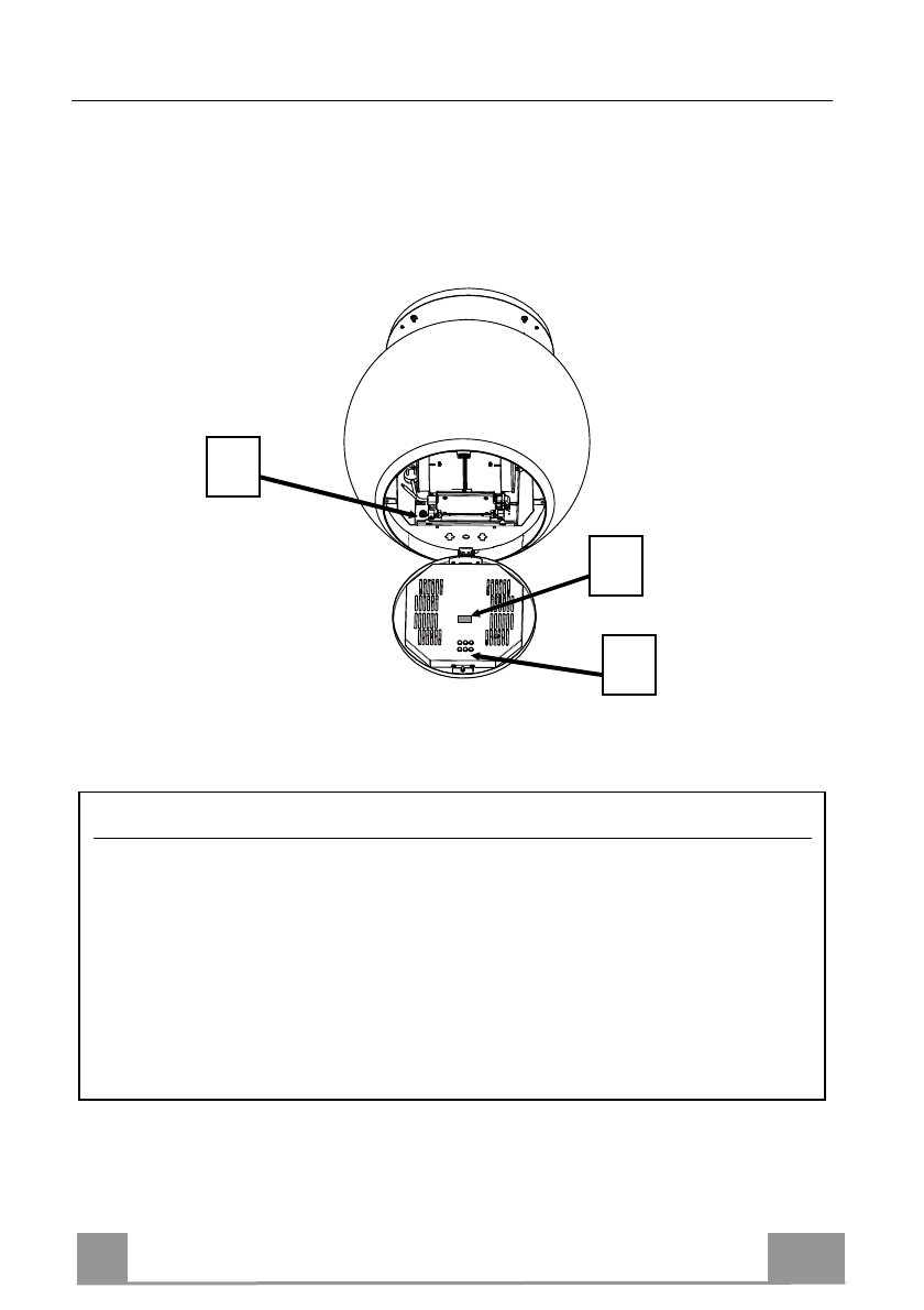
Additional information for the installation technician
Hood canopy lighting
It is possible to adjust the colour and intensity of the hood canopy lighting
• Open the lighting unit by pulling on the notch provided.
• Adjust the lighting, using the buttons on button pad B, following the indications provided on
the label
C
Procedure to be used in case of malfunction on the movement
1.
Check that the fuse is properly inserted and that it has not burned out, for
replacing the fuse open the lighting unit and unscrew the fuser holder and
replace it with one having the same characteristics (Rif.A)
2.
Check that the hood canopy is fitted level.
3.
Check that the four cables are all at the same tension.
If even these operations do not solve the problem contact the Technical Assistance.
A
B
C
Содержание
- 84 RU; СОВЕТЫ И РЕКОМЕНДАЦИИ; УСТАНОВКА; • Безопасное расстояние между варочной панелью и
- 85 Предупреждение; ЭКСПЛУАТАЦИЯ
- 86 ВНИМАНИЕ; УХОД
- 87 ХАРАКТЕРИСТИКИ; Габариты
- 88 Последовательность операций по установке; Подготовка к установке монтажной плиты
- 89 Отверстия в потолке/полке и крепление плиты; ПОДГОТОВКА ОТВЕРСТИЙ В ПОТОЛКЕ/ПОЛКЕ
- 90 КРЕПЛЕНИЕ ПЛИТЫ
- 91 СОЕДИНЕНИЕ ПРОВОДОВ ВЫТЯЖКА - ПЛИТА
- 94 КРЕПЛЕНИЕ КАБЕЛЯ ПИТАНИЯ
- 95 Панель управления
- 96 ПУЛЬТ ДИСТАНЦИОННОГО УПРАВЛЕНИЯ
- 97 Металлический жировой фильтр; ОЧИСТКА МЕТАЛЛИЧЕСКОГО ЖИРОВОГО ФИЛЬТРА; Фильтры против запахов на активированном угле; ЗАМЕНА; Освещение
- 98 Дополнительные указания для монтажника; Операции
- 99 Регулировка освещения корпуса вытяжки
Характеристики
Остались вопросы?Не нашли свой ответ в руководстве или возникли другие проблемы? Задайте свой вопрос в форме ниже с подробным описанием вашей ситуации, чтобы другие люди и специалисты смогли дать на него ответ. Если вы знаете как решить проблему другого человека, пожалуйста, подскажите ему :)