Вытяжки Electrolux LFG525K - инструкция пользователя по применению, эксплуатации и установке на русском языке. Мы надеемся, она поможет вам решить возникшие у вас вопросы при эксплуатации техники.
Если остались вопросы, задайте их в комментариях после инструкции.
"Загружаем инструкцию", означает, что нужно подождать пока файл загрузится и можно будет его читать онлайн. Некоторые инструкции очень большие и время их появления зависит от вашей скорости интернета.

98 www.electrolux.com
4. STEROWANIE
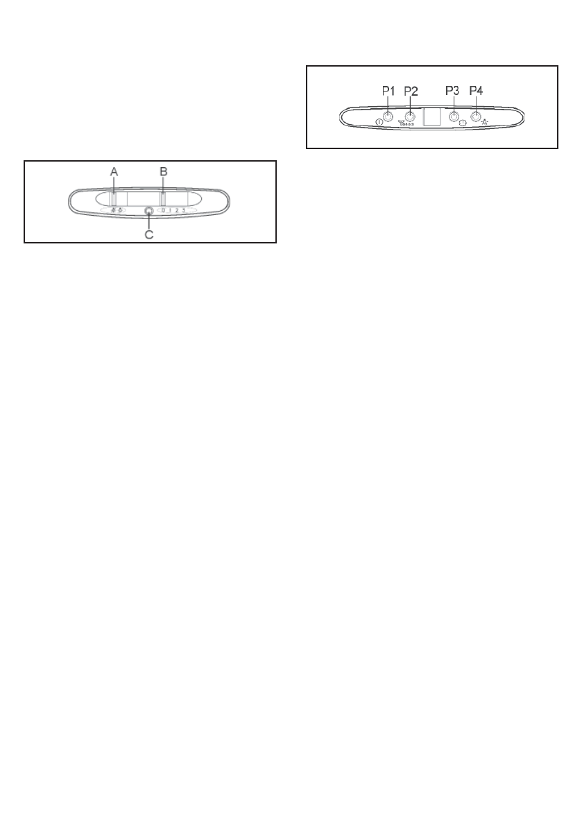
Modele LFG525S, LFG525W, LFG525K:
Prze
łą
cznik A:
Ś
WIAT
Ł
O; pozycja 0:
ś
wiat
ł
o
wy
łą
czone; pozycja 1:
ś
wiat
ł
o w
łą
czone.
Prze
łą
cznik B: PR
Ę
DKO
ŚĆ
SILNIKA:
umo
ż
liwia wybór pr
ę
dko
ś
ci pracy silnika;
pozycja 0: silnik wy
łą
czony.
C: Silnik si
ę
ś
wieci.
Modele LFG517X, LFG615X, LFG615W:
Przycisk P1: prze
łą
cznik W
łą
cz/Wy
łą
cz
pierwsza pr
ę
dko
ść
silnika.
Przycisk P2 (Modele LFG615X, LFG615W):
Zmie
ń
pr
ę
dko
ść
silnika (1-2-3-P-1-2-3-P….).
Przy czwartej pr
ę
dko
ś
ci litera na wy
ś
wietl-
aczu “P” przychodzi (Przyspieszacz).
Czwarta pr
ę
dko
ść
pozostaje aktywna przez
5 minut, a nast
ę
pnie spada z powrotem do
trzeciej.
Przycisk P2 (Model LFG517X): Zmie
ń
pr
ę
d-
ko
ść
silnika (1-2-3-4-1-2-3-4….).
Przycisk P3: Minutnik. Aktywuj i deza-
ktywuj minutnik (5 minut). Je
ś
li minutnik
jest aktywny, miga numer odpowiadaj
ą
cy
pr
ę
dko
ś
ci.
Przycisk P4:
Ś
wiat
ł
a. Zapala/gasi
ś
wiat
ł
a.
Przycisk P1 + P4: Reset Alarmu Filtra. Gdy
wy
ś
wietlacz pokazuje migaj
ą
c
ą
liter
ę
“F”,
wówczas nale
ż
y wyczy
ś
ci
ć
fi
ltry t
ł
uszczu (40
godzin dzia
ł
ania). Gdy wy
ś
wietlacz poka-
zuje migaj
ą
c
ą
liter
ę
“C”, wówczas nale
ż
y
wymieni
ć
fi
ltry w
ę
gla drzewnego (160 godzin
dzia
ł
ania) i wyczy
ś
ci
ć
fi
ltry t
ł
uszczu.
Oczywi
ś
cie, je
ś
li okap nie jest modelem
fi
ltruj
ą
cym i nie posiada
fi
ltrów w
ę
gla dr-
zewnego, nale
ż
y wyczy
ś
ci
ć
fi
ltry t
ł
uszczu
zarówno gdy wy
ś
wietli si
ę
litera “F” jak i litera
“C”. Alarm
fi
ltra jest widoczny, kiedy silnik
jest wy
łą
czony i przez oko
ł
o 30 sekund. Aby
ZRESETOWA
Ć
licznik godzin, nale
ż
y przytr-
5. O
Ś
WIETLENIE
Je
ś
li re
fl
ektor zosta
ł
uszkodzony, mo
ż
e zo-
sta
ć
wymieniony wy
łą
cznie przez producenta,
jego serwisanta lub osob
ę
o podobnych kwali-
fi
kacjach w celu unikni
ę
cia zagro
ż
enia.
zyma
ć
jednocze
ś
nie przyciski P1 i P4 przez 2
sekundy podczas wy
ś
wietlania alarmu.
Характеристики
Остались вопросы?Не нашли свой ответ в руководстве или возникли другие проблемы? Задайте свой вопрос в форме ниже с подробным описанием вашей ситуации, чтобы другие люди и специалисты смогли дать на него ответ. Если вы знаете как решить проблему другого человека, пожалуйста, подскажите ему :)












