Вытяжки Electrolux LFG525K - инструкция пользователя по применению, эксплуатации и установке на русском языке. Мы надеемся, она поможет вам решить возникшие у вас вопросы при эксплуатации техники.
Если остались вопросы, задайте их в комментариях после инструкции.
"Загружаем инструкцию", означает, что нужно подождать пока файл загрузится и можно будет его читать онлайн. Некоторые инструкции очень большие и время их появления зависит от вашей скорости интернета.

10 www.electrolux.com
4. BEDIENELEMENTE
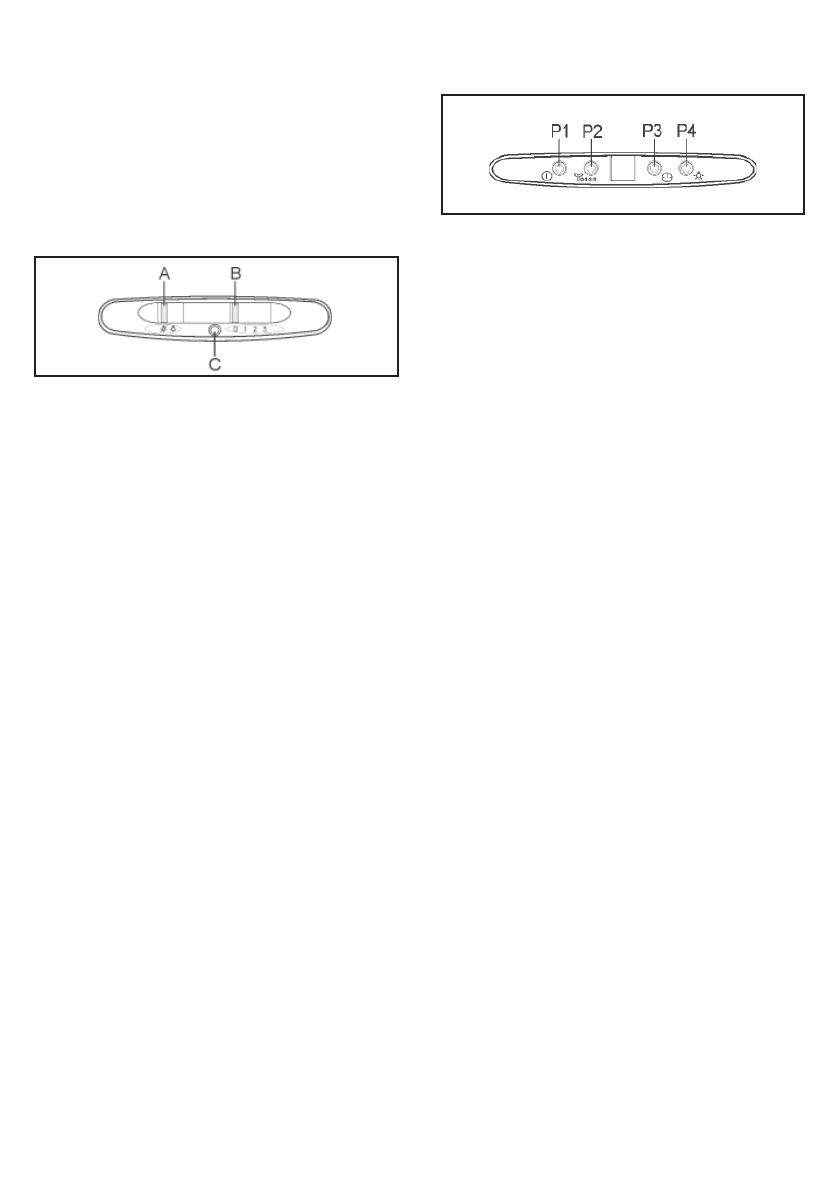
Modelle LFG525S, LFG525W, LFG525K:
A-Umschalter: LICHT: Stellung 0: Licht aus;
Stellung 1: Licht ein.
B-Umschalter: MOTORGESCHINDIGKEIT:
ermöglicht die Geschwindigkeitsauswahl des
Motorbetriebs; Stellung 0: Motor ausgeschal-
tet.
C: Der Motor leuchtet.
Modelle LFG517X, LFG615X, LFG615W:
P1-Taste: Umschalter Die erste Motorge-
schwindigkeit Ein/Aus.
P2-Taste (Modelle LFG615X, LFG615W):
Motorgeschwindigkeit ändern (1-2-3-P-1-
2-3-P….). Bei der vierten Geschwindigkeit
leuchtet der Buchstabe “P“ auf der Anzeige
(Beschleuniger). Die vierte Geschwindigkeit
bleibt 5 Minuten lang aktiv, dann geht auf die
dritte zurück.
P2-Taste (Model LFG517X): Motorgeschwin-
digkeit ändern (1-2-3-4-1-2-3-4….).
P3-Taste: Minutenzeiger. Aktivieren und
deaktivieren den Minutenzeiger (5 Minuten).
Ist der Minutenzeiger aktiv, blinkt die der
Geschwindigkeit entsprechende Zahl.
P4-Taste: Lichter. Schaltet die Lichter ein/
aus.
P1- + P4-Taste: Filteralarm zurücksetzen.
Zeigt die Anzeige den blinkenden Buch-
staben „F“ an, sind dann die Fett
fi
lter (40
Stunden des Betriebs) zu reinigen. Zeigt die
Anzeige den blinkenden Buchstaben „C“ an,
sind dann die Holzkohle
fi
lter (160 Stunden
des Betriebs) zu wechseln und die Fett
fi
lter
zu reinigen.
Natürlich, wenn die Haube kein Filtermodell
ist und wenn sie keine Holzkohle
fi
lter hat,
sind die Fett
fi
lter zu reinigen, wenn sowohl
der Buchstabe “F” als auch “C“ angezeigt
wird. Der Filteralarm ist sichtbar, wenn der
Motor ausgeschaltet ist und zirka 30 Sekun-
den lang. Um den Stundenzähler ZURÜCKZ-
USETZEN, sind die Tasten P1 und P4 glei-
chzeitig 2 Sekunden lang beim angezeigten
Alarm zu drücken.
5. BELEUCHTUNG
Wurde der Scheinwerfer beschädigt, kann
er ausschließlich durch den Hersteller, sein
Servicedienst bzw. eine Person mit gleichen
Quali
fi
kationen gewechselt werden, um die
Gefahr zu vermeiden.
Характеристики
Остались вопросы?Не нашли свой ответ в руководстве или возникли другие проблемы? Задайте свой вопрос в форме ниже с подробным описанием вашей ситуации, чтобы другие люди и специалисты смогли дать на него ответ. Если вы знаете как решить проблему другого человека, пожалуйста, подскажите ему :)












