Вытяжки Electrolux LFG525K - инструкция пользователя по применению, эксплуатации и установке на русском языке. Мы надеемся, она поможет вам решить возникшие у вас вопросы при эксплуатации техники.
Если остались вопросы, задайте их в комментариях после инструкции.
"Загружаем инструкцию", означает, что нужно подождать пока файл загрузится и можно будет его читать онлайн. Некоторые инструкции очень большие и время их появления зависит от вашей скорости интернета.

126 www.electrolux.com
5 .
Ж А Р Ы Қ Т А Н Д Ы Р У
ҚҰРАЛЫ
Егер
шағылысушы
зақымдалған
болса
,
оны
тек
өндіруші
,
оның
қызмет
көрсету
агенті
немесе
қауіпті
болдырмау
үшін
бірдей
дағдыға
ие
адам
ауыстыруы
керек
.
4.
БАСҚАРУ
ЭЛЕМЕНТТЕРІ
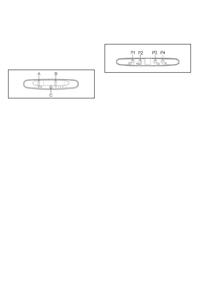
Моделі
LFG525S, LFG525W, LFG525K:
А
ауыстырғышы
:
ЖАРЫҚТАУ
; 0
қалпы
:
жарықтау
өшірулі
; 1
қалпы
:
жарықтау
қосулы
.
В
ауыстырғышы
:
ҚОЗҒАЛТҚЫШТЫҢ
ЖЫЛДАМДЫҒЫ
:
қозғалтқыштың
жылдамдығын
таңдауға
мүмкіндік
береді
; 0
қалпы
:
қозғалтқыш
өшірулі
.
C:
Қозғалтқыш
жанып
тұр
.
Моделі
LFG517X, LFG615X, LFG615W:
Р
1
пернесі
:
Қосу
/
Өшіру
ауыстырғышы
қозғалтқыштың
бірінші
жылдамдығы
.
Р
2
пернесі
(
Моделі
LFG615X, LFG615W):
Қозғалтқыштың
жылдамдығын
өзгертіңіз
(1-2-3-P-1-2-3-P….).
Төртінші
жылдамдықта
индикатордағы
“P”
əрпі
пайда
болады
(
Үдеткіш
).
Төртінші
жылдамдық
5
минут
бойы
белсенді
болып
қалады
,
содан
кейін
үшіншіге
оралу
ісі
орындалады
.
Р
2
пернесі
(
Моделі
LFG517X):
Қозғалтқыштың
жылдамдығын
өзгертіңіз
(1-2-3-P-1-2-3-P….).
Р
3
пернесі
:
Таймер
.
Таймерді
белсендіретіңіз
жəне
кері
доғарыңыз
(5
минут
).
Егер
таймер
белсенді
болатын
болса
,
онда
жылдамдыққа
сай
келетін
саны
жыпылықтай
бастайды
.
Р
4
пернесі
:
Жарықтау
.
Жарықтауды
қосады
/
Өшіреді
.
Р
1 +
Р
4
пернесі
:
Сүзгінің
Дабылдау
Сигналын
Доғару
.
Егер
индикаторда
“F”
жыпылықтап
тұратын
əріп
пайда
болса
,
онда
майлы
сүзгілерді
тазалау
керек
болады
(40
сағаттық
жұмыс
).
Егер
индикаторда
“
С
”
жыпылықтап
тұратын
əріп
пайда
болса
,
онда
ағаш
көміріндегі
сүзгілерді
айырбастап
,
майдан
тазалау
керек
болады
(160
сағаттық
жұмыс
).
Əрине
,
егер
сорғыш
сүзгі
моделі
болмаса
жəне
көмірде
сүзгілер
болмаса
,
онда
«F»
əрпін
жəне
«
С
»
əрпін
көрсете
отырып
,
май
сүзгісін
тазалау
керек
.
Сүзгі
дабылы
қозғалтқыш
өшірілген
кезде
шамамен
30
секунд
көрсетіледі
.
Сағаттық
есептегішін
ЖОЮ
үшін
, P1
жəне
P4
түймелерін
дабыл
көрсетіліп
тұрғанда
2
секунд
қатар
ұстап
тұру
керек
.
Характеристики
Остались вопросы?Не нашли свой ответ в руководстве или возникли другие проблемы? Задайте свой вопрос в форме ниже с подробным описанием вашей ситуации, чтобы другие люди и специалисты смогли дать на него ответ. Если вы знаете как решить проблему другого человека, пожалуйста, подскажите ему :)












