Вытяжки Electrolux LFG525K - инструкция пользователя по применению, эксплуатации и установке на русском языке. Мы надеемся, она поможет вам решить возникшие у вас вопросы при эксплуатации техники.
Если остались вопросы, задайте их в комментариях после инструкции.
"Загружаем инструкцию", означает, что нужно подождать пока файл загрузится и можно будет его читать онлайн. Некоторые инструкции очень большие и время их появления зависит от вашей скорости интернета.

15
FRANÇAIS
4. COMMANDES
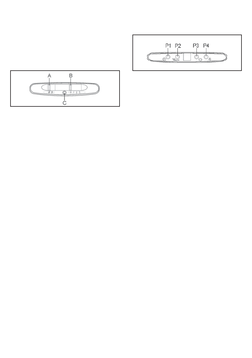
Modèles LFG525S, LFG525W, LFG525K:
Commutateur A: LUMIÈRE; position 0: lu-
mière éteinte; position 1: lumière allumée.
Interrupteur B: RÉGIME MOTEUR: permet de
sélectionner la vitesse du moteur; position 0:
moteur éteint.
C: Le moteur est allumé.
Modèles LFG517X, LFG615X, LFG615W:
Bouton P1: commutateur Allumer/Eteindre
premier régime moteur.
Bouton P2 (Modèles LFG615X, LFG615W):
Modi
fi
er la vitesse du moteur (1-2-3-P-1-2-
3-P....). A la quatrième vitesse, la lettre « P
» s’allume sur l’af
fi
cheur (Accélérateur). La
quatrième vitesse reste active pendant 5
minutes puis redescend à la troisième.
Bouton P2 (Modèle LFG517X): Modi
fi
er la
vitesse du moteur (1-2-3-4-1-2-3-4 ....).
Bouton P3: Minuterie. Activer et désactiver
la minuterie (5 minutes). Si la minuterie est
active, le numéro correspondant à la vitesse
clignote.
Bouton P4: Lumières. Allume/éteint les
lumières.
Bouton P1 + P4: Réinitialise l’alarme du
fi
ltre.
Lorsque l’af
fi
cheur af
fi
che un «F» clignotant,
vous devez nettoyer les
fi
ltres à graisse (40
heures de fonctionnement). Lorsque l’af
fi
-
cheur af
fi
che un «C» clignotant, vous devez
remplacer les
fi
ltres à charbon de bois (160
heures de fonctionnement) et nettoyer les
fi
ltres à graisse.
Bien sûr, si la hotte n’est pas un modèle
fi
ltrant et n’a pas de
fi
ltres à charbon de bois,
il faut nettoyer les
fi
ltres à graisse lorsque la
lettre «F» et la lettre «C» sont af
fi
chées. L’a-
larme du
fi
ltre est visible lorsque le moteur est
éteint et pendant 30 secondes environ. Pour
RÉINITIALISER le compteur des heures,
appuyez simultanément sur les boutons P1 et
P4 pendant 2 secondes pendant que l’alarme
est af
fi
chée.
5. ÉCLAIRAGE
Si le projecteur a été endommagé, il ne peut
être remplacé que par le fabricant, son tech-
nicien de maintenance ou une personne de
quali
fi
cation similaire a
fi
n d’éviter tout danger.
Характеристики
Остались вопросы?Не нашли свой ответ в руководстве или возникли другие проблемы? Задайте свой вопрос в форме ниже с подробным описанием вашей ситуации, чтобы другие люди и специалисты смогли дать на него ответ. Если вы знаете как решить проблему другого человека, пожалуйста, подскажите ему :)












