Вытяжки Electrolux LFG525K - инструкция пользователя по применению, эксплуатации и установке на русском языке. Мы надеемся, она поможет вам решить возникшие у вас вопросы при эксплуатации техники.
Если остались вопросы, задайте их в комментариях после инструкции.
"Загружаем инструкцию", означает, что нужно подождать пока файл загрузится и можно будет его читать онлайн. Некоторые инструкции очень большие и время их появления зависит от вашей скорости интернета.

30 www.electrolux.com
4. COMANDOS
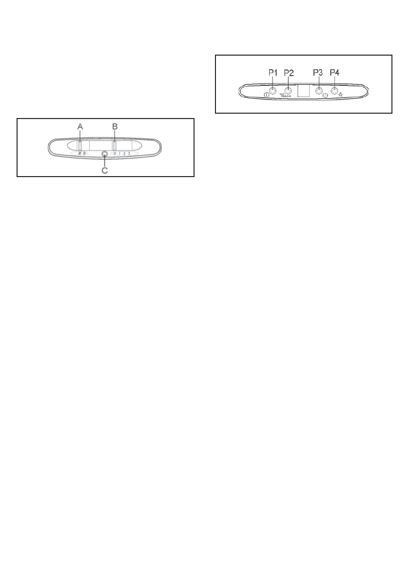
Modelos LFG525S, LFG525W, LFG525K:
Interruptor A: LUZ; posição 0: luz desligada;
posição 1: luz ligada;
Interruptor B: VELOCIDADE DO MOTOR:
permite seleccionar a velocidade do motor;
posição 0: motor desligado.
C: A luz do motor acesa
Modelos LFG517X, LFG615X, LFG615W:
Botão P1: interruptor Ligar / Desligar primeira
velocidade do motor.
Botão P2 (Models LFG615X, LFG615W):
Alterar a velocidade do motor (1-2-3-P-1-2-
3-P....). Na quarta velocidade, no visor, vem
em frente a letra “P” (Acelerador). A quarta
velocidade permanece activa por 5 minutos e,
depois, volta para a terceira velocidade.
Botão P2 (Modelo LFG517X): Alterar a veloci-
dade do motor (1-2-3-4-1-2-3-4....).
Botão P3: Temporizador. Activar e Desactivar
o Temporizador (5 minutos). Com o tempo-
rizador activado, pisca o número correspon-
dente à velocidade.
Botão P4: Luzes. Ligar / desligar as luzes.
Botão P1 + P4: Reinicialização do alarme do
fi
ltro. Sempre que no visor aparece a letra
“F” a piscar, devem limpar-se os
fi
ltros de
gordura (40 horas de operação). Sempre que
no visor aparece a letra “C” a piscar, devem
substituir-se os
fi
ltros de carvão (160 horas
de operação), assim como, devem limpar-se
os
fi
ltros de gordura.
No caso do modelo não
fi
ltrante, o depurador
não possui
fi
ltros de carvão. Neste caso, ao
aparecerem no visor as letras “F” ou “C”, de-
vem limpar-se os
fi
ltros de gordura. O alarme
do
fi
ltro
fi
ca visível quando o motor está desli-
gado ainda por cerca de 30 segundos. Para
REINICIAR o contador de horas, os botões
5. ILUMINAÇÃO
No caso de dani
fi
cação do re
fl
ector, para
evitar o perigo, o mesmo deve ser substi-
tuído pelo fabricante, seu técnico de serviço
ou uma pessoa bem quali
fi
cada.
P1 e P4 devem ser pressionados simulta-
neamente durante 2 segundos enquanto o
alarme estiver sendo exibido.
Характеристики
Остались вопросы?Не нашли свой ответ в руководстве или возникли другие проблемы? Задайте свой вопрос в форме ниже с подробным описанием вашей ситуации, чтобы другие люди и специалисты смогли дать на него ответ. Если вы знаете как решить проблему другого человека, пожалуйста, подскажите ему :)












