Вытяжки Electrolux LFG525K - инструкция пользователя по применению, эксплуатации и установке на русском языке. Мы надеемся, она поможет вам решить возникшие у вас вопросы при эксплуатации техники.
Если остались вопросы, задайте их в комментариях после инструкции.
"Загружаем инструкцию", означает, что нужно подождать пока файл загрузится и можно будет его читать онлайн. Некоторые инструкции очень большие и время их появления зависит от вашей скорости интернета.

20 www.electrolux.com
4. BEDIENINGEN
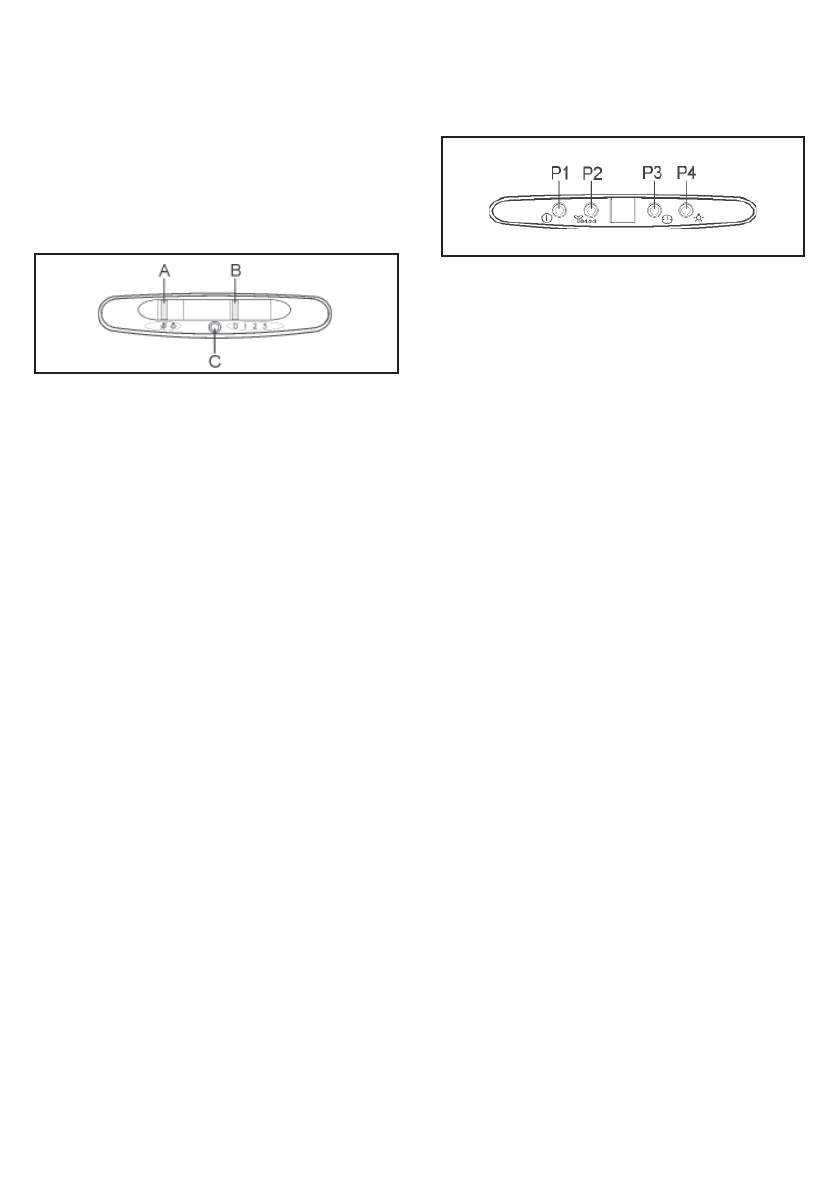
Modellen LFG525S, LFG525W, LFG525K:
Schakelaar A: VERLICHTING; stand 0: lam-
pje uit; stand 1: lampje aan.
Schakelaar B: MOTORSNELHEID: hiermee
is het mogelijk om de werkingssnelheden van
de motor te regelen; stand 0: motor staat stil.
C: Controlelampje dat aangeeft dat de motor
in werking is.
Modellen LFG517X, LFG615X, LFG615W:
Toets P1: eerste motorsnelheid AAN/UIT
schakelaar.
Toets P2 (Modellen LFG615X, LFG615W):
Motorsnelheid veranderen (1-2-3-P-1-2-
3-P….). Bij de 4de snelheid komt op de letter
“P” op het display (Boosterstand). De boo-
sterstand zal na 5 minuten automatisch naar
vermogensstand 3 terugschakelen.
Toets P2 (Model LFG517X): Motorsnelheid
veranderen (1-2-3-4-1-2-3-4….).
Toets P3: Timer. Timer inschakelen en
uitschakelen (5 minuten). Als de timer is inge-
schakeld, zal op het display het nummer van
de gekozen snelheid knipperen.
Toets P4: Verlichting Schakelt de verlichting
aan/uit.
Toets P1 + P4: Reset van het
fi
lteralarm. Als
het
fi
lteralarm verschijnt (d.w.z. als er een let-
ter “F” op het display begint te knipperen) dan
moeten de vet
fi
lters gereinigd worden (er zijn
40 werkingsuren verstreken). Als er een letter
“C” op het display begint te knipperen, dan
moeten de koolstof
fi
lters vervangen worden
(er zijn 120 werkingsuren verstreken).
Als de afzuigkap niet in de
fi
lterversie is en er
geen koolstof
fi
lters aanwezig zijn, dan moeten
alleen de vet
fi
lters worden gereinigd; dit
geldt zowel indien de letter “C” als indien de
letter “F” op het display begint te knipperen.
Het
fi
lteralarm verschijnt wanneer de motor
uitgeschakeld is en is ongeveer 30 seconden
zichtbaar. Het
fi
lteralarm wordt teruggesteld
(reset van de urenteller) door de toetsen P1
en P4 tegelijkertijd gedurende 2 seconden
ingedrukt te houden terwijl het alarm zichtba-
ar is.
5. VERLICHTING
Als de verlichting kapot is, hoort deze vervan-
gen te worden door de fabrikant, een erkende
technische dienst of een persoon met ver-
gelijkbare kwali
fi
caties, teneinde gevaarlijke
situaties te voorkomen.
Характеристики
Остались вопросы?Не нашли свой ответ в руководстве или возникли другие проблемы? Задайте свой вопрос в форме ниже с подробным описанием вашей ситуации, чтобы другие люди и специалисты смогли дать на него ответ. Если вы знаете как решить проблему другого человека, пожалуйста, подскажите ему :)












