Водонагреватели Vaillant MAG 14 0 RXZ 311392 - инструкция пользователя по применению, эксплуатации и установке на русском языке. Мы надеемся, она поможет вам решить возникшие у вас вопросы при эксплуатации техники.
Если остались вопросы, задайте их в комментариях после инструкции.
"Загружаем инструкцию", означает, что нужно подождать пока файл загрузится и можно будет его читать онлайн. Некоторые инструкции очень большие и время их появления зависит от вашей скорости интернета.

3
Руководство по монтажу
atmoMAG
Данный тип аппарата прошел соответствующие
испытания на территории Молдовы и соответствует
требованиям ГОСТ.
Данный аппарат имеет также разрешение
государственного отдела по техническому
согласованию на применение на территории Молдовы.
Данный тип аппарата прошел соответствующие
испытания на территории Беларуси и соответствует
требованиям ГОСТ и имеет сертификат соответствия.
Данный аппарат имеет также разрешение от
ПРОМАТОМНАДЗОРа на применение на территории
республики Беларусь.
2.3
Использование по назначению
Газовые проточные водонагреватели серии atmoMAG
сконструированы и изготовлены по последнему слову техники и
технологии с учетом общепризнанных правил техники
безопасности. Тем не менее, при неправильном использовании
или использовании не по назначению может возникать
опасность для здоровья и жизни пользователя или третьих лиц и
опасность разрушения устройств и других материальных
ценностей.
Газовые проточные водонагреватели предназначены специально
для нагрева воды на бытовые нужды. Любое иное или выходящее
за рамки указанного использование считается использованием
не по назначению. За вызванный этим ущерб изготовитель/
поставщик не несет никакой ответственности. Весь риск несет
пользователь.
К использованию по назначению относится также соблюдение
руководства по эксплуатации и монтажу, а также всей другой
действующей документации, и соблюдение условий выполнения
осмотров и технического обслуживания.
Внимание!
Любое недозволенное использование запрещено.
Монтаж газового проточного водонагревателя должен быть
выполнен квалифицированным специалистом, который несет
ответственность за выполнение существующих правил,
предписаний и нормативных актов.
2.4 Соединительные
патрубки
Соединительные патрубки устройства:
– Вода 3/4"
– Для природного газа (штуцер регулятора давления)
•EПосле определения места расположения устройства Вы
должны подести водо- и газопровод к соединительным
патрубкам устройства.
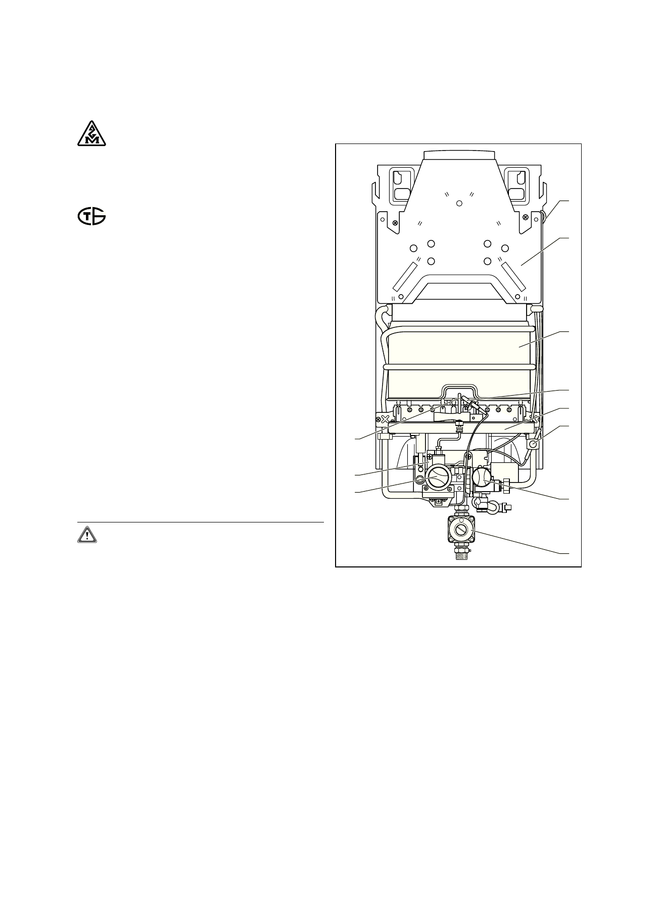
2.5 Узлы
2
3
4
5
7
9
10
11
1
6
8
Рис. 2.1 Узлы водонагревателя atmoMAG 14 0/0 типа RXZ
Пояснение к рис. 2.1
1 Датчик опрокидывания тяги
2 Предохранитель тяги
3 Теплообменник
4 Электрод розжига
5 Горелка
6 Тепловой предохранитель
7 Терморегулятор
8 Регулятор давления газа
9 Регулятор мощности
10 Газовая арматура
11 Запальная горелка
Описание устройства 2
Содержание
- 3 Для пользователя; Оглавление
- 4 – Применение смесителей с терморегуляторами и; Указания; документации; Общая информация
- 5 устройства; Техника; Поведение в экстренном случае
- 6 – Не нарушайте целостность и не срывайте пломбы; Указания по монтажу и эксплуатации; Заводская гарантия и ответственность; Техника безопасности 2
- 7 Любое недозволенное использование запрещено.; Указания по монтажу и эксплуатации
- 8 Сознательное отношение к воде; Эксплуатация; Обзор органов управления; Указания по монтажу и эксплуатации 3
- 9 работе
- 10 неисправностей; Эксплуатация 4
- 11 Защита от замерзания
- 12 Для мастеров-наладчиков; Указания по технике безопасности и
- 13 • Символ необходимости выполнения какого-либо действия.; Описание; • Обязательно обозначьте тип устройства и вид газа, с которым
- 14 Использование по назначению; Описание устройства 2
- 15 Указания по технике безопасности и; Указания по технике безопасности
- 16 Монтаж; поставки; Указания по технике безопасности и предписания 3
- 17 Монтаж регулятора давления газа
- 18 Монтаж 4
- 20 Подключениег; газопроводу; Подключениег 5
- 21 Ввод; Проверка настроек газовой арматуры; Объемный метод; Ввод в эксплуатацию
- 22 Контроль давления на соплах; Ввод в эксплуатацию 6
- 23 Таблицы настройки газовой арматуры; Контроль функционирования устройства
- 24 Осмотры и техническое обслуживание; Подготовка к техническому обслуживанию; горелки
- 25 коллектора; Очистка и удаление накипи из теплообменника; Осмотры и техническое обслуживание
- 26 Восстановление повреждений покрытия теплообменника; Осмотры и техническое обслуживание 7
- 27 части; Устранение; Гарантийно-консультационная
- 28 0 Технические данные; Технические данные 10

