Варочная панель Faber GALILEO SMART BK F600 + KIT LL H80 - инструкция пользователя по применению, эксплуатации и установке на русском языке. Мы надеемся, она поможет вам решить возникшие у вас вопросы при эксплуатации техники.
Если остались вопросы, задайте их в комментариях после инструкции.
"Загружаем инструкцию", означает, что нужно подождать пока файл загрузится и можно будет его читать онлайн. Некоторые инструкции очень большие и время их появления зависит от вашей скорости интернета.

Sümboliga
tähistatud materjalid on
taaskasutatavad. Visake pakkematerjal
taastöötluseks sobivasse kogumiskon-
teinerisse.
Energiasääst
Toidu valmistamisel on võimalik ener-
giat igapäevaselt säästa, kui järgida
järgmisi nõuandeid.
• Vee kuumutamisel olgu vett nii palju,
kui seda vaja läheb.
• Võimaluse korral katke anum alati
kaanega.
• Enne kui kuumutusala sisse lülitate,
asetage sellele anum.
• Väiksem anum asetage väiksemale
kuumutusalale.
• Paigutage anum täpselt kuumutusala
keskele.
• Toitude soojas hoidmiseks või nende
sulatamiseks kasutage jääksoojust.
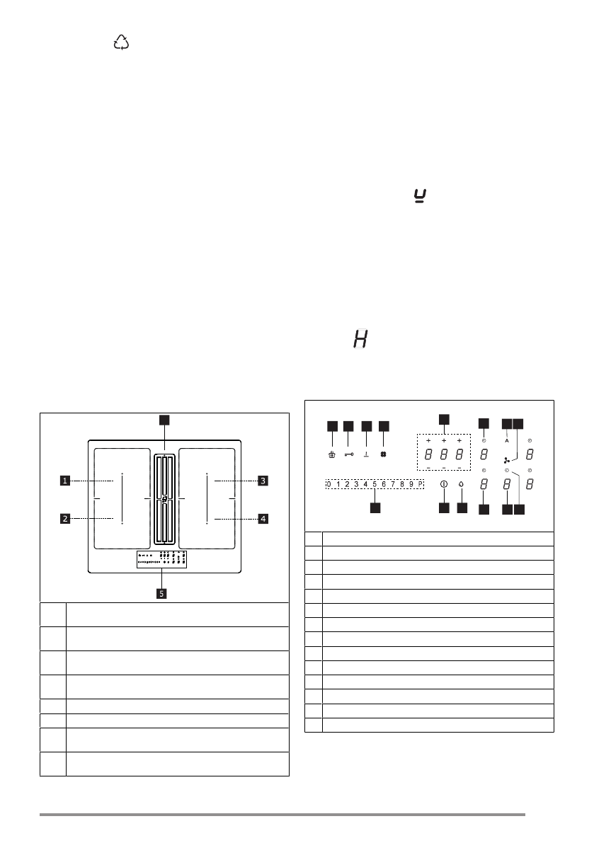
7. TOOTE KIRJELDUS
6
1
Üks kuumutusala (220 x 197 mm) 2100 W, 3000 W
funktsiooniga Booster
2
Üks kuumutusala (220 x 197 mm) 2100 W, 3000 W
funktsiooniga Booster
3
Üks kuumutusala (220 x 197 mm) 2100 W, 3000 W
funktsiooniga Booster
4
Üks kuumutusala (220 x 197 mm) 2100 W, 3000 W
funktsiooniga Booster
5
Juhtpaneel
6
Tõmbevõre
1 + 2
Kombineeritav kuumutusala (220 x 395 mm) 3000
W, 3700 W funktsiooniga Booster
3 + 4
Kombineeritav kuumutusala (220 x 395 mm) 3000
W, 3700 W funktsiooniga Booster
NÄIDIKUD
Panni olemasolu tuvastamine
Iga kuumutusala on varustatud süstee-
miga, mis tuvastab poti olemasolu pliidil.
Tuvastussüsteem suudab ära tunda
magnetiseeritava põhjaga potte, mis so-
bivad kasutamiseks induktsioonplaati-
del.
Kui pann töötamise ajal eemaldatakse
või kasutatakse sobimatut panni, ilmub
ekraanile sümbol .
Jääksoojuse näit
Jääkkuumuse näidik on ohutusfunkt-
sioon, mis näitab, et kuumutusala pind
on endiselt vähemalt 50 °C temperatuu-
ril ning võib seetõttu paljaste kätega
puudutamisel põhjustada põletusi. Vas-
tava kuumutusala näidikul kuvatakse
sümbol
.
8. JUHTPANEEL
1
10
9
8
3
4
5
13
11
12
7
A
2
6
1
Sees/väljas
2
Rasvafiltri küllastumise märguanne
3
Kuumutusala võimsustaseme näidik
4
Tõmbeseadme võimsustaseme näidik
5
Tõmbeseadme taimeri juhtimine
6
Tõmbeseadme juhtala sümbol
7
Kuumutusala taimeri haldamine
8
Taimeri haldamise ala
9
Aktiivsöefiltri küllastumise märguanne
10
Sulatamisfunktsiooni nupp
11
Lukustusfunktsiooni nupp
12
Pausifunktsiooni nupp
13
Liugklaviatuur
A
Automaatfunktsiooni nupp
159
Характеристики
Остались вопросы?Не нашли свой ответ в руководстве или возникли другие проблемы? Задайте свой вопрос в форме ниже с подробным описанием вашей ситуации, чтобы другие люди и специалисты смогли дать на него ответ. Если вы знаете как решить проблему другого человека, пожалуйста, подскажите ему :)