Варочная панель De Dietrich DTG 701 X - инструкция пользователя по применению, эксплуатации и установке на русском языке. Мы надеемся, она поможет вам решить возникшие у вас вопросы при эксплуатации техники.
Если остались вопросы, задайте их в комментариях после инструкции.
"Загружаем инструкцию", означает, что нужно подождать пока файл загрузится и можно будет его читать онлайн. Некоторые инструкции очень большие и время их появления зависит от вашей скорости интернета.

18
2 / UTILISATION DE VOTRE APPAREIL
MISE EN MARCHE DES
BRULEURS GAZ
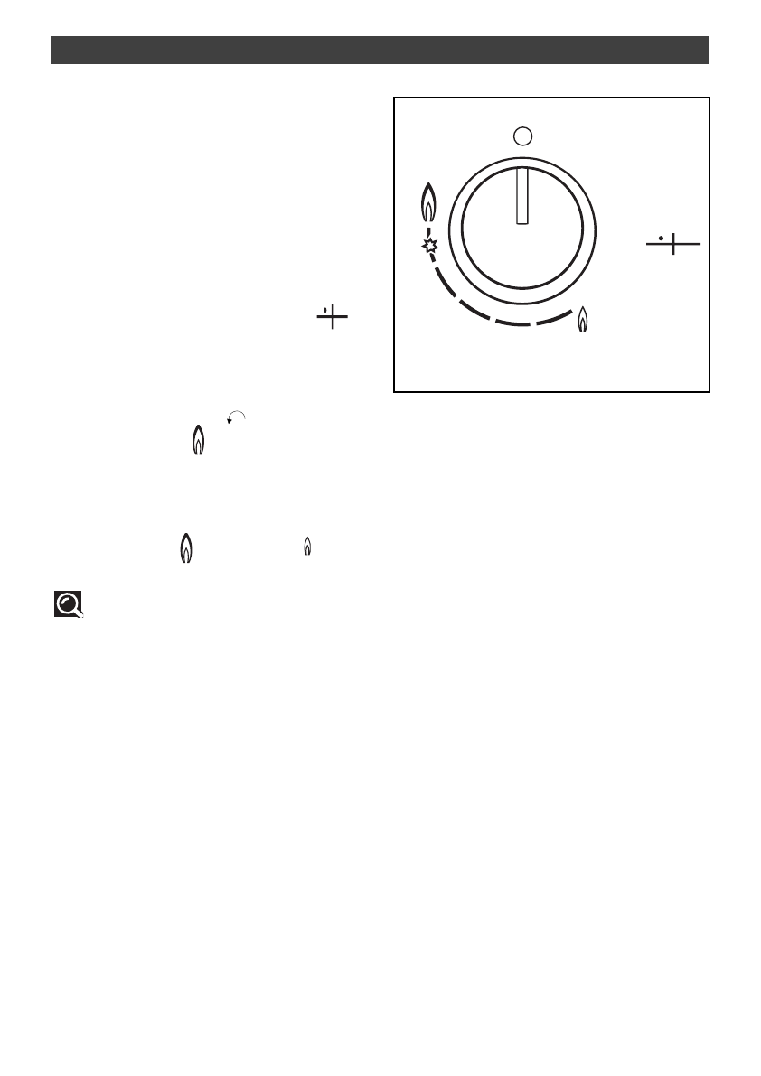
Chaque brûleur est alimenté par un robinet,
dont l’ouverture se fait en appuyant et en
tournant dans le sens inverse des aiguilles
d’une montre.
Le point “
●
” correspond à la fermeture du
robinet.
—
— Choisissez le brûleur désiré en vous
repérant aux symboles situés près des
manettes (ex. : brûleur arrière gauche
).
Votre table est munie d’un allumage des
brûleurs intégré aux manettes.
—
— Pour allumer un brûleur, appuyez sur la
manette et tournez dans le sens inverse des
aiguilles d’une montre
jusque vers la
position maximum
.
—
— Maintenez la manette appuyée pour
déclencher une série d’étincelles jusqu’à
l’allumage du brûleur.
Le réglage vers un débit plus réduit s’effectue
entre le symbole
et le symbole .
Conseil
Lorsqu’une manette devient difficile à
tourner, ne forcez pas. Demandez
d’urgence l’intervention de l’installateur.
En cas d’extinction accidentelle de la
flamme, il suffit de réallumer normalement
en suivant les instructions de l’allumage.
•
•
Fig. 01
Характеристики
Остались вопросы?Не нашли свой ответ в руководстве или возникли другие проблемы? Задайте свой вопрос в форме ниже с подробным описанием вашей ситуации, чтобы другие люди и специалисты смогли дать на него ответ. Если вы знаете как решить проблему другого человека, пожалуйста, подскажите ему :)