Сварочное оборудование Сварог TECH ARC 205 B (Z203) - инструкция пользователя по применению, эксплуатации и установке на русском языке. Мы надеемся, она поможет вам решить возникшие у вас вопросы при эксплуатации техники.
Если остались вопросы, задайте их в комментариях после инструкции.
"Загружаем инструкцию", означает, что нужно подождать пока файл загрузится и можно будет его читать онлайн. Некоторые инструкции очень большие и время их появления зависит от вашей скорости интернета.

22
8.1. ПУЛЬТ ДУ
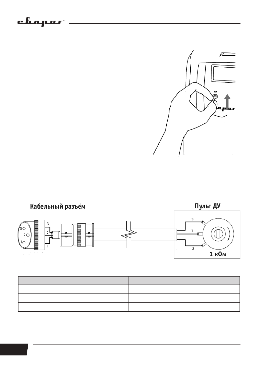
Инверторный сварочный аппарат TECH ARC 205 B
(Z203) позволяет подключить пульт дистанционного
управления (См. рис 8.9).
Пульт дистанционного управления позволяет регу-
лировать силу тока на удалении от сварочного аппа-
рата. Регулировку можно производить как до прове-
дения работ, так и во время сварочного процесса.
Регулировка силы тока во время сварочного про-
цесса применяется при сварке в различных простран-
ственных положениях, с разным зазором, с разной
толщиной свариваемых материалов и для получения
равномерного окончания сварного шва.
Рис. 8.9. Включение пульта ДУ.
8.2. СХЕМА ПОДКЛЮЧЕНИЯ ПУЛЬТА ДУ
Смеху подключения пульта дистанционного управления (См. рис. 8.10).
Рис. 8.10. Схема пульта ДУ.
Номер контакта
Цвет провода
1
Красный
2
Желтый
3
Синий
Содержание
- 5 пользованием оборудования.; ОБРАТИТЬ ВНИМАНИЕ! Особенности, требующие повышенного внимания; в соответствии с принципами безопасности и надежности.; ДЕКЛАРАЦИЯ СООТВЕТСТВИЯ; и ТР ТС 010/2011 «О безопасности машин и оборудования».
- 7 необходимого качества.; Параметры для ММА сварки:; • индикация силы тока
- 8 подзарядки батарей или аккумуляторов, запуска двигателей.; МЕРЫ БЕЗОПАСНОСТИ ПРИ ПРОВЕДЕНИИ СВАРОЧНЫХ РАБОТ
- 9 МЕРЫ БЕЗОПАСНОСТИ ПРИ РАБОТЕ С ГАЗОВЫМИ БАЛЛОНАМИ
- 11 ВНИМАНИЕ! Несмотря на защиту корпуса аппарата от попадания влаги,
- 12 ТЕХНИЧЕСКИЕ ХАРАКТЕРИСТИКИ
- 13 ОПИСАНИЕ ФУНКЦИОНИРОВАНИЯ
- 15 рекомендуется применять при сварке покрытыми электродами на ма-
- 16 поломки оборудования.; Не переносите сварочный аппарат грузоподъёмными механизмами.
- 17 ПОРЯДОК УСТАНОВКИ ОБОРУДОВАНИЯ ОТ СТЕН; ухудшить охлаждение и уменьшить ПН аппарат.; ПОРЯДОК УСТАНОВКИ ОБОРУДОВАНИЯ НА ПОВЕРХНОСТИ; ВНИМАНИЕ! Не превышайте угол наклона в 15° во избежание
- 18 обходимости проведите соответствующую модернизацию.; Подключение сварочного аппарата к электрической сети может
- 19 Наименование; розеток и выход из строя источника питания.
- 23 ПАМЯТКА ПЕРЕД НАЧАЛОМ РАБОТЫ ДЛЯ ММА СВАРКИ
- 24 ОБЩИЕ РЕКОМЕНДАЦИИ ДЛЯ ММА СВАРКИ; Данные рекомендации носят ознакомительный характер.; • касанием электрода впритык и отведением его вверх
- 27 дуги вплоть до частых кратковременных замыканий.
- 30 При сварке на постоянном токе также следует учитывать эффект; электромагнитного; электрододержателя и обратный кабель.; Если необходимо увеличить их длину, увеличивайте также и сечения; пользования кабелей 3 – 5 метровой длины.
- 32 ВЫБОР ПОКРЫТОГО ЭЛЕКТРОДА И РЕЖИМОВ СВАРКИ; ла при сварке в нижнем положении показана в таблице 9.2.
- 33 ПОДГОТОВКА АППАРАТА К РАБОТЕ ДЛЯ СТРОЖКИ; Выставьте необходимое давление воздуха на компрессоре.; ный сварочной дугой, выдувается струей сжатого воздуха.
- 34 ПОДГОТОВКА АППАРАТА ДЛЯ TIG LIFT СВАРКИ
- 37 ПАМЯТКА ПЕРЕД НАЧАЛОМ РАБОТЫ ДЛЯ TIG Lift СВАРКИ
- 38 ОБЩИЕ РЕКОМЕНДАЦИИ ДЛЯ TIG LIFT СВАРКИ; газов не рекомендовано.
- 39 Кабельная вилка не входит в стандартную комплектацию горелки:
- 40 РАСХОДНЫЕ МАТЕРИАЛЫ ДЛЯ СВАРОЧНЫХ ГОРЕЛОК; получить шов необходимого качества.; В таблице представлены наиболее часто используемые позиции.
- 42 ВОЛЬФРАМОВОГО ЭЛЕКТРОДА
- 44 мм
- 46 Способ поджига; касанием; выполняется по аналогии с покрытым электродом. При очень; от сопла горелки; – наиболее простой способ поджига сварочной дуги
- 47 Способ поджига; от присадочного прутка; используется, если предъявляются повышенные
- 48 ОСОБЕННОСТИ ПОЗИЦИОНИРОВАНИЯ СВАРОЧНОЙ ГОРЕЛКИ; При аргонодуговой сварке также следует не забывать про противо-
- 51 ВОЛЬФРАМОВОГО ЭЛЕКТРОДА И РЕЖИМОВ СВАРКИ; составу основного металла.
- 53 Подготовка
- 62 КОНТРОЛЬ КАЧЕСТВА СВАРНОГО СОЕДИНЕНИЯ; собами, не прибегая к лабораторным испытаниям.
- 63 ПРОВЕРКА СОЕДИНЕНИЯ С ПОМОЩЬЮ МАКРОШЛИФОВ; Состав для травления:
- 64 ТЕХНИЧЕСКОЕ ОБСЛУЖИВАНИЕ; сти. Специалисты должны иметь допуски к проведению таких работ.
- 65 УСТРАНЕНИЕ НЕПОЛАДОК; ВНИМАНИЕ! Ремонт данного сварочного оборудования в случае его; Неисправность
- 66 СИМВОЛЫ И СОКРАЩЕНИЯ; Обозначение
- 67 правилами перевозок, действующими на каждом виде транспорта.; «Меры безопасности» данного руководства.
Характеристики
Остались вопросы?Не нашли свой ответ в руководстве или возникли другие проблемы? Задайте свой вопрос в форме ниже с подробным описанием вашей ситуации, чтобы другие люди и специалисты смогли дать на него ответ. Если вы знаете как решить проблему другого человека, пожалуйста, подскажите ему :)