Плита Gorenje HEC50PP - инструкция пользователя по применению, эксплуатации и установке на русском языке. Мы надеемся, она поможет вам решить возникшие у вас вопросы при эксплуатации техники.
Если остались вопросы, задайте их в комментариях после инструкции.
"Загружаем инструкцию", означает, что нужно подождать пока файл загрузится и можно будет его читать онлайн. Некоторые инструкции очень большие и время их появления зависит от вашей скорости интернета.

Руководство
по
эксплуатации
и
подключению
41
Включающие
часы
как
предупреждение
или
минутник
Включающие
часы
можете
применять
также
как
предупреждение
или
минутник
в
случае
,
если
часами
не
управляется
одно
из
мест
варки
.
Установка
предупреждения
или
минутника
Если
плита
выключена
:
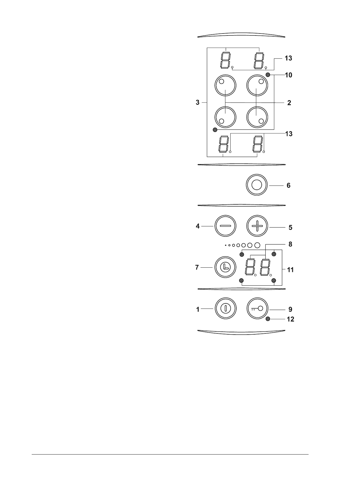
•
Соприкосновением
датчика
для
вкл
./
выкл
.
плиты
(1)
включите
плиту
.
•
Соприкосновением
датчика
для
вкл
./
выкл
.
включающих
часов
(7)
активируйте
часы
.
•
Соприкосновением
датчика
“-“ (4)
или
“+”
(5)
установите
желаемое
время
.
Если
плита
включена
и
места
варки
работают
:
•
После
повторного
соприкосновения
датчика
места
варки
,
которое
обозначено
точкой
(13),
место
варки
не
активное
.
Точка
(13)
угаснет
.
•
Соприкосновением
датчика
для
вкл
./
выкл
.
включающих
часов
(7)
активируйте
часы
.
•
Соприкосновением
датчика
“-“ (4)
или
“+”
(5)
установите
желаемое
время
.
•
Если
желаете
изменить
степень
мощности
соприкосновением
датчика
(2)
снова
активируйте
желаемое
место
варки
.
Угаснет
точка
(13),
показывающая
включающие
часы
.
Выключение
предупреждения
или
минутника
По
истечении
установленного
времени
работы
заслышится
прерывистый
звуковой
сигнал
,
который
можете
выключить
соприкосновением
любового
датчика
или
он
через
2
минуты
сам
выключится
.
Если
желаете
часы
выключить
перед
истечением
установленного
времени
:
•
Соприкасаться
датчик
для
вкл
./
выкл
.
часов
(7).
•
Соприкосновением
датчика
“-“ (4)
время
варения
переключите
на
“00”.
Функция
предупреждения
или
минутника
выключится
.
Одновременным
соприкосновением
датчиков
“-“
и
“+” (4
и
5)
выключатся
включающие
часы
.