Плита Gorenje HEC50PP - инструкция пользователя по применению, эксплуатации и установке на русском языке. Мы надеемся, она поможет вам решить возникшие у вас вопросы при эксплуатации техники.
Если остались вопросы, задайте их в комментариях после инструкции.
"Загружаем инструкцию", означает, что нужно подождать пока файл загрузится и можно будет его читать онлайн. Некоторые инструкции очень большие и время их появления зависит от вашей скорости интернета.

Руководство
по
эксплуатации
и
подключению
40
С
помощью
включающих
часов
можете
установить
время
варения
только
для
одного
выбранного
места
варки
.
Для
более
быстрого
внесения
времени
варения
требуется
непрерывно
соприкасаться
датчик
“-“
или
“+” (4
или
5).
Изменение
установленного
времени
варения
Время
варения
можете
изменять
в
любое
время
в
течение
работы
.
•
Соприкосновением
датчика
для
вкл
./
выкл
.
места
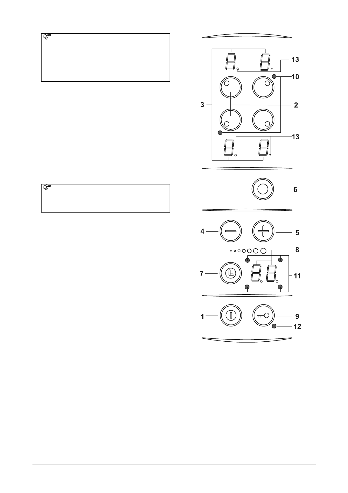
варки
(2)
выберите
желаемое
место
варки
.
Светится
точка
(13).
•
Соприкосновением
датчика
для
вкл
/
выкл
.
часов
(7)
включите
часы
.
•
Соприкосновением
датчика
“-“
или
“+” (4
или
5)
установите
новое
желаемое
время
варения
.
Для
более
быстрого
внесения
времени
варения
требуется
непрерывно
соприкасаться
датчик
“-“
или
“+” (4
или
5).
Остальное
время
варения
Остальное
время
варения
можете
позвать
соприкосновением
датчика
для
вкл
./
выкл
.
места
варки
(2).
Выключение
часов
По
истечении
установленного
времени
работы
заслышится
прерывистый
звуковой
сигнал
,
который
можете
выключить
соприкосновением
любого
датчика
или
через
2
минуты
сам
выключится
.
Если
желаете
часы
выключить
перед
истечением
установленного
времени
:
•
Соприкосновением
датчика
для
вкл
./
выкл
.
мест
варки
(2)
активировать
желаемое
место
варки
.
Светится
точка
(13).
•
Соприкасаться
датчик
для
вкл
./
выкл
.
часов
(7).
•
Соприкосновением
датчика
“-“ (4)
время
варения
переключите
на
“00”.
Функция
включающих
часов
выключится
,
а
место
варки
работает
дальше
,
пока
его
не
выключите
вручную
.
Для
быстрого
выключения
Соприкосновением
датчика
для
вкл
./
выкл
.
мест
варки
(2)
активируйте
желаемое
место
варки
.
Светится
точка
(13).
Одновременным
соприкосновением
датчиков
“-“
и
“+” (4
и
5)
место
варки
выключится
.
На
индикаторе
включающих
часов
(8)
покажется
“00”,
а
на
индикаторе
места
варки
останется
установленная
степень
мощности
.