Плита Electrolux EKC96450AX - инструкция пользователя по применению, эксплуатации и установке на русском языке. Мы надеемся, она поможет вам решить возникшие у вас вопросы при эксплуатации техники.
Если остались вопросы, задайте их в комментариях после инструкции.
"Загружаем инструкцию", означает, что нужно подождать пока файл загрузится и можно будет его читать онлайн. Некоторые инструкции очень большие и время их появления зависит от вашей скорости интернета.

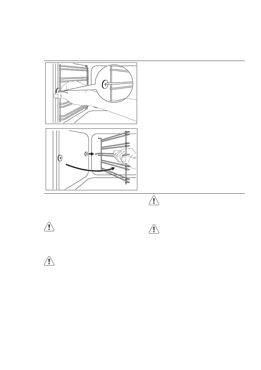
11.1 Держатели решетки
Для очистки боковых стенок духового шкафа
направляющие можно снять.
Снятие направляющих
1.
Потяните переднюю часть направляю‐
щей в сторону, противоположную боко‐
вой стенке.
2
1
2.
Вытяните заднюю часть направляющей
для противня из боковой стенки и сними‐
те ее.
Установка направляющих
Установка направляющих производится в об‐
ратном порядке.
Расположите телескопические на‐
правляющие надлежащим образом:
Удерживающие упоры на телескопи‐
ческих направляющих должны быть
обращены вперед.
ПРЕДУПРЕЖДЕНИЕ!
Убедитесь, что более длинный вы‐
ступ находится спереди. Концы обоих
выступов должны быть направлены
вперед Ошибка при установке может
привести к повреждению эмали.
11.2 Очистка дверцы духового
шкафа
Чтобы облегчить их очистку, снимите дверцу.
ВНИМАНИЕ!
Перед очисткой стеклянных панелей
убедитесь, что они остыли. Стеклян‐
ные панели могут треснуть.
ВНИМАНИЕ!
Стеклянные панели дверцы, имею‐
щие повреждения или царапины, ста‐
новятся хрупкими и могут треснуть.
Во избежание этого их необходимо
заменить. Для получения более под‐
робных указаний обратитесь в мест‐
ный сервисный центр.
РУССКИЙ
29
Содержание
- 4 УКАЗАНИЯ ПО БЕЗОПАСНОСТИ
- 5 Подключение к электросети
- 7 Внутреннее освещение
- 9 ПЕРЕД ПЕРВЫМ ИСПОЛЬЗОВАНИЕМ; Установка времени; ВАРОЧНАЯ ПАНЕЛЬ - ЕЖЕДНЕВНОЕ ИСПОЛЬЗОВАНИЕ
- 10 Использование двойной
- 12 ДУХОВОЙ ШКАФ - ЕЖЕДНЕВНОЕ ИСПОЛЬЗОВАНИЕ; Охлаждающий вентилятор
- 13 Установка принадлежностей для духового шкафа
- 16 Советы по выпечке
- 17 Щадящее приготовление
- 18 Выпекание на одном уровне
- 19 Выпекание на нескольких уровнях
- 20 Традиционное выпекание на одном уровне
- 24 Жарка в режиме «Верхний + нижний нагрев»
- 26 Жарка в режиме «Турбо гриль»
- 32 Место для установки прибора
- 33 Защита от опрокидывания
- 34 Электрическое подключение; ОХРАНА ОКРУЖАЮЩЕЙ СРЕДЫ













