Обогреватели TIMBERK THC WT1 5M - инструкция пользователя по применению, эксплуатации и установке на русском языке. Мы надеемся, она поможет вам решить возникшие у вас вопросы при эксплуатации техники.
Если остались вопросы, задайте их в комментариях после инструкции.
"Загружаем инструкцию", означает, что нужно подождать пока файл загрузится и можно будет его читать онлайн. Некоторые инструкции очень большие и время их появления зависит от вашей скорости интернета.

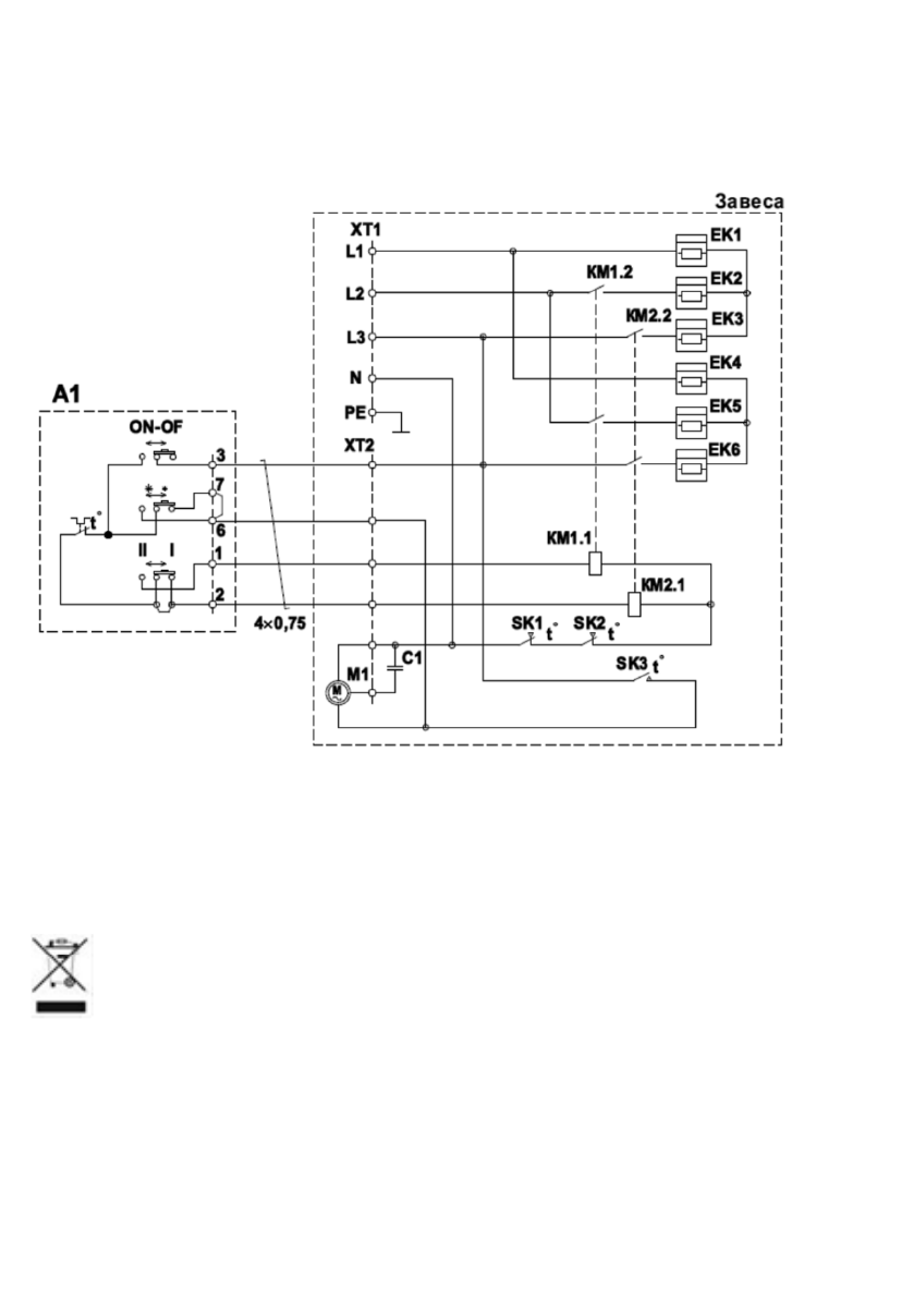
A1
–
remote controller
C1 -
capacitor
EK1... EK6
–
heating elements
KM1/KM2
–
magnetic switches
М1-
fan motor
SK1/SK2/SK3
–
thermal limiters
XT1/XT2
–
terminal blocks
THC WT1 12M, THC WT1 18M, THC WT1 24M
Fig. 8
A1 -
remote controller
C1 -
capacitor
EK1... EK6
–
heating elements
KM1/KM2
–
magnetic switches
М1-
fan motor
SK1/SK2/SK3
–
thermal limiters
XT1/XT2
–
terminal blocks
12. UTILIZATION RULES
After the lifetime of the device expires, it should be recycled in compliance with the
laws, rules and methods in region of recycling. Detailed information about the recycling
of the device, you can receive from a representative of the local authorities, after
providing full information about the device. The manufacturer and authorized
organization of the manufacturer do not carry responsibility for the fulfillment by the
Buyer of the requirements of legislation on utilization and methods of utilization of the device
selected by the Buyer. The lifetime of the device is indicated in the warranty card. Warranty
period for the device and warranty terms are specified in the warranty card. The warranty card is
an integral part of the documentation supplied with this unit. If there is no warranty card in the
delivery set, ask for it from the Seller. The warranty card provided by the Seller must conform to
the manufacturer’s form.
The manufacturer and the authorized organization of the manufact urer remove responsibility for
any possible harm which can be caused to people, animals or property directly or indirectly, if
this harm occurred as a result of noncompliance with the rules and operating conditions,
installation of the device, intentional or reckless actions of the user- and / or third parties, as well
as in situations caused by natural and / or anthropogenic accidents.
Содержание
- 4 Наименование
- 6 Принцип работы тепловой завесы
- 8 Модели THC WT1 6M, THC WT1 9M
- 9 реальной панели управления; Выбор режима мощности нагрева
- 10 Защита от перегрева
- 11 Используется для выбора следующих режимов мощности нагрева:; Ручка терморегулятора
- 15 ПРИНЦИПИАЛЬНЫЕ ЭЛЕКТРИЧЕСКИЕ СХЕМЫ; выключатель вентилятора; Рисунок 6
- 16 Модель THC WТ1 6M, THC WТ1 9М
- 17 УТИЛИЗАЦИЯ, СРОК СЛУЖБЫ, ГАРАНТИЙНЫЙ СРОК