Обогреватели TIMBERK THC WT1 5M - инструкция пользователя по применению, эксплуатации и установке на русском языке. Мы надеемся, она поможет вам решить возникшие у вас вопросы при эксплуатации техники.
Если остались вопросы, задайте их в комментариях после инструкции.
"Загружаем инструкцию", означает, что нужно подождать пока файл загрузится и можно будет его читать онлайн. Некоторые инструкции очень большие и время их появления зависит от вашей скорости интернета.

IM2020
16
ЕК1, ЕК2 - электронагреватели
КМ1 - магнитный пускатель
М1 - электродвигатель вентилятора
SA1 -
сетевой переключатель
SA2 -
переключатель режимов нагрева
SK1, SK2
– термопредохранители
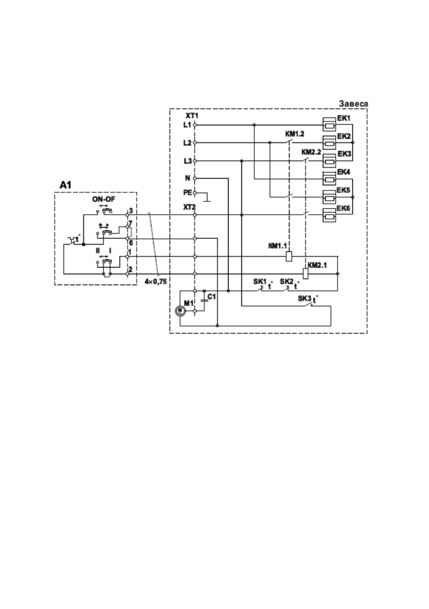
Модель THC WТ1 6M, THC WТ1 9М
Рисунок 7
A1 -
пульт управления
C1 -
конденсатор
EK1... EK6 -
нагревательные элементы
KM1/KM2 -
магнитные пускатели
М1- электродвигатель вентилятора
SK1/SK2/SK3 -
термоограничители
XT1/XT2 -
колодки клеммные
Содержание
- 4 Наименование
- 6 Принцип работы тепловой завесы
- 8 Модели THC WT1 6M, THC WT1 9M
- 9 реальной панели управления; Выбор режима мощности нагрева
- 10 Защита от перегрева
- 11 Используется для выбора следующих режимов мощности нагрева:; Ручка терморегулятора
- 15 ПРИНЦИПИАЛЬНЫЕ ЭЛЕКТРИЧЕСКИЕ СХЕМЫ; выключатель вентилятора; Рисунок 6
- 16 Модель THC WТ1 6M, THC WТ1 9М
- 17 УТИЛИЗАЦИЯ, СРОК СЛУЖБЫ, ГАРАНТИЙНЫЙ СРОК