Обогреватели TIMBERK THC WT1 5M - инструкция пользователя по применению, эксплуатации и установке на русском языке. Мы надеемся, она поможет вам решить возникшие у вас вопросы при эксплуатации техники.
Если остались вопросы, задайте их в комментариях после инструкции.
"Загружаем инструкцию", означает, что нужно подождать пока файл загрузится и можно будет его читать онлайн. Некоторые инструкции очень большие и время их появления зависит от вашей скорости интернета.

IM2020
17
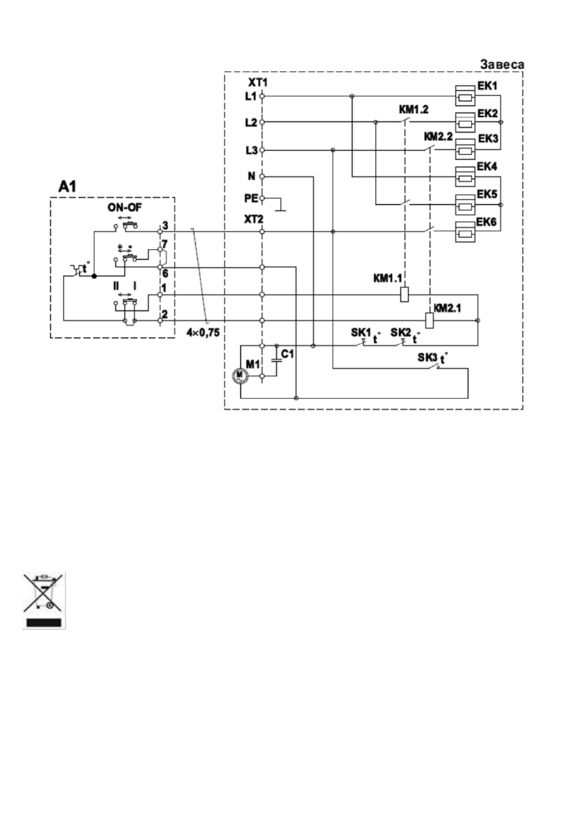
Модели THC WT1 12M, THC WT1 18M, THC WT1 24M
Рисунок 8
A1 -
пульт управления
C1 -
конденсатор
EK1... EK6 -
нагревательные элементы
KM1/KM2 -
магнитные пускатели
М1- электродвигатель вентилятора
SK1/SK2/SK3 -
термоограничители
XT1/XT2 -
колодки клеммные
12.
УТИЛИЗАЦИЯ, СРОК СЛУЖБЫ, ГАРАНТИЙНЫЙ СРОК
По окончанию срока службы прибора следует провести его утилизацию в
соответствии с нормами, правилами и способами, действующими в месте
утилизации. Подробную информацию по утилизации прибора Вы можете
получить у представителя местного органа власти, предоставив ему полную
информацию о приборе.
Изготовитель и уполномоченное им лицо не несут ответственности за исполнение
Покупателем требований законодательства по утилизации и способы утилизации прибора,
выбранные Покупателем. Срок службы прибора указан в гарантийном талоне.
Гарантийный срок на прибор, условия гарантии и гарантийного срока указаны в
гарантийном
талоне.
Гарантийный
талон
является
неотъемлемой
частью
товаросопроводительной документации, входящей в комплект поставки данного прибора.
При отсутствии гарантийного талона в комплекте поставки, требуйте его у Продавца.
Гарантийный
талон,
предоставляемый
Продавцом
должен
соответствовать
установленной Изготовителем форме. Изготовитель и уполномоченное лицо изготовителя
снимают с себя любую ответственность за возможный вред, прямо или косвенно
нанесенный данным прибором людям, животным, имуществу в случае, если это
произошло в результате несоблюдения правил и условий эксплуатации, установки
Содержание
- 4 Наименование
- 6 Принцип работы тепловой завесы
- 8 Модели THC WT1 6M, THC WT1 9M
- 9 реальной панели управления; Выбор режима мощности нагрева
- 10 Защита от перегрева
- 11 Используется для выбора следующих режимов мощности нагрева:; Ручка терморегулятора
- 15 ПРИНЦИПИАЛЬНЫЕ ЭЛЕКТРИЧЕСКИЕ СХЕМЫ; выключатель вентилятора; Рисунок 6
- 16 Модель THC WТ1 6M, THC WТ1 9М
- 17 УТИЛИЗАЦИЯ, СРОК СЛУЖБЫ, ГАРАНТИЙНЫЙ СРОК