Материнские платы GIGABYTE GA 8I915P D Pro - инструкция пользователя по применению, эксплуатации и установке на русском языке. Мы надеемся, она поможет вам решить возникшие у вас вопросы при эксплуатации техники.
Если остались вопросы, задайте их в комментариях после инструкции.
"Загружаем инструкцию", означает, что нужно подождать пока файл загрузится и можно будет его читать онлайн. Некоторые инструкции очень большие и время их появления зависит от вашей скорости интернета.

GA-8I915P-D Pro Motherboard
- 26 -
English
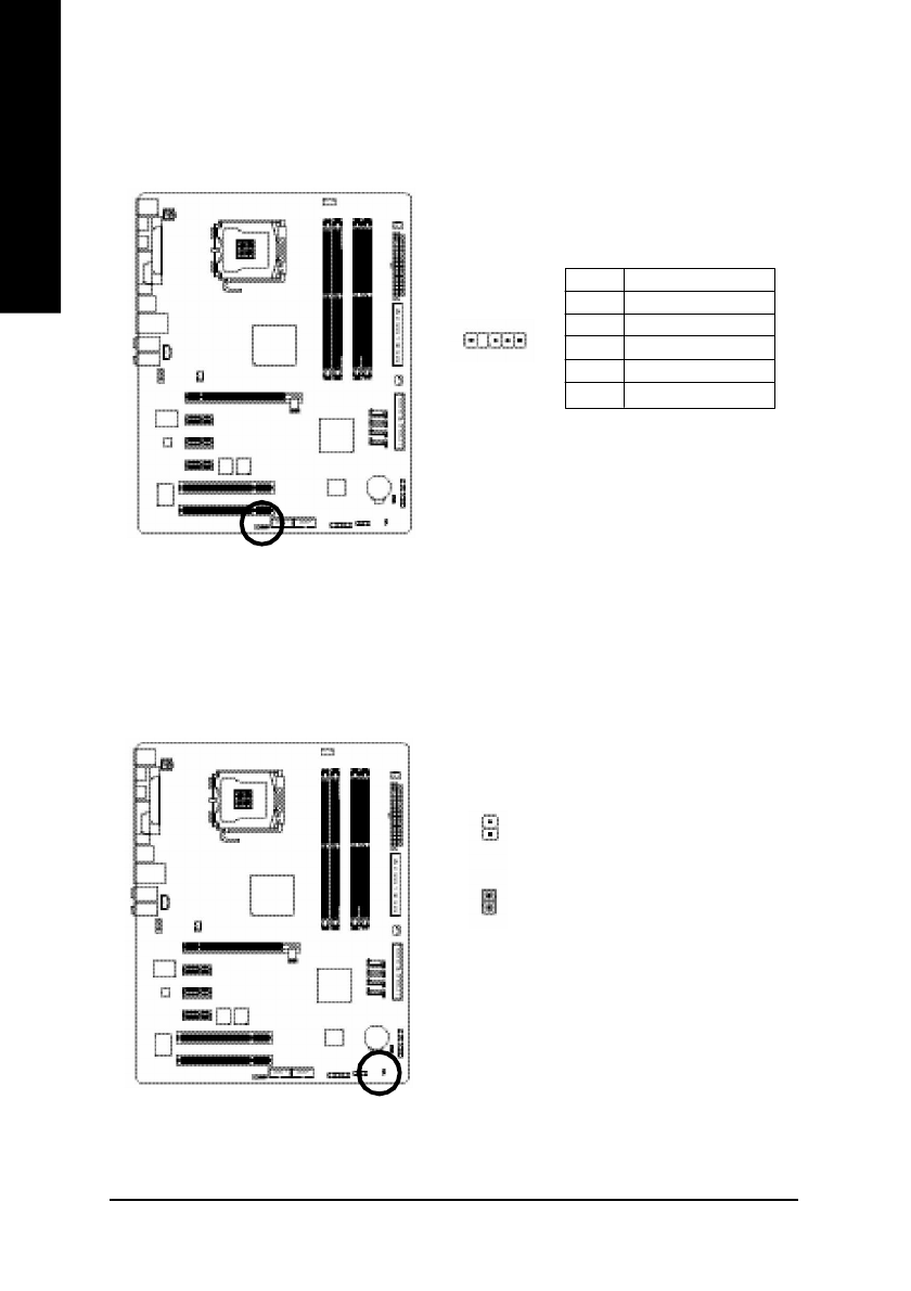
16) IR
Be careful with the polarity of the IR connector while you connect the IR. Please contact your
nearest dealer for optional IR device.
1
Pin No.
Definition
1
VCC
2
No Pin
3
IR RX
4
GND
5
IR TX
17) CLR_CMOS (Clear CMOS)
You may clear the CMOS data to its default values by this jumper. To clear CMOS, temporarily
short 1-2 pin. Default doesn't include the "Shunter" to prevent from improper use this jumper.
Open: Normal
1
1
Short: Clear CMOS