Генераторы Robin-Subaru EB 6.5/400-W220R - инструкция пользователя по применению, эксплуатации и установке на русском языке. Мы надеемся, она поможет вам решить возникшие у вас вопросы при эксплуатации техники.
Если остались вопросы, задайте их в комментариях после инструкции.
"Загружаем инструкцию", означает, что нужно подождать пока файл загрузится и можно будет его читать онлайн. Некоторые инструкции очень большие и время их появления зависит от вашей скорости интернета.

0
7.2.2. Электроустановки ЕВ7,0/230-W220R(E)AC, ED7,0/230-W220R(E)AC
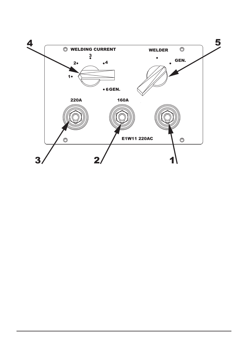
Генератор E1W11 220AC
1 - Гнездо подключения штекера сварочного кабеля (общее);
2 - Гнездо подключения штекера сварочного кабеля (сварочный ток до160А);
3 – Гнездо подключения штекера сварочного кабеля (сварочный ток до 200А);
4 – Переключатель величины сварочного тока «WELDING CURRENT»;
5 – Переключатель режима работы генератор/сварка «RANGE SELECTOR».
Генератор E1W11AC однофазный, двухполюсный, бесщёточный с конднесаторной
системой регулирования напряжения. Сварочный ток – переменный.
При пуске двигателя «Переключатель режима работы» (поз.5 ) должен находить-
ся в положении «GEN», а «Переключатель величины сварочного тока» ( «WELDING
CURRENT» поз.4 ) в положении «GEN» независимо от последующего режима работы.
При сохранении переключателей в указанном положении электроустановка после
пуска будет работать в режиме «генератор».
Перевод в режим «сварка» осуществляется на работающей в режиме «генератор»
электроустановке:
- перевести «Переключатель режима работы» в положение «WELDER»;
- установить требуемую величину сварочного тока переключателем «WELDING
CURRENT». Подключить сварочные провода к гнёздам 1-2 или 1-3 в соответс-
твии с установленной величиной сварочного тока.
ВНИМАНИЕ.
При сварке все потребители тока промышленной частоты 50 Гц
должны быть отключены. При работе в режиме «генератор» сварочные провода
должны быть отсоединены от генератора.
Содержание
- 3 Назначение электроустановки; промышленной частоты и проведения сварочных работ запрещается.; Технические данные
- 6 Состав комбинированной электроустановки
- 7 все типы электродов, используемые при ручной дуговой сварки.; «WELD»(сварка). Остальные потребители должны быть отключены от гене; Правила и меры безопасности; требования следующих документов:
- 8 При любых работах электроустановка должна быть заземлена.
- 9 Конструктивной особенностью генераторов двойного назначе
- 10 При сварке все потребители тока промышленной частоты 50 Гц
- 22 Работа комбинированной электроустановки; Режим «генератор»; превышать мощности генератора.; и проведения сварочных работ запрещается.
- 26 а дизельного – закрыть топливный кран.
как намагнитить бензогенератор ed 6,5/400-w220r