Генераторы Robin-Subaru EB 6.5/400-W220R - инструкция пользователя по применению, эксплуатации и установке на русском языке. Мы надеемся, она поможет вам решить возникшие у вас вопросы при эксплуатации техники.
Если остались вопросы, задайте их в комментариях после инструкции.
"Загружаем инструкцию", означает, что нужно подождать пока файл загрузится и можно будет его читать онлайн. Некоторые инструкции очень большие и время их появления зависит от вашей скорости интернета.

8
7.2. Пульт управления генератора
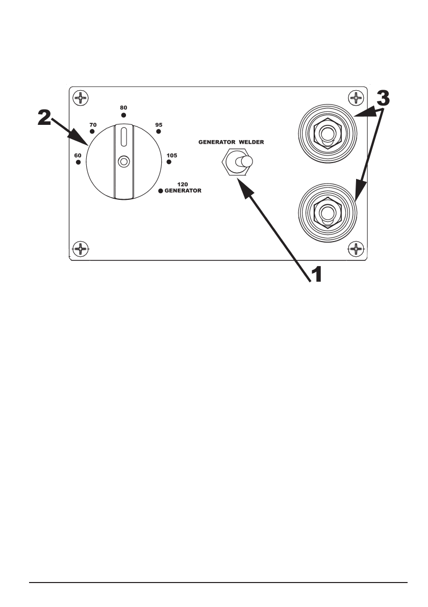
7.2.1.Электроустановка ЕВ 3.5/230-W120 RAC.
Генератор SPW10 120АС
1 - Переключатель режимов работы «RANGE SELECTOR».
2 – Переключатель величины сварочного тока.
3 – Гнёзда подключения штекеров сварочных кабелей.
Генератор SPW10 120АС однофазный, двухполюсный, бесщёточный с конднеса-
торной системой регулирования напряжения.Сварочный ток – переменный.
При пуске двигателя «Переключатель режима работы» (поз.1) и «Переключатель
величины сварочного тока» ( поз.2 ) должны находиться в положении «GENERATOR»,
независимо от последующего режима работы.
При сохранении переключателей в указанном положении электроустановка после
пуска будет работать в режиме «генератор».
Перевод в режим «сварка» осуществляется на работающей в режиме «генератор»
электроустановке:
- перевести «Переключатель режима работы» в положение «WELDER»;
- установить требуемую величину сварочного тока переключателем «WELDING
CURRENT». Подключить сварочные провода к гнёздам 3.
ВНИМАНИЕ.
При сварке все потребители тока промышленной частоты 50 Гц
должны быть отключены. При работе в режиме «генератор» сварочные провода
должны быть отсоединены от генератора.
Содержание
- 3 Назначение электроустановки; промышленной частоты и проведения сварочных работ запрещается.; Технические данные
- 6 Состав комбинированной электроустановки
- 7 все типы электродов, используемые при ручной дуговой сварки.; «WELD»(сварка). Остальные потребители должны быть отключены от гене; Правила и меры безопасности; требования следующих документов:
- 8 При любых работах электроустановка должна быть заземлена.
- 9 Конструктивной особенностью генераторов двойного назначе
- 10 При сварке все потребители тока промышленной частоты 50 Гц
- 22 Работа комбинированной электроустановки; Режим «генератор»; превышать мощности генератора.; и проведения сварочных работ запрещается.
- 26 а дизельного – закрыть топливный кран.
как намагнитить бензогенератор ed 6,5/400-w220r