Видеокамеры Sony DCR-TRV725E / DCR-TRV730E - инструкция пользователя по применению, эксплуатации и установке на русском языке. Мы надеемся, она поможет вам решить возникшие у вас вопросы при эксплуатации техники.
Если остались вопросы, задайте их в комментариях после инструкции.
"Загружаем инструкцию", означает, что нужно подождать пока файл загрузится и можно будет его читать онлайн. Некоторые инструкции очень большие и время их появления зависит от вашей скорости интернета.

86
You can duplicate selected scenes (programmes)
for editing onto a tape without operating the
VCR.
Scenes can be selected by frame. You can set up
to 20 programmes.
Be f o r e o p e r a t i n g t h e D i g i t a l p r o g r a m
e d i t i n g f u n ct i o n
St ep
1
Connecting the VCR (p. 87).
St ep
2
Setting the VCR for operation (p. 87, 92).
St ep
3
Adjusting the synchronicity of the VCR
(p. 93).
When you dub using the same VCR again, you
can skip steps 2 and 3.
Usi n g t h e D i g i t a l p r o g r a m e d i t i n g
f u n ct i o n
Operat ion
1
Making the programme (p. 95).
Operat ion
2
Performing Digital program
editing (dubbing a tape) (p. 97).
Not es
• The Digital program editing works only for
tapes recorded in the Digital8 system.
• You cannot dub titles or display indicators.
• When you connect with an i.LINK cable (DV
connecting cable), you may not be able to
operate the dubbing function correctly,
depending on the VCR.
Set CONTROL to IR in the menu settings of
your camcorder .
• When editing digital video, the operation
signals cannot be sent with LANC .
Вы можете копировать нужные эпизоды
(программы) для монтажа на ленту без
управления КВМ.
Эпизоды можно выбирать покадрово. Вы
можете установить до 20 программ.
Перед применением функции
цифрового монтажа программы
Пункт 1
Подсоедините КВМ (стр. 87)
Пункт 2
Подготовьте КВМ к работе (стр. 87,
92)
Пункт 3
Отрегулируйте синхронизацию КВМ
(стр. 93)
Когда Вы перезаписываете, используя снова
тот же КВМ, Вы можете пропустить пункты 2
и 3.
Использование функции цифрового
монтажа программы
Действие 1
Создание программы (стр. 95).
Действие 2
Выполнение цифрового
монтажа программы
(перезапись ленты) (стр. 97).
Примечания
•
Цифровой монтаж программы работает
только для лент, записанных в системе
Digital8 .
•
Вы не можете перезаписывать титры или
экранные индикаторы.
•
Когда Вы выполняете подсоединение с
помощью кабеля i.LINK (соединительного
кабеля цифрового видеосигнала DV), в
зависимости от КВМ функция перезаписи
может работать неправильно.
Установите пункт CONTROL в установках
меню Вашей видеокамеры в положение IR.
•
При монтаже цифрового видео сигналы
операции не могут быть посланы через
интерфейс LANC
.
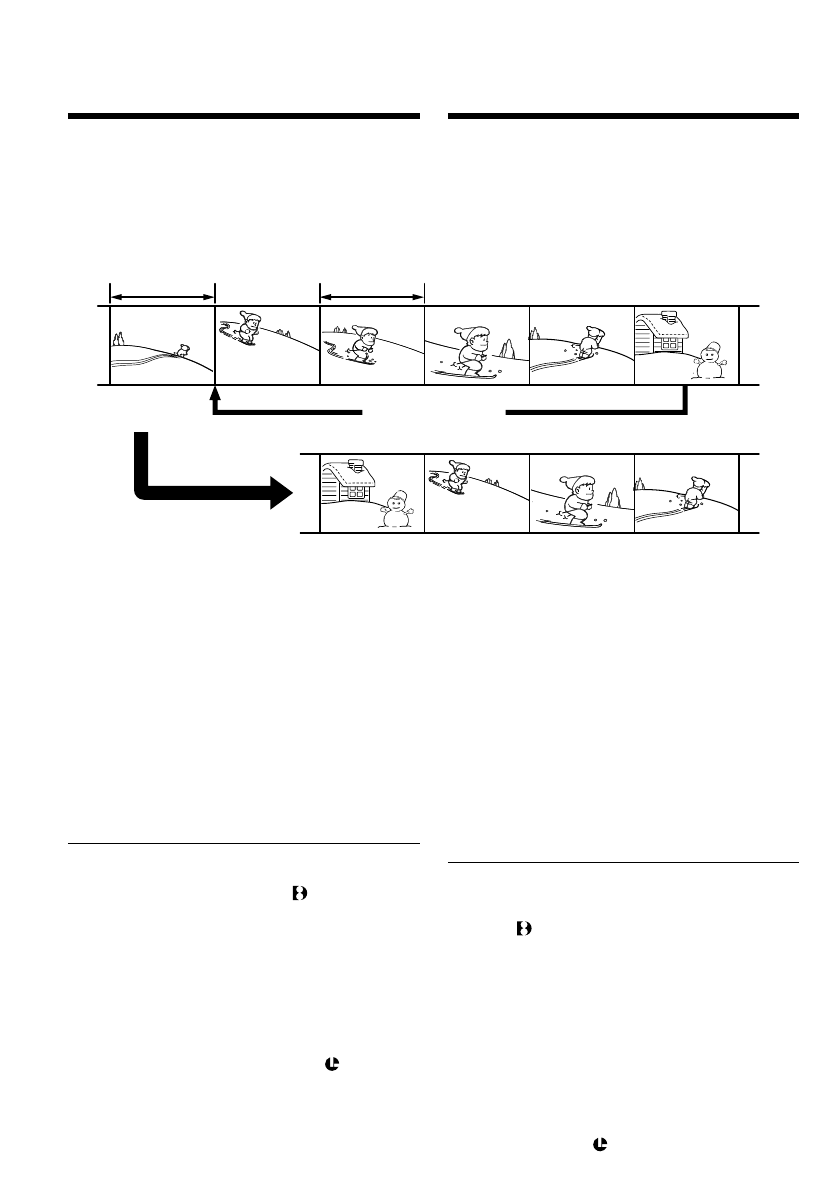
D u b b i n g o n l y d e si re d
sce n e s – D i g i t a l
p ro g r a m e d i t i n g
Unwanted scene/
Ненужный эпизод
Unwanted scene/
Ненужный эпизод
Switch the order/
Переключите
порядок
Перезапись только нужных
эпизодов – цифровой
монтаж программы
Содержание
- 2 ПРЕДУПРЕЖДЕНИЕ; or; Fo r t h e cu st o m e r s i n Ge r m a n y; camcorder. With your Digital; W ARNING
- 3 листов
- 5 Русский; Основные функции; Запись изображений на Вашем компьютере; (Для увеличения более чем 18
- 7 Оглавление
- 10 Руководство по быстрому запуску; Сетевой адаптер переменного тока (прилагается); Подсоединение провода электропитания
- 11 Запись изображения; Снимите крышку объектива.; Видоискатель; Примечание; Нажмите кнопку
- 12 * The models with VCR marked on the POWER; — Ge t t i n g st a r t e d —; Usi n g t h i s m a n u a l; Type of dif f erence/; Экран ЖКД; — Подготовка к эксплуатации —; * Модели с меткой VCR на переключателе
- 13 /стандартной системе 8; Be f o r e u si n g y o u r ca m co r d e r; With your digital camcorder, you can use Hi8; N o t e o n TV co l o u r sy st e m s
- 14 • Не допускайте, чтобы видеокамера; Pr e ca u t i o n s o n ca m co r d e r ca r e; • Do not let your camcorder get wet. Keep your
- 15 I n st a l l i n g t h e b a t t e r y p a ck; To r e m o v e t h e b a t t e r y p a ck; Lift up the viewfinder.; If you inst all t he large capacit y bat t ery pack; Установка батарейного блока; Поднимите видоискатель.; Поднимите видоискатель.; St e p 1 Pre p a r i n g t h e
- 16 Ch a r g i n g t h e b a t t e r y p a ck; Connect the mains lead to a wall socket.; normal charge; is completed. To fully charge; St e p 1; Пункт 1 Подготовка источника; был направлен вверх.; нормальная зарядка; завершена. Для полной
- 17 A f t e r ch a r g i n g t h e b a t t e r y p a ck; “– – – – min” appears in the display window.; W hen you use t he AC pow er adapt or; После зарядки батарейного блока
- 18 Ch a r g i n g t i m e /; Батарейный блок; Что такое “InfoLITHIUM”?
- 19 Re co r d i n g t i m e /; Recording w it h
- 20 Pl a y i n g t i m e /; Playing t ime
- 21 Co n n e ct i n g t o a w a l l so ck e t; PRECAUTION; • The AC power adaptor can supply power even; Using a car bat t ery; на; ПРЕДОСТЕРЕЖЕНИЕ; • Питание от сетевого адаптера переменного
- 22 Turn the SEL/PUSH EXEC dial to select; St e p 2 Se t t i n g t h e
- 23 The year changes as f ollow s:; St e p 2 Se t t i n g t h e d a t e a n d t i m e; MENU; Год изменяется следующим образом:; Пункт 2 Установка даты и
- 24 To e j e ct a ca sse t t e; St e p 3 I n se r t i n g a; Закройте кассетный отсек, нажав метку; Для извлечения кассеты; Пункт 3 Установка
- 25 Not es; St e p 3 I n se r t i n g a ca sse t t e; Примечания
- 26 — Re co r d i n g – Ba si cs —; Re co rd i n g a p i ct u re; Лампочка; — Запись – Основные положения —; Your camcorder automatically focuses for you.
- 27 • Плотно пристегните ремень для захвата; Примечание по режиму записи
- 28 A d j u st i n g t h e LCD scr e e n; Xz; Индикатор STBY появится в виде
- 29 Bright ness of t he LCD screen; A f t e r r e co r d i n g; Zoom greater than 18; Яркость экрана ЖКД; После записи; Сторона “W”: для широкоугольного вида
- 30 Not es on digit al zoom; • Digital zoom starts to function when zoom; W hen you shoot close t o a subject; • Цифровой вариообъектив начинает; Задняя подсветка видоискателя
- 31 The indicators are not recorded on tape.; Remaining bat t ery t ime indicat or; Индикаторы не записываются на ленту.; Remaining t ape indicat or/; This appears after the POWER switch is set to CAMERA for a while./; Remaining bat t ery t ime indicat or/; Он отображается около пяти секунд после
- 32 BACK LIGHT; Функция задней подсветки будет отменена.
- 33 and “NIGHTSHOT” indicators flash on the; Usi n g SUPER N I GHTSHOT; Slide NIGHTSHOT to ON in CAMERA mode.; Usi n g t h e N i g h t Sh o t Li g h t; и “NIGHTSHOT” начнут; Night Shot Light emit t er/
- 34 • Не используйте функцию ночной съемки в; В режиме MEMORY; • Do not use the NightShot function in bright; Shut t er speed in t he Super Night Shot mode; You cannot use the Super NightShot function.; Night Shot Light
- 35 M ENU
- 36 Для остановки обратного отсчета
- 37 EN D SEA RCH; You can search for the next recording start point.; Ch e ck i n g t h e re co rd i n g; Проверка записи; END SEARCH
- 38 Просмотр записи; Нажмите кратковременно сторону – (; • Функции END SEARCH, EDITSEARCH и; Re c Re v i e w; •END SEARCH, EDITSEARCH and Rec Review
- 39 Open the LCD panel while pressing OPEN.; To st o p p l a y b a ck; Press; Для остановки воспроизведения; — Pl a y b a ck – Ba si cs —; Pl a y i n g b a ck a t a p e; REW; — Воспроизведение – Основные положения —; Воспроизведение ленты
- 40 W hen monit oring on t he LCD screen; Usi n g t h e d a t a co d e f u n ct i o n; . Use the Remote Commander for; Во время контроля на экране ЖКД; DISPLAY; Использование функции кода данных; дистанционного управления для этой операции.
- 41 Not t o display various set t ings; Различные установки; Примечание по функции кода данных
- 42 Для ускоренной перемотки ленты вперед; To a d v a n ce t h e t a p e
- 43 В переменных режимах воспроизведения; To v i e w t h e p i ct u r e a t d o u b l e sp e e d; In t he various playback modes
- 45 If your TV or VCR has an S video jack; V i e w i n g t h e r e co r d i n g o n TV; TV
- 46 Bef ore operat ion; Перед эксплуатацией; Super laser link emit t er/
- 47 If you t urn t he pow er of f; Super laser link function turns off automatically.; Если Вы выключите питание; является фирменным знаком Sony
- 48 — A d v a n ce d Re co r d i n g Op e r a t i o n s —; — Усовершенствованные операции съемки —
- 49 • During the tape photo recording, you cannot; To record clear and less f luct uat ed st ill images
- 50 Se l f -t i m e r r e co r d i n g; To ca n ce l se l f -t i m e r r e co r d i n g
- 51 Pr i n t i n g t h e st i l l i m a g e; Передача сигнала
- 52 To ca n ce l t h e w i d e m o d e; Set 16:9WIDE to OFF in the menu settings.; In t he w ide mode; You cannot select OLD MOVIE.; During recording; Usi n g t h e w i d e m o d e; . Изображение во время; Для отмены широкоэкранного режима; В широкоэкранном режиме; – Вы не можете выбрать функцию OLD; Во время записи
- 53 M ONOTONE; Fade in only; Usi n g t h e f a d e r f u n ct i o n; FADER; * Только введение изображения
- 54 To ca n ce l t h e f a d e r f u n ct i o n; При введении изображения; Для отмены функции фейдера; Использование функции фейдера
- 56 : The colour and brightness of the; SEPIA; The image expands vertically.
- 57 Turn SEL/PUSH EXEC dial to select; W hile using t he pict ure ef f ect f unct ion; The picture effect is automatically canceled.
- 60 Для отмены цифрового эффекта; To ca n ce l t h e d i g i t a l e f f e ct
- 61 Spot light
- 62 • In the spotlight, sports lesson and beach & ski; Usi n g t h e PROGRA M A E f u n ct i o n; Для выключения функции PROGRAM AE; • В режимах прожекторного освещения,
- 63 • While setting the NIGHTSHOT to ON, the; • Во время установки команды NIGHTSHOT в
- 64 faithfully; ночных сцен) с большой достоверностью; NIGHTSHOT в положение ON
- 65 such as walls and sky.; To r e t u r n t o t h e a u t o f o cu s m o d e; Fo cu si n g m a n u a l l y; FOCUS; • Если Вы хотите выполнить изменение; Фокусировка вручную
- 66 Для точной фокусировки
- 67 Su p e r i m p o si n g a t i t l e; VACATION; Наложение титра
- 68 Для наложения титра во время записи; перед пунктом 2. Затем; Для использования собственного титра; • Цвет титра изменяется следующим; При выборе и установке титра; Зуммерный сигнал не будет звучать.; Во время воспроизведения
- 70 To ch a n g e a t i t l e y o u h a v e st o r e d; To erase a charact er; M a k i n g y o u r o w n t i t l e s; Если Вы выбрали установку [
- 71 Держите нажатой сторону –; • Функция памяти нуля работает только для; I n se r t i n g a sce n e; Вставка эпизода
- 72 To ca n ce l t h e p i ct u r e e f f e ct f u n ct i o n; • Функция эффектов изображения работает; — Усовершенствованные операции воспроизведения —
- 73 To ca n ce l t h e d i g i t a l e f f e ct f u n ct i o n; Set D EFFECT to OFF in the menu settings.
- 74 • The digital effect function works only for tapes; • Функция цифровых эффектов работает
- 75 indicators which showing; To ca n ce l PB ZOOM f u n ct i o n; направление для переноса изображения.; Для отмены функции PB ZOOM; Нажмите кнопку PB ZOOM.
- 76 •PB ZOOM works only for tapes recorded in the; Pict ures processed by PB ZOOM f unct ion; • Функция PB ZOOM работает только для
- 79 Для остановки поиска; • Режим поиска даты функционирует только; To st o p se a r ch i n g; • The date search works only for tapes recorded
- 80 Se a r ch i n g f o r a p h o t o; Поиск фото
- 81 Sca n n i n g p h o t o; To st o p sca n n i n g; Сканирование фото; Для остановки сканирования
- 82 — Ed i t i n g —; D u b b i n g a t a p e; AUDIO; — Монтаж —; Перезапись ленты; Usi n g t h e A /V co n n e ct i n g ca b l e; • Set DISPLAY to LCD in the menu settings. (The
- 83 Если Вы закончили перезапись ленты; Если Ваш КВМ монофонического типа; If your VCR is a monaural t ype
- 85 See page 206 for more infomation about i.LINK.
- 87 St e p 1 : Co n n e ct i n g t h e V CR
- 88 Установка кода IR SETUP; Press MENU to display the menu.
- 89 Компонент телевизор/КВМ; Not e on IR SETUP code
- 90 Кнопки для отмены паузы записи на КВМ; Дистанционный датчик
- 91 ( 4 ) Co n f i r m i n g V CR o p e r a t i o n; W hen t he VCR does not operat e correct ly; • After checking the code in “About the IR; Подтверждение действия КВМ
- 94 • When you complete step 3, the image to adjust
- 95 Действие 1: Создание программы
- 96 Для отмены стирания; Стирание всех программ; Для отмены стирания всех программ; Er a si n g t h e p r o g r a m m e y o u h a v e se t; To cancel erasing; Er a si n g a l l p r o g r a m m e s; To cancel erasing all programmes
- 97 Действие; To st o p d u b b i n g d u r i n g e d i t i n g; You cannot record on t he VCR w hen:
- 98 o n l y; Set the POWER switch to VCR.; A f t e r ca p t u r i n g i m a g e s a n d so u n d; Использование с аналоговым; Перед применением; Установите опцию A/V; После записи изображений и звука
- 99 • You need to install software which can; • Вам нужно установить программное
- 100 Перед экплуатацией
- 101 Re co r d i n g v i d e o o r TV p r o g r a m m e s; • Для обеспечения плавного перехода; • To enable smooth transition, we recommend
- 103 During digit al edit ing; Во время цифрового монтажа
- 104 : A tape that contains the scene to be
- 106 Для изменения точки конца вставки; • Функция памяти установки нуля работает; To ch a n g e t h e i n se r t e n d p o i n t; • The zero set memory function works only for; W hen t he insert ed pict ure is played back; Skip step 3 and 4. Press
- 107 — Cu st o m i zi n g Y o u r Ca m co r d e r —; Изменение установок меню
- 117 Выбор установок режима по каждому пункту; установка по умолчанию.
- 118 Примечания по функции устойчивой съемки; на функцию устойчивой съемки.; В случае отмены функции устойчивой съемки; Появится индиктор выключенной функции устойчивой съемки; Примечания о пунктах FLASH MODE и FLASH LVL
- 119 Примечания по функции AUDIO MIX
- 120 будет выбрана установка BRIGHT.
- 121 REM AIN; Примечание к IMAGESIZE
- 122 Примечания по форматированию; Форматирование на данной видеокамере не требуется.; Форматирование сотрет всю информацию на “Memory Stick”
- 123 REC MODE; Примечание по режиму REC MODE; LP/SP REC”. Используйте ленты формата Hi8; Примечания по режиму LP
- 124 Примечания по режиму DEMO MODE
- 125 выберется команда BL ON.
- 126 On f i l e f o r m a t; Typical image dat a f ile name; Be f o r e u si n g “ M e m o r y St i ck ”; Типичное имя файла данных изображения; Перед использованием “Memory Stick”; — “ M e m o r y St i ck ” o p e r a t i o n s —
- 128 N o t e s o n i m a g e d a t a co m p a t i b i l i t y
- 129 I n se r t i n g “ M e m o r y St i ck ”; mark facing; To e j e ct t h e “ M e m o r y St i ck ”; W hen t he access lamp is lit or f lashing; Установка “Memory Stick”; был; Для извлечения “Memory Stick”; Если лампочка доступа горит или мигает
- 130 Se l e ct i n g i m a g e q u a l i t y m o d e
- 131 Установки качества изображения
- 132 Выбор размера изображения; Движущиеся изображения:; Se l e ct i n g t h e i m a g e si ze; The default setting is 1152
- 134 I m a g e si ze se t t i n g s; When images recorded on a camcorder in 1152; Установки размера изображения; M aximum recording t ime/
- 135 2 изображения; “M emory St ick”
- 136 Количество изображений,; Перед началом работы; Вставьте “Memory Stick” в Вашу видеокамеру.; Insert a “Memory Stick” into your camcorder.
- 137 – Режим спортивных состязаний (Индикатор; При записи в режиме MEMORY; Запись изображений непрерывно; Непрерывный режим; 64, Вы можете выполнить; Re co r d i n g i m a g e s co n t i n u o u sl y; When the image size is set to 1152
- 139 FULL” appears on the screen and you; Co n t i n u o u s sh o o t i n g se t t i n g s; Set t ing; Если емкость “Memory Stick” переполнена; На экране появится индикация “; Установки непрерывной съемки; Установка; SINGLE
- 140 The number of images in cont inuous shoot ing
- 143 Вы не можете записывать звук с ленты.
- 145 To st o p r e co r d i n g; Для остановки записи; Время записи, которое
- 146 Sound is recorded in monaural.; W hen t he POW ER sw it ch is set t o M EM ORY
- 148 recording
- 149 The“; During recording on “M emory St ick”; Индикатор; Во время записи на “Memory Stick”; DV OUT
- 151 Голубой фон
- 152 M. OVERLAP– Не требуется никаких
- 153 – Нажмите диск SEL/PUSH EXEC перед; Для изменения установки режима; Нажмите кнопку MEMORY MIX.; Вы не можете изменить установку режима.; To ch a n g e t h e m o d e se t t i n g
- 155 Выполните любое из следующих действий:; Do either of the following:
- 156 Вы не можете изменять установку режима.; Образцы изображений; • You cannot use MEMORY MIX function for; You cannot change the mode setting.; Sample images
- 157 • Вставьте ленту, записанную в системе; • Insert a tape recorded in the Digital8 system
- 158 Для остановки копирования; To st o p co p y i n g; Press MENU to stop copying.; Image size of st ill images; Image size is automatically set to 640
- 159 To st o p m e m o r y p h o t o p l a y b a ck
- 161 A red; Image number/Total number of recorded images/
- 162 • Для отображения следущих 6 изображений
- 163 To st o p M PEG m o v i e p l a y b a ck; N X; N X
- 164 Memory playback indicator/; Данные записи; • Connect your camcorder to the TV with the; Recording dat a; no indicator
- 165 О формате файлов; Формат MPEG; Рекомендованная конфигурация Windows; Процессор: MMX Pentium 200 МГц или; Рекомендованная конфигурация Macintosh; JPEG format; Recommended W indow s environment; and a slot loading type CD-ROM drive
- 166 • Operations are not guaranteed for either the; I n st a l l i n g t h e USB d r i v e r; Установка драйвера USB
- 167 Fo r M a ci n t o sh u se r s; Restart your computer.; Для пользователей Macintosh; Sony Camcorder USB Driver
- 168 V i e w i n g i m a g e s; Fo r W i n d o w s 9 8 u se r s; Image; Нужный тип файла; “Dcim” folder; Просмотр изображений; Для пользователей Windows 98
- 169 Fo r W i n d o w s 2 0 0 0 u se r s; Eject the “Memory Stick.”; N o t e s o n u si n g y o u r co m p u t e r; “ M e m o r y St i ck ”; • “Memory Stick” operations on your camcorder; Для пользователей Windows 2000; Извлеките “Memory Stick”.; “Memory Stick”
- 170 So f t w a r e; • Depending on your application software, the; Co m m u n i ca t i o n s w i t h y o u r co m p u t e r; Папка; ssss; Folder cont aining st ill image dat a/; Программы; ssss
- 172 Вы не можете записать индексный экран.; При копировании; You cannot record the index screen.; If you press EDITSEARCH during pause mode; Memory playback stops.; W hen copying
- 173 Перед операцией
- 174 Функция цифрового эффекта не работает.; Изображения в режиме PB ZOOM; To ca n ce l m e m o r y PB ZOOM f u n ct i o n; The digital effect function does not work.; Pict ures in t he PB ZOOM mode
- 176 Нажмите кнопку MEMORY PLAY.; To st o p t h e sl i d e sh o w; To view t he recorded images on TV
- 178 To ca n ce l i m a g e p r o t e ct i o n; You cannot carry out image protection.; Для отмены защиты изображения
- 179 D e l e t i n g se l e ct e d i m a g e s; To ca n ce l d e l e t i n g a n i m a g e; D e l e t i n g i m a g e s; DELETE; Удаление выбранных изображений; Для отмены удаления изображения; Удаление изображений
- 180 Удаление всех изображений
- 181 Вы не можете удалить изображения.; W hile DELETING appears; You cannot delete images.
- 183 Для отмены записи печатных знаков; Движущиеся изображения; To ca n ce l w r i t i n g p r i n t m a r k s; You cannot write print marks on still images.; M oving pict ures
- 184 in the menu on your camcorder.; • Insert a recorded “Memory Stick” into your; * 9 неподвижных изображений с метками; Printer
- 193 В режиме записи; Возможная неисправность; Разновидности неисправностей и способы их устранения
- 194 В режиме воспроизведения
- 195 В режимах записи и воспроизведения
- 196 Возможная причина
- 199 Предупреждающие индикаторы; Предупреждающие индикаторы и сообщения
- 200 Предупреждающие сообщения
- 201 — A d d i t i o n a l I n f o r m a t i o n —; D i g i t a l 8; — Дополнительная информация —; Что такое “Цифровая система Digital8 ”?; Система воспроизведения; W h a t i s t h e “ D i g i t a l 8; Pl a y b a ck sy st e m; Display during aut omat ic det ect ion of syst em
- 202 При воспроизведении; Pl a y i n g b a ck a n N TSC-r e co r d e d t a p e; Co p y r i g h t si g n a l; W h e n y o u p l a y b a ck; Sound f rom speaker
- 203 STEREO
- 204 Зарядка батарейного блока; Перед началом использования видеокамеры
- 205 О батарейном блоке “InfoLITHIUM”; Иногда метка; Как хранить батарейный блок
- 206 Относительно названия “i.LINK”; A b o u t t h e N a m e “ i .LI N K”
- 207 Скорость передачи i.LINK
- 208 Система PAL; Бразилия; Система NTSC; Usi n g y o u r ca m co r d e r a b r o a d; PAL syst em; Brazil; NTSC syst em
- 209 Конденсация влаги; Если произошла конденсация влаги; Примечание по конденсации влаги; M o i st u r e co n d e n sa t i o n; I f m o i st u r e co n d e n sa t i o n o ccu r r e d; Not e on moist ure condensat ion
- 210 M a i n t e n a n ce i n f o r m a t i o n; Cl e a n i n g t h e v i d e o h e a d s; indicator and “; Cl e a n i n g t h e LCD scr e e n; Информация по уходу; Чистка видеоголовок
- 211 Charging t he built -in rechargeable bat t ery:; Pr e ca u t i o n s; Ca m co r d e r o p e r a t i o n; Меры предосторожности; Эксплуатация видеокамеры
- 213 Сетевой адаптер переменного тока
- 214 If bat t eries are leaking
- 217 Технические характеристики; Видеокамера
- 219 Ca m co r d e r
- 220 I d e n t i f y i n g t h e p a r t s a n d co n t r o l s
- 223 Fasten the grip strap firmly.; ts; Пристегните ремень для захвата плотно.
- 224 tg; Окуляр
- 225 S VIDEO jack; tk
- 227 To p r e p a r e t h e Re m o t e Co m m a n d e r; Not es on t he Remot e Commander; • Point the remote sensor away from strong light; • Держите дистанционный датчик подальше
- 228 LCD scr e e n a n d V i e w f i n d e r /; Функциональные индикаторы; Появится индикатор ,; D i sp l a y w i n d o w /; Op e r a t i o n i n d i ca t o r s; or indicator appears.
- 229 This indicator appears in the viewfinder.
- 231 Алфавитный указатель












