Видеокамеры JVC GZ-HM1 - инструкция пользователя по применению, эксплуатации и установке на русском языке. Мы надеемся, она поможет вам решить возникшие у вас вопросы при эксплуатации техники.
Если остались вопросы, задайте их в комментариях после инструкции.
"Загружаем инструкцию", означает, что нужно подождать пока файл загрузится и можно будет его читать онлайн. Некоторые инструкции очень большие и время их появления зависит от вашей скорости интернета.

14
UK
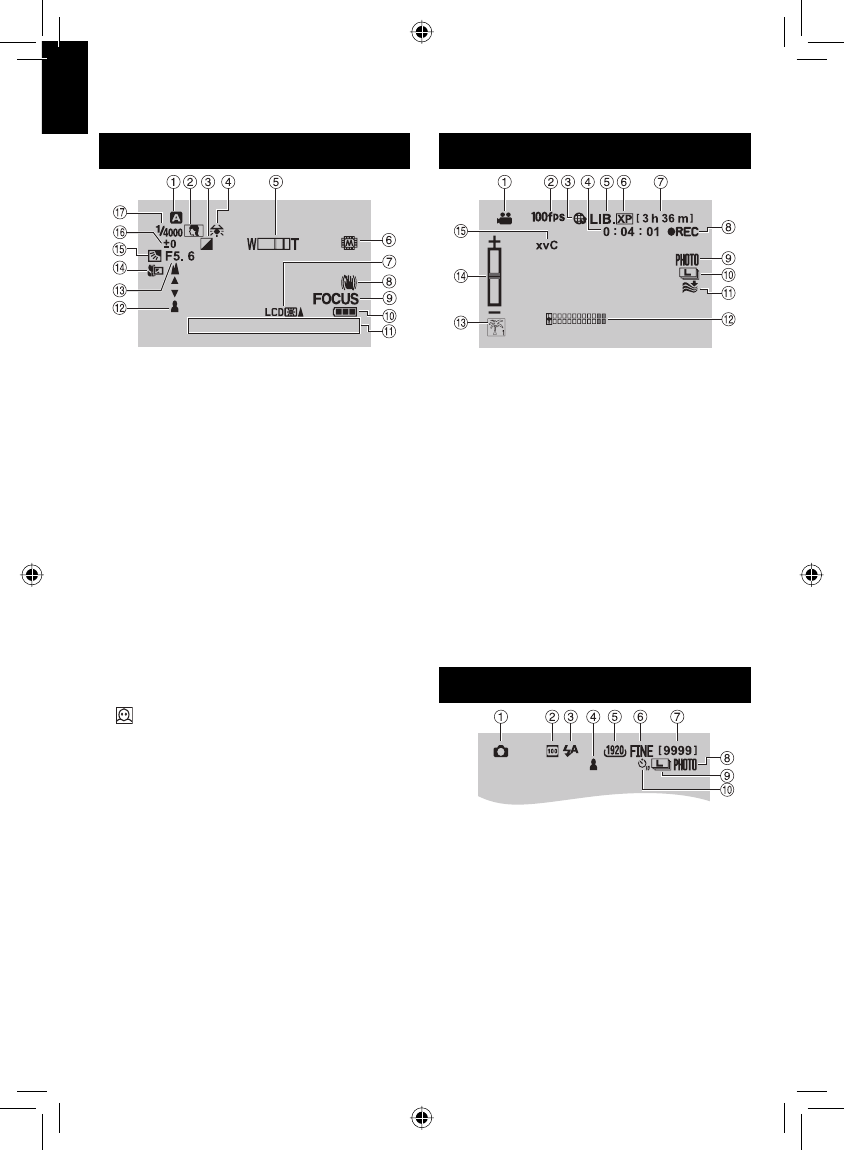
Індикація на РК-моніторі
Під час відеозйомки та фотозйомки
1 . 1 1 . 2 0 1 0
1 6 : 5 5
!
Індикатор вибраного режиму запису (
стор. 19, 20)
@
: Автоматичний режим
3
: Ручний режим
#
Індикатор вибору сюжету
$
Індикатор режиму ефектів
%
Індикатор балансу білого
&
Індикатор масштабування (
стор. 21)
(
Індикатор носія запису
)
Індикатор контрового освітлення
дисплею
*
Індикатор стабілізатору зображення
(
стор. 20)
+
Індикатор допомоги при фокусуванні
,
Індикатор заряду акумулятора
-
Дата/час (
стор. 16)
.
Індикатор ручного налаштування фокусу
/
Значення апертури (відносна апертура)
0
Індикатор режиму Телемакро
1
Індикатор компенсації контрового
освітлення
: Індикатор виявлення обличчя
2
Індикатор контролю яскравості
.
: Індикатор контролю області
фотометрії
3
Витримка затвора
Тільки під час відеозйомки
!
Індикатор режиму
#
Індикатор запису з високою швидкістю/
уповільненого запису
$
Індикатор режиму закачування (
стор. 35)
%
Лічильник
&
Індикатор режиму експорту (
стор. 34)
(
Якість відеозображення
)
Залишок часу
*
M
REC: (Відображається в режимі зйомки.)
MQ
: (Відображається в режимі
очікування зйомки.)
+
Індикатор зйомки (
стор. 19)
,
Індикатор безперервної зйомки
-
Індикатор вітру
.
Індикатор рівня входу мікрофону
/
Індикатор подій
0
Індикатор різкості
1
x.v.Colour™
Тільки під час фотозйомки
!
Індикатор режиму
#
Індикатор чутливості ISO (коли
[УСИЛЕНИЕ] встановлено в значення
[АВТО], індикатор відсутній).
$
Індикатор спалаху (
стор. 21)
%
Індикатор фокусування (
стор. 20)
&
Розмір зображення
(
Якість зображення:
FINE
(висока) або
STD
(стандартна)
)
Залишок знімків
*
Індикатор зйомки (
стор. 20)
+
Індикатор безперервної зйомки
J
: Індикатор експовилки
,
Індикатор автопуску
ПОЧА
Т
ОК РОБО
ТИ
C0S6_HM1-UK_EU_IB.indb 14
C0S6_HM1-UK_EU_IB.indb 14
1/25/2010 7:04:04 PM
1/25/2010 7:04:04 PM
Содержание
- 2 Меры предосторожности; ПРИСТУПАЯ К РАБОТЕ
- 3 Батареи
- 4 Упрощенное руководство по работе; Использование аккумуляторов, НЕ одобренных компанией JVC, может; Перед тем как приступить к записи,; Выключите видеокамеру и подсоедините аккумуляторный блок.; Индикатор питания/зарядки; Индикатор доступа
- 5 Установка даты/времени; Установите дату и время; OK
- 6 Запись видеоизображений; Перед тем как записать важную сцену, рекомендуется выполнить; Начните запись
- 7 Воспроизведение; Чтобы выполнить такие операции, как поиск вперед или поиск назад; Не забудьте сделать копии после выполнения записи!; Выберите желаемый файл; Выберите
- 8 Содержание; Создание диска с помощью
- 9 Прочтите в первую; Как пользоваться
- 10 Принадлежности
- 12 Указатель
- 13 Пульт дистанционного управления; Крепление на штативе; Видеокамера
- 14 Индикация на ЖК-мониторе; Только во время видеозаписи; MQ
- 15 DIGEST; QF; Переключение режимов индикации на
- 16 Необходимые настройки перед использованием; Зарядка аккумуляторного блока
- 17 Установите дату и время.; Выбор языка; включить видеокамеру.; Выберите желаемый язык; Чтобы выйти из экрана; Регулировка ремня на руку
- 18 Другие настройки; Использование SD-карты; Передвиньте ручку OPEN, чтобы; выполнить форматирование карты.
- 19 SNAPSHOT; Запись файлов; выбрать режим записи.; ЗАПИСЬ/ВОСПРОИЗВЕДЕНИЕ
- 20 Запись неподвижных изображений
- 21 Масштабирование; Вспышка
- 22 Воспроизведение файлов; Воспроизведение видеоизображений; Выберите желаемый файл.
- 23 чтобы выбрать режим
- 24 Подключение к телевизору; Подключение с использованием; Подключение с помощью разъема; Просмотр файлов на телевизоре; ИСПОЛЬЗОВАНИЕ С ТЕЛЕВИЗОРОМ
- 25 Подключение с помощью разъема AV; После выполнение подключения к; Включите видеокамеру и; (Только при подсоединении; Включите видеомагнитофон/; Чтобы отобразить экранный дисплей
- 26 Копирование файлов; Типы копирования и подключаемые; Подключение к устройству записи
- 27 Выберите желаемую настройку; Нажмите и удерживайте кнопку
- 29 Создание диска с помощью компьютера; РАБОТА С КОМПЬЮТЕРОМ
- 30 Резервное копирование на компьютер; Сделайте щелчок на [Все тома в; Чтобы отсоединить видеокамеру от
- 32 Копирование файлов на диск; Выберите пользовательский список и
- 34 Использование с портативным медиа-плейером; Включение режима экспорта; Передача файлов на компьютер
- 35 Загрузка файлов на веб-сайты; Загрузка файлов; Невозможно загрузить файл на; JVC
- 36 Изменение настроек меню; Поиск и устранение неполадок; Проблема
- 38 Предупредительная индикация; Индикация
- 39 Технические характеристики
- 40 Примерное время записи (для видеоизображений)
- 41 Информация о продукции
- 42 Предостережения
- 43 Основной аппарат
- 44 Термины
- 49 Встановіть дату та час
- 60 Основні настройки перед початком використання відеокамери; Зарядження акумулятора