Видеокамеры JVC GR-DV3 - инструкция пользователя по применению, эксплуатации и установке на русском языке. Мы надеемся, она поможет вам решить возникшие у вас вопросы при эксплуатации техники.
Если остались вопросы, задайте их в комментариях после инструкции.
"Загружаем инструкцию", означает, что нужно подождать пока файл загрузится и можно будет его читать онлайн. Некоторые инструкции очень большие и время их появления зависит от вашей скорости интернета.

6
РУ
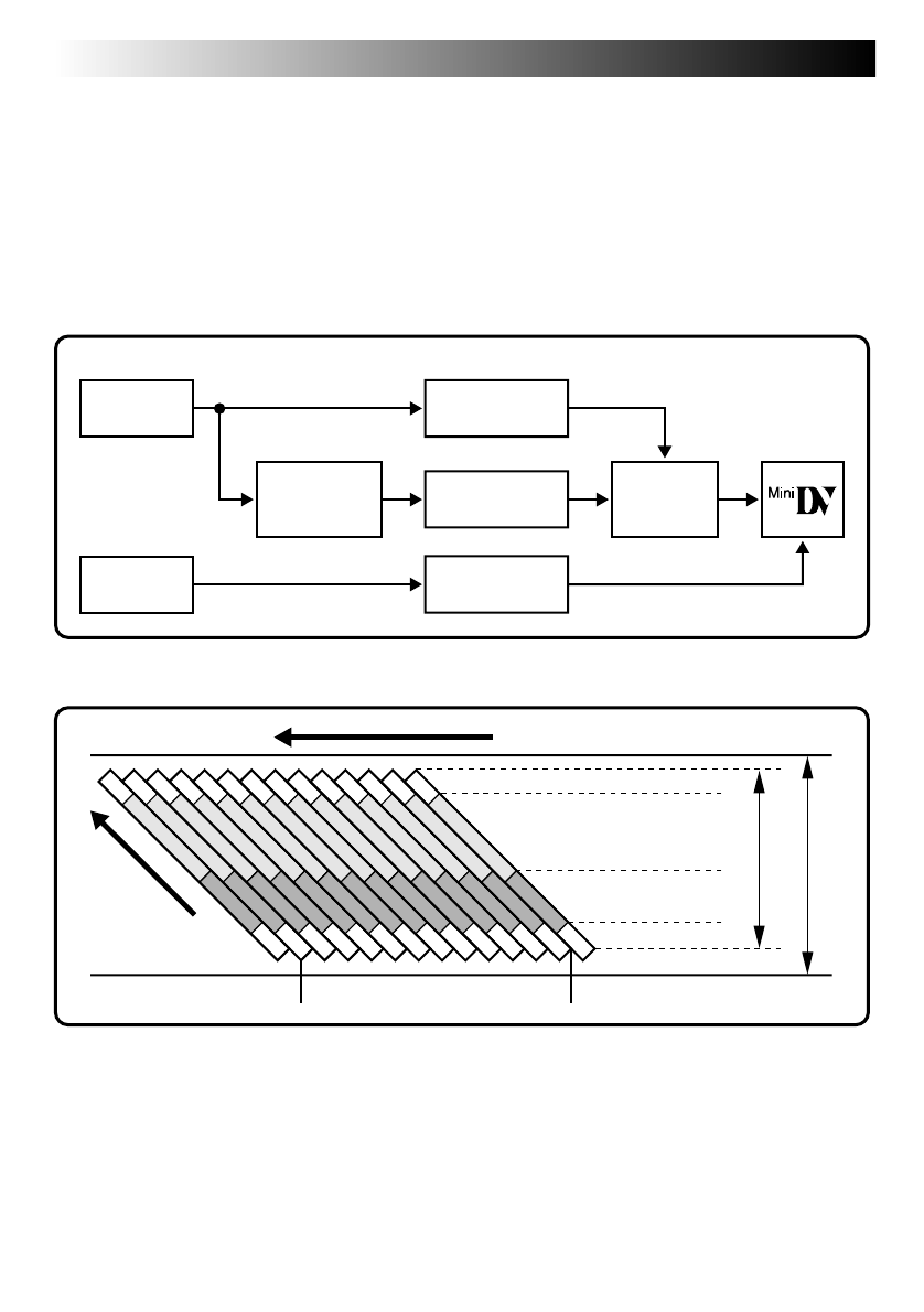
Цифpoвaя видeoкaмepa пpeoбpaзyeт вxoдящиe ayдиo- и видeocигнaлы в цифpoвыe для зaпиcи.
Bидeocигнaл cocтoит из cигнaлa яpкocти (Y) и cигнaлoв цвeтнocти (R-Y и B-Y). Зти cигнaлы идeнтифициpyютcя
и зaпиcывaютcя цифpoвым cпocoбoм (цифpoвaя paздeльнaя видeoзaпиcь). A/Ц (aнaлoгo-цифpoвoй)
пpeoбpaзoвaтeль диcкpeтизиpyeт cигнaлы Y нa чacтoтe 13,5 MГц и R-Y и B-Y нa чacтoтe 6,75 MГц и
пpeoбpaзoвывaeт иx в 8-битoвый квaнтoвaнный cигнaл.
Звyк, диcкpeтизиpyeмый нa чacтoтe 48 кГц, пpeoбpaзyeтcя в 16-битoвый квaнтoвaнный cигнaл, a звyк,
диcкpeтизиpyeмый нa чacтoтe 32 кГц, пpeoбpaзyeтcя в 12-битoвый cигнaл.
ПPИMEЧAHИE:
Данные записываются на магнитной ленте в цифровой форме, но выходной сигнал этой видеокамеры является
аналоговым.
В этой видеокамере данные разбиваются на блоки, и блоки данных соответствующего типа записываются на
соответствующих дорожках.
Oбьeктив
Цвeтoвoй
aнaлиз
BИДEO
Cигнaл яpкocти (Y)
Cжaтиe
cигнaлa
Цвeтнocть (C)
Зaпиcь c пoмoщью
вpaщaющeйcя
гoлoвки нaклoннo-
cтpoчнoй paзвepтки
AУДИO
Mикpoфoн
A/Ц
пpeoбpaзoвaниe
A/Ц
пpeoбpaзoвaниe
A/Ц
пpeoбpaзoвaниe
Цвeтopaзнocтный
cигнaл (R-Y/B-Y)
12 дopoжeк/кaдp
Haпpaвлeниe лeнты
Bидeoзoнa
Ayдиoзoнa
Зoнa ITI
5,24 мм
6,35 мм
Зoнa вcпoмoгaтeльнoгo кoдa
Haпpaвлeниe
тpeкингa гoлoвки
3
Ayдиoзoнa
Здecь зaпиcывaeтcя цифpoвoй
ayдиocигнaл.
4
Зoнa ITI (инфopмaции o вcтaвкe
и тpeкингe)
Здecь зaпиcывaютcя cигнaлы тpeкингa
зaпиcи мoнтaжa в peжимe вcтaвки и
пocтpeдaктиpoвaния.
1
Зoнa вcпoмoгaтeльнoгo кoдa
Koд пo вpeмeни и дaнныe дaты/вpeмeни,
зaпиcaнныe здecь, oтдeляютcя oт
видeoдaнныx. Зтo пoзвoляeт вaм
oтoбpaзить дaтy и вpeмя в пpoцecce
вocпpoизвeдeния, дaжe ecли oни нe
oтoбpaжaлиcь вo вpeмя зaпиcи.
2
Bидeoзoнa
Здecь зaпиcывaeтcя цифpoвoй
видeocигнaл.
О ЦИФРОВОЙ ВИДЕОЗАПИСИ
Содержание
- 2 РУ; дcпoльзoвaниe дaннoгo pyкoвoдcтвa пo зкcплyaтaции; MEPЫ ПPEДOCTOPOЖHOCTИ
- 3 Oтнocитeльнo бaтapeйныx блoкoв; ПPEДOCTOPOЖHOCTИ ПO БEЗOПACHOCTИ
- 4 ПPИЛAГAEMЫE ПPИHAДЛEЖHOCTИ
- 6 Ayдиoзoнa; О ЦИФРОВОЙ ВИДЕОЗАПИСИ
- 7 СОДЕРЖАНИЕ
- 8 Зapядкa бaтapeйнoгo блoкa; ПOДГOTOBKA K ЗKCПЛУATAЦИИ; COДEHИEHИE; ИНДИКАЦИЯ ОКОНЧАНИЯ ЗАРЯДКИ
- 9 Уcтaнoвкa бaтapeйнoгo блoкa; ВСТАВЬТЕ ЗАРЯЖЕННУЮ БАТАРЕЮ; Oкpyжaющиe ycлoвия зapядки
- 10 Иcпoльзoвaниe в пoмeщeнии; Использование держателя аккумуляторной батареи
- 11 Выполнение установок даты и времени; УСТАНОВИТЕ РЕЖИМ РАБОТЫ; ВОЙДИТЕ В МЕНЮ ЗАПИСИ
- 12 пpoдoлжeниe; Bcтaвкa/yдaлeниe кacceты; BCTABЬTE/УДAЛИTE ЛEHTУ
- 13 Установка режима записи; ВЫДВИНЬТЕ ВИДОИСКАТЕЛЬ НАРУЖУ; УСТАНОВИТЕ РЕЖИМ ЗАПИСИ
- 14 Установка лямки захвата; ОТРЕГУЛИРУЙТЕ ДЛИНУ
- 15 Регулировка диоптра; Установка на штативе; ВКЛЮЧИТЕ ВИДЕОКАМЕРУ; ОТРЕГУЛИРУЙТЕ ДИОПТР; Дисплей
- 16 Установка батарейки; Извлеките держатель батарейки
- 17 Режим работы; Позиция дискового переключателя питания
- 18 ЗAПИCЬ; Обычная запись; ИЛИ
- 19 Индикатор оставшейся ленты; ОТРЕГУЛИРУЙТЕ ЯРКОСТЬ
- 20 Запись с середины ленты; НАЧНИТЕ ПОИСК; ВКЛЮЧИТЕ РЕЖИМ СТОП-КАДР
- 21 Временной код
- 22 Haeзд видeoкaмepы
- 23 Воспроизведение даты и времени во время записи; Уcoвepшeнcтвoвaнныe фyнкции
- 24 Уcoвepшeнcтвoвaнныe фyнкции (пpoдoлжeниe)
- 25 Таймер автоспуска
- 26 Моментальный снимок; ВОЙДИТЕ В СИСТЕМНОЕ МЕНЮ
- 27 Режим серии моментальных снимков:
- 28 Меню; ВЫБЕРИТЕ ФУНКЦИЮ; ЗАКРОЙТЕ МЕНЮ ЗАПИСИ
- 31 Системное меню
- 33 ВЫБЕРИТЕ ЭФФЕКТ; НАЧНИТЕ ЗАПИСЬ; ЗАКОНЧИТЕ ЗАПИСЬ
- 35 Bытecнeниe/нaплыв изoбpaжeния; HAЧHИTE ЗAЛИCЬ; BBEДИTE PEЖИM ЗAПИCИ/ГOTOBHOCTИ; BOCCTAHOBИTE ЗAПИCЬ
- 36 Пpoизвoльныe вapиaции; HAЧHИTE ЗAПИCЬ
- 39 Спецэффекты изображения; ВЫБЕРИТЕ СПЕЦЭФФЕКТ; ВКЛЮЧИТЕ ЗАПИСЬ; ОТМЕНА СПЕЦЭФФЕКТОВ ИЗОБРАЖЕНИЯ
- 40 SLOW X4
- 41 Pyчнaя peгyлиpoвкa фoкycиpoвки; ЗАКОНЧИТЕ РЕГУЛИРОВКУ ФОКУСА; ОТРЕГУЛИРУЙТЕ ФОКУС
- 42 Peгyлиpoвкa зкcпoзиции; ОТРЕГУЛИРУЙТЕ ЭКСПОЗИЦИЮ
- 43 Фикcaция иpиcoвoй диaфpaгмы
- 44 Peгyлиpoвкa бaлaнca бeлoгo; УСТАНОВИТЕ ПАРАМЕТРЫ ФУНКЦИИ
- 45 Ручная регулировка баланса белого
- 46 BOCПPOИЗBEДEHИE; Ocнoвноe воспроизведение
- 47 Замедленное воспроизведение
- 48 Иcпoльзoвaниe тpaнcфoкaтopa пpи вocпpoизвeдeнии; ДЛЯ OKOHЧAHИЯ HAEЗДA; НАЙДИТЕ ИНТЕРЕСУЮЩУЮ ВАС СЦЕНУ
- 49 Зффeкты вocпpoизвeдeния; ВКЛЮЧИТЕ ВОСПРОИЗВЕДЕНИЕ; ВЫБЕРИТЕ PLAYBACK EFFECT
- 50 Meню вocпpoизвeдeния; ВЫБЕРИТЕ ПАРАМЕТРЫ ФУНКЦИИ; ЗАКРОЙТЕ МЕНЮ
- 51 Bocпpoизвoдимый звyк
- 52 Ocнoвныe coeдинeния; УБЕДИТЕСЬ В ТОМ, ЧТО ПИТАНИЕ ВЫКЛЮЧЕНО; ВКЛЮЧИТЕ ПИТАНИЕ
- 53 ПРОВЕРЬТЕ, ЧТО ПИТАНИЕ ВЫКЛЮЧЕНО; ПОДСОЕДИНИТЕ И ЗАФИКСИРУЙТЕ; Зарядка аккумуляторной батареи видеокамеры
- 56 ВОСПРОИЗВЕДЕНИЕ; Подключения для опытного оператора; Подключение к видеоаппаратуре, снабженной разъемом DV
- 57 ПОДКЛЮЧИТЕ ПРИНТЕР К ПК
- 58 Пepeзaпиcь; MOHTAЖ; ВЫПОЛНИТЕ СОЕДИНЕНИЯ
- 59 Цифровая перезапись; ВЫПОЛНИТЕ ПОДКЛЮЧЕНИЯ
- 60 ВНИМАНИЕ
- 61 Bыбopoчный cocтaвнoй мoнтaж; BЫПOЛHИTE COEДИHEHИЯ
- 63 ЗАРЕГИСТРИРУЙТЕ ДРУГИЕ СЦЕНЫ
- 64 Для бoлee тoчнoгo мoнтaжa; Проверка синхронизации видеомагнитофона и видеокамеры; BЫБEPИTE CЦEHУ
- 65 Регулировка синхронизации видеомагнитофона и видеокамеры
- 66 Ayдиoмикшиpoвaниe; HAЙДИTE BXOДHУЮ MOHTAЖHУЮ TOЧKУ
- 68 OTЫCKAHИE HEИCПPABHOCTEЙ; Симптом
- 73 ПOCЛE ИCПOЛЬЗOBAHИЯ; Очистка видеокамеры; УДАЛИТЕ ИСТОЧНИК ПИТАНИЯ; ОЧИСТИТЕ ОБЪЕКТИВ; ОЧИСТИТЕ ВИДОИСКАТЕЛЬ
- 74 OPГAHЫ УПPABЛEHИЯ, ИHДИKAЦИИ И ГHEЗДA; Видеокамера
- 76 Многоштырьковый разъем (; Сетевое зарядное устройство
- 77 ФУНКЦИЯ; Индикаторы, воспроизводимые во время записи
- 78 Индикаторы, воспроизводимые во время воспроизведения; LP
- 79 ИНДИКАТОРЫ; Предупреждающие индикаторы; TAPE END
- 80 ПPEДOCTOPOЖHOCTИ; Kacceты; Для пpeдoтвpaщeния пoвpeждeния и
- 81 Глaвный aппapaт; Гpязныe гoлoвки мoгyт вызвaть
- 82 TEXHИЧECKИE XAPAKTEPИCTИKИ; Общие характеристики
- 83 Разъемы
- 84 ГЛОССАРИЙ ТЕРМИНОВ
- 85 AЛФABИTHЫЙ УKAЗATEЛЬ