Весы Beurer BG 55 - инструкция пользователя по применению, эксплуатации и установке на русском языке. Мы надеемся, она поможет вам решить возникшие у вас вопросы при эксплуатации техники.
Если остались вопросы, задайте их в комментариях после инструкции.
"Загружаем инструкцию", означает, что нужно подождать пока файл загрузится и можно будет его читать онлайн. Некоторые инструкции очень большие и время их появления зависит от вашей скорости интернета.

51
•
Уровень активности 4:
высокая физическая активность.
Физические нагрузки не менее 4–6 раз в неделю по 30 минут.
•
Уровень активности 5:
очень высокая физическая активность.
Интенсивные физические нагрузки, интенсивные тренировки или тяжелая физическая работа,
ежедневно, не менее чем по 1 часу.
5.3 Проведение измерения
После того, как были введены все параметры, можно определить вес, процентное содержание жировой
ткани и другие значения.
• Включите весы, непродолжительно нажав ногой на платформу.
• Путем многократного нажатия кнопки „User“ выберите ячейку памяти, в которой сохранены Ваши лич-
ные базовые данные. Они отображаются одно за другим, затем появляется показание „
0.0
“.
• Встаньте босыми ногами на весы и убедитесь в том, что вы спокойно стоите на электродах.
Важно:
при измерении не должно быть контакта между обеими ступнями, икрами, голенями и бедрами. В
противном случае измерение не может быть выполнено должным образом.
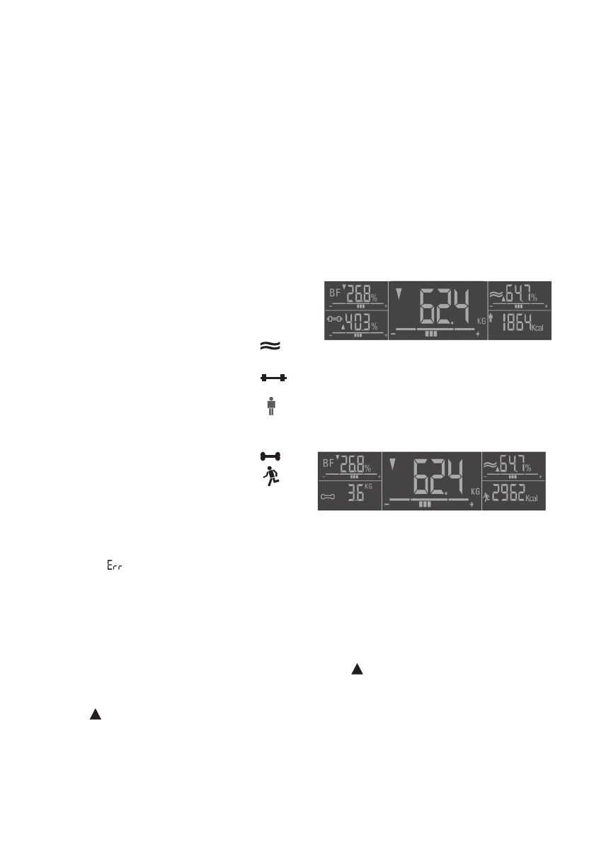
Сначала появляются следующие показания:
1. Вес в кг с интерпретацией
KG
2. Процентное содержание жировой .
ткани в % с интерпретацией
BF
3. Процентное содержание воды
в % с интерпретацией
4. Процентное содержание мышечной
ткани в % с интерпретацией
5. Уровень основного обмена в ккал
Затем показания меняются с процентного содержания мышечной ткани и уровня основного обмена на:
6. Костная масса в кг
7. Активный расход энергии в ккал
Нажимая любую кнопку, вы можете просмотреть результаты быстрее.
В памяти результатов измерения автоматически сохраняется до 5 результатов. Ошибочные измерения с
сообщением „ “ не сохраняются.
5.4 Вызов результатов измерений из памяти
Можно вызвать из памяти 5 последних измерений.
• Включите весы, непродолжительно нажав ногой на платформу.
• Путем многократного нажатия кнопки „User“ выберите ячейку памяти, в которой сохранены Ваши лич-
ные базовые данные. Они показываются одно за другим, затем появляется индикация „
0.0
“.
• После появления показания „
0.0
“ Вы можете кнопкой «вверх» вызвать из памяти последние
результаты измерений.
• Чтобы просмотреть результаты предшествующего данному измерения, еще раз нажмите на кнопку
«вверх» . После макс. 5 измерений весы возвращаются к индикации „
0.0
“ и готовы к измерению.
При изменении настроек пользователя (например, возраста) память результатов измерения обнуляется.
Содержание
- 49 Информация о диагностических весах; Принцип измерения, используемый диагностическими весами; электрическую проводимость.; Ограничения
- 50 Как пользоваться весами; Настройка пользовательских данных; Уровень активности 1:
- 51 Проведение измерения; Сначала появляются следующие показания:; Вызов результатов измерений из памяти
- 52 Анализ результатов; Индикатор тенденции; Мужчины/Женщины ≥ 20 лет; Процентное содержание жировой ткани; Мужчины
- 53 Процентное содержание воды:; Процентное содержание мышечной ткани:
- 54 жировой ткани как результат – увеличение веса.; Временная взаимосвязь результатов
- 55 Неверное измерение; Возможные причины неполадок:












