Весы Beurer BG 55 - инструкция пользователя по применению, эксплуатации и установке на русском языке. Мы надеемся, она поможет вам решить возникшие у вас вопросы при эксплуатации техники.
Если остались вопросы, задайте их в комментариях после инструкции.
"Загружаем инструкцию", означает, что нужно подождать пока файл загрузится и можно будет его читать онлайн. Некоторые инструкции очень большие и время их появления зависит от вашей скорости интернета.

13
5.3 Taking measurements
After all parameters have been entered, you can now measure your weight, body fat and the other data.
• Switch on the scale by briefly stepping on the platform.
• Select the memory position in which your personal parameters are stored by pressing the “User” button
several times. These parameters will then appear in turn until the “
0.0
” display appears.
• Step on the scale with bare feet and make sure you are standing still on the stainless steel
electrodes.
Important:
There may be no contact between feet, legs, calves and thighs. Otherwise the measurement
will not be performed correctly.
The following display then appears:
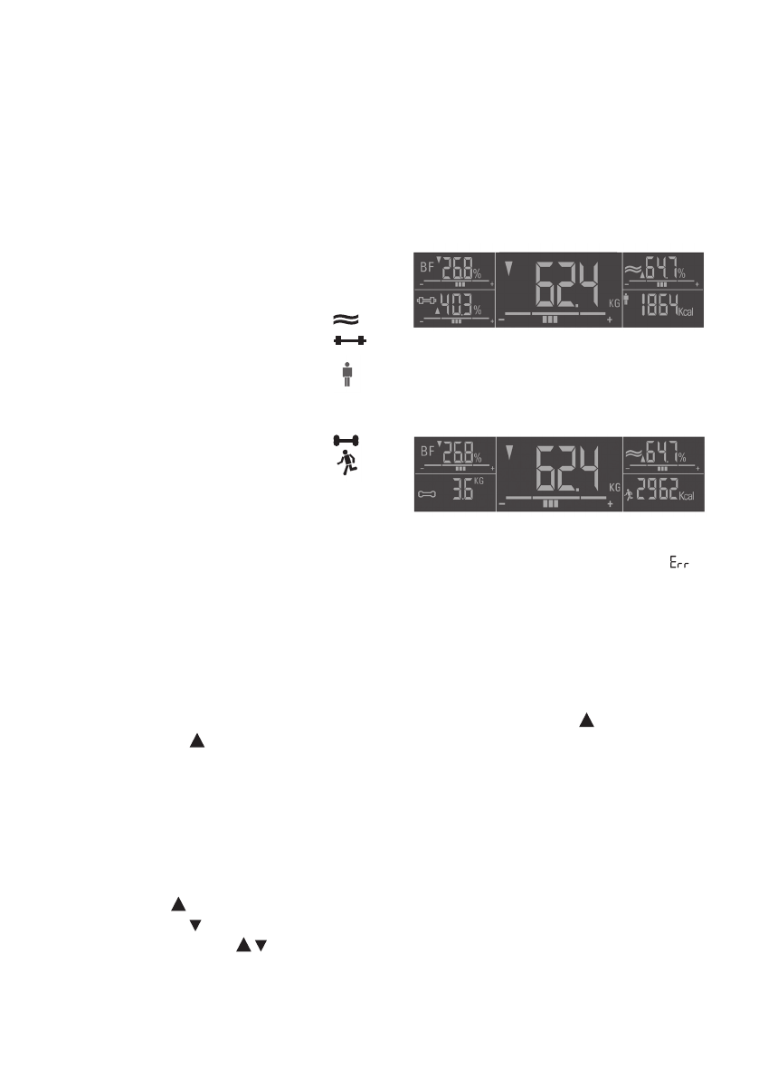
1. Weight in kg with interpretation
KG
2. Body fat in % with interpretation
BF
3. Body water in % with interpretation
4. Muscle percentage in %
with interpretation
5. Basal metabolic rate in Kcal
The display then changes from muscle percentage and basal metabolic rate to:
6. Bone mass in kg
7. Active metabolic rate in Kcal
Pressing any of the buttons will show the results more rapidly.
Up to 5 results are automatically saved in the data memory. Incorrect measurements indicated with “ ”
are not saved.
5.4 Measured data recall
The last 5 measurements can be recalled.
• Switch on the scale by briefly stepping on the platform.
• Select the memory position in which your personal parameters are stored by pressing the “User” button
several times. These then appear in turn until the “
0.0
” display appears.
• As soon as “
0.0
” appears, you can recall the last data measured with the up button .
• Press the up button repeatedly to display the next older data. After a maximum of 5 measurements,
the scale returns to the “
0.0
” display and is ready for measurement.
If user settings are changed (e.g. age), the measured data memory is deleted.
6. Evaluation of results
Trend display
This scale hase a trend display, in which the value currently measured is compared with the averages of
the last 5 measurements.
• Trend display up : present value is higher than the average of the last 5 measurements.
• Trend display down : present value is lower than the average of the last 5 measurements.
• Trend display up and down
: present value is the same as the average of the last 5 measurements.
Note that a trend is shown only for the body weight and the body fat, body water and muscle percentages
and can be shown only when you have stored at least 5 body fat percentages etc.
Содержание
- 49 Информация о диагностических весах; Принцип измерения, используемый диагностическими весами; электрическую проводимость.; Ограничения
- 50 Как пользоваться весами; Настройка пользовательских данных; Уровень активности 1:
- 51 Проведение измерения; Сначала появляются следующие показания:; Вызов результатов измерений из памяти
- 52 Анализ результатов; Индикатор тенденции; Мужчины/Женщины ≥ 20 лет; Процентное содержание жировой ткани; Мужчины
- 53 Процентное содержание воды:; Процентное содержание мышечной ткани:
- 54 жировой ткани как результат – увеличение веса.; Временная взаимосвязь результатов
- 55 Неверное измерение; Возможные причины неполадок:












