Варочная панель Elica NIKOLATESLA HP BL/F/ 83 - инструкция пользователя по применению, эксплуатации и установке на русском языке. Мы надеемся, она поможет вам решить возникшие у вас вопросы при эксплуатации техники.
Если остались вопросы, задайте их в комментариях после инструкции.
"Загружаем инструкцию", означает, что нужно подождать пока файл загрузится и можно будет его читать онлайн. Некоторые инструкции очень большие и время их появления зависит от вашей скорости интернета.

276
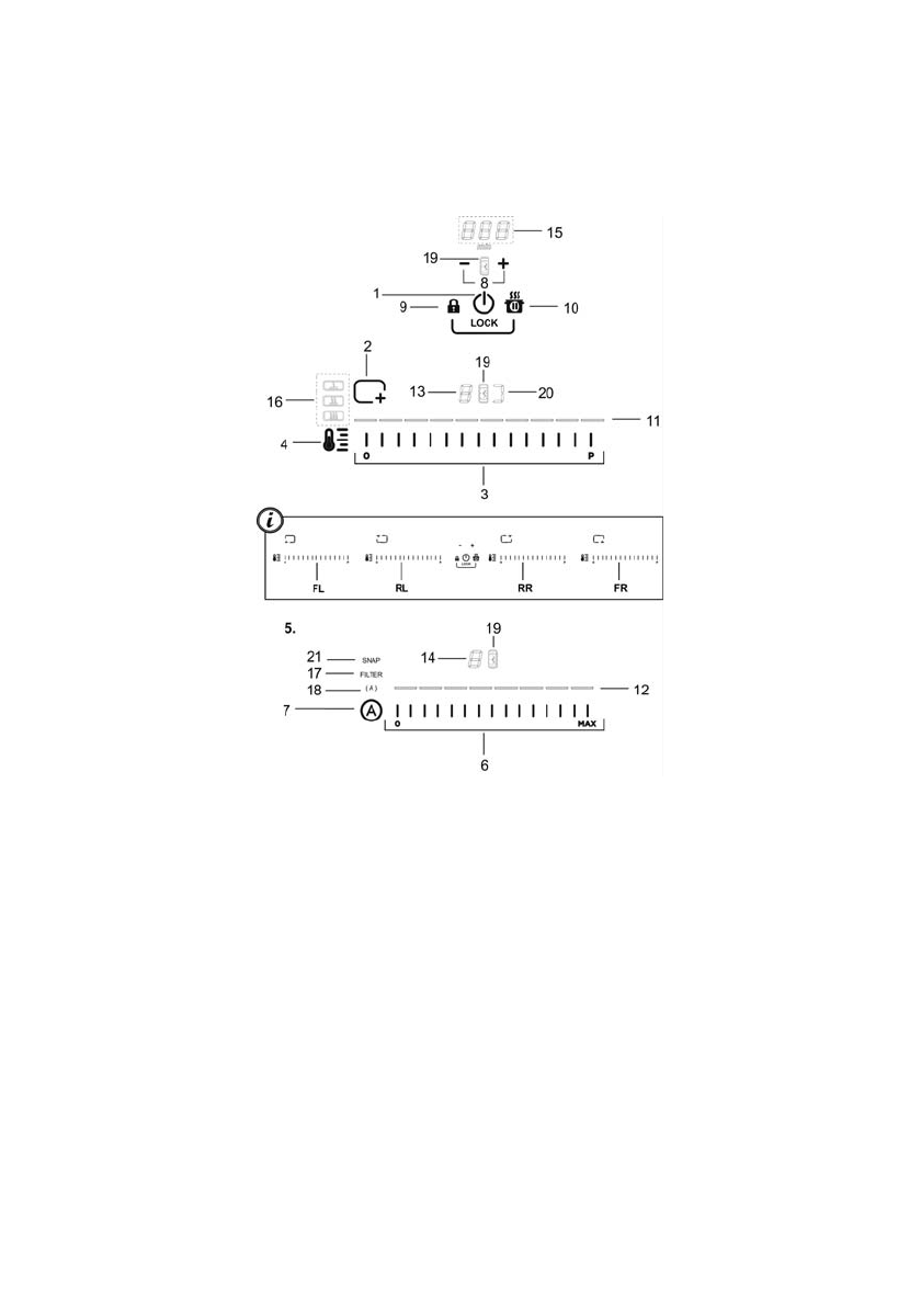
4.
Пайдалану
Басқару
тақтасы
Ескертпе
:
Пəрмендерді
таңдау
үшін
оларды
білдіретін
таңбаларды
жай
ғана
түртіңіз
(
басыңыз
)
Дисплей
/
СКД
1.
ҚОСУ
/
ӨШІРУ
:
плитканың
/
плитканың
сорғыш
желдеткішінің
2.
Тамақ
пісіру
аймағы
позициясының
индикаторы
3.
Тамақ
пісіру
аймағын
таңдау
Қуат
деңгейін
арттыру
/
кеміту
4.
Температура
реттегішті
іске
қосу
5.
Пернелер
желдеткіші
6.
Сорғыш
желдеткішті
таңдау
Сору
жылдамдығын
(
қуатын
)
арттыру
/
кеміту
7.
Автоматты
функцияларды
іске
қосу
Сүзгі
қанығуын
бастапқы
мəніне
қайтару
8.
Таймерді
іске
қосу
Таймер
мəнін
арттыру
/
кеміту
9.
Перне
құлпы
9+10.
Балалардан
қорғау
10.
Кідірту
/
Қайтару
 
 
 
Дисплей
/
СКД
11.
Қуат
деңгейін
көру
12.
Сорғу
жылдамдығын
(
қуатын
)
көру
13.
Тамақ
пісіру
аймағы
дисплейі
14.
Сорғыш
желдеткіштің
дисплейі
15.
Таймер
дисплейі
16.
Температура
реттегішінің
дисплейі
17.
Сүзгі
көмегі
индикаторы
18.
Автоматты
сору
функциясының
индикаторы
19.
Таймер
индикаторы
белсенді
20.
Көпір
индикаторы
белсенді
21.
SNAP
жұмысы
индикаторы
Характеристики
Остались вопросы?Не нашли свой ответ в руководстве или возникли другие проблемы? Задайте свой вопрос в форме ниже с подробным описанием вашей ситуации, чтобы другие люди и специалисты смогли дать на него ответ. Если вы знаете как решить проблему другого человека, пожалуйста, подскажите ему :)

 
  
  
  
  
  
  
  
  
  
  
  
  
  
  
  
  
  
  
  
  
  
  
  
  
  
  
  
  
  
  
  
  
  
  
  
  
  
  
  
  
  
  
  
  
  
  
  
  
  
  
  
  
  
  
  
  
  
  
  
  
  
  
  
  
  
  
  
  
  
  
  
  
  
  
  
  
  
  
  
  
  
  
  
  
  
  
  
  
  
  
  
  
  
  
  
  
  
  
  
  
  
  
  
  
  
  
  
  
  
  
  
  
  
  
  
  
  
  
  
  
  
  
  
  
  
  
  
  
  
  
  
  
  
  
  
  
  
  
  
  
  
  
  
  
  
  
  
  
  
  
  
  
  
  
  
  
  
  
  
  
  
  
  
  
  
  
  
  
  
  
  
  
  
  
  
  
  
  
  
  
  
  
  
  
  
  
  
  
  
  
  
  
  
  
  
  
  
  
  
  
  
  
  
  
  
  
  
  
  
  
  
  
  
  
  
  
  
  
  
  
  
  
  
  
  
  
  
  
  
  
  
  
  
  
  
  
  
  
  
  
  
  
  
  
  
  
  
  
  
  
  
  
  
  
  
  
  
  
  
  
  
  
  
  
  
  
  
  
  
  
  
  
  
  
  
  
  
  
  
  
  
  
  
  
  
  
  
  
  
  
  
  
  
  
  
  
  
  
  
  
 











