Варочная панель Elica NIKOLATESLA FIT BL/A/60 - инструкция пользователя по применению, эксплуатации и установке на русском языке. Мы надеемся, она поможет вам решить возникшие у вас вопросы при эксплуатации техники.
Если остались вопросы, задайте их в комментариях после инструкции.
"Загружаем инструкцию", означает, что нужно подождать пока файл загрузится и можно будет его читать онлайн. Некоторые инструкции очень большие и время их появления зависит от вашей скорости интернета.

41
3. FUNCIONAMENTO
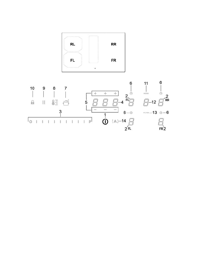
3.1 Painel de controlo
Botões de toque (TOUCH) / Visor
1.
ON / OFF da placa de cozedura / sistema de aspiração
2.
Seleção da zona de cozedura / Visor da zona de
cozedura
3.
Aumento / diminuição do nível de potência de cozedura
e velocidade (potência) de aspiração
Exibição do nível de potência de cozedura e velocidade
(potência) de aspiração
4.
Ativação do temporizador "STAND ALONE”
Visor: Temporizador "STAND ALONE” / Temporizador
das Zonas de cozedura.
5.
Aumento / Diminuição de tempo do Temporizador
“STAND ALONE” / Temporizador das Zonas de
cozedura
6.
Ativação do Temporizador das Zonas de cozedura
Indicador do Temporizador das Zonas de cozedura
ativo
7.
Ativação do Automatic Heat Up (Aumento Calor
Automático).
8.
Ativação do Temperature Manager (Warming Function)
(Gestor de Temperatura - Função de Aquecimento)
9.
Pausa
10.
Bloqueio dos botões
11.
Indicador de exaustor ativo
Ativação do indicador de Saturação de filtros
12.
Seleção / Ativação do exaustor
Visor do exaustor
Visor da saturação Filtro carvão / cerâmico - Filtro de
gorduras
13.
Redefinição da Saturação de filtros
14
. Ativação da função automática do exaustor
3.2 Utilização da placa de cozedura
3.2.1 A saber antes de iniciar
Neste manual estão descritas as principais funções, utilize o código QR nas primeiras páginas para aceder às instruções completas na Internet.
Todas as funções desta placa de cozedura respeitam as mais rigorosas normas de segurança. Por este motivo:
• Algumas funções não se ativam ou desativam automaticamente, na ausência das panelas ou quando estas estão mal
posicionadas sobre os queimadores.
• Em outros casos, as funções ativadas desativam-se automaticamente após alguns segundos, quando a função selecionada requer uma
configuração posterior que não é fornecida.
Aguarde até que o visor se desligue antes de se aproximar da zona de cozedura.
Характеристики
Остались вопросы?Не нашли свой ответ в руководстве или возникли другие проблемы? Задайте свой вопрос в форме ниже с подробным описанием вашей ситуации, чтобы другие люди и специалисты смогли дать на него ответ. Если вы знаете как решить проблему другого человека, пожалуйста, подскажите ему :)













