Варочная панель Elica NIKOLATESLA FIT BL/A/60 - инструкция пользователя по применению, эксплуатации и установке на русском языке. Мы надеемся, она поможет вам решить возникшие у вас вопросы при эксплуатации техники.
Если остались вопросы, задайте их в комментариях после инструкции.
"Загружаем инструкцию", означает, что нужно подождать пока файл загрузится и можно будет его читать онлайн. Некоторые инструкции очень большие и время их появления зависит от вашей скорости интернета.

2
ليغشتلا
.3
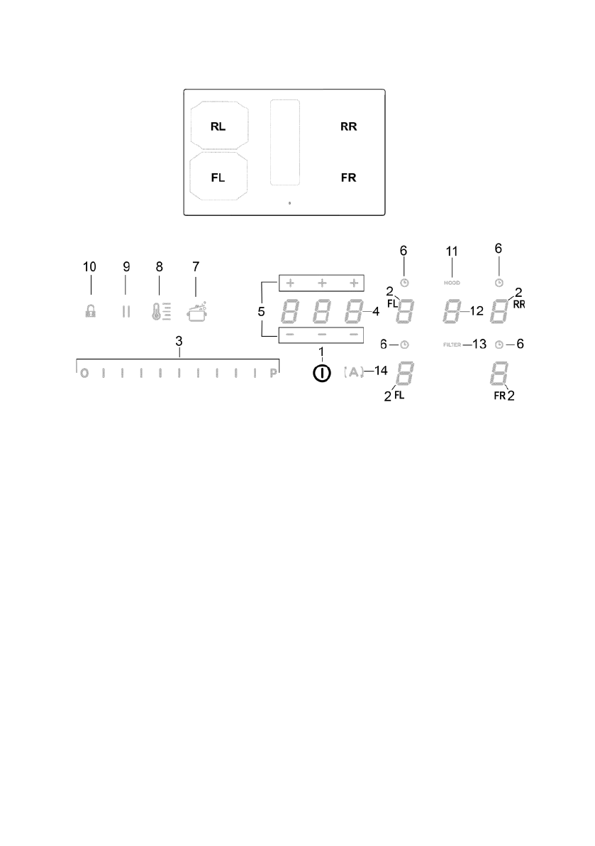
مكحتلا ةحول
1.3
ةشاشلا/)
TOUCH
( سمللاب حيتافم
طفشلا ماظن/يهطلا دقوم ءافطإ/ليغشت
ON/OFF
.1
يهطلا ةقطنم ةشاش/يهطلا قطانم رايتخا
.2
طفشلا )ةردق( ةعرسو يهطلا ةردق ىوتسم ليلقت/ةدايز
.3
طفشلا )ةردق( ةعرسو يهطلا ةردق ىوتسم ضرع
”لقتسملا دادعلإا“ تقؤملا طيشنت
.4
قــطانم تقؤم/»لقتــسملا دادــعلإا« تــقؤم
: ةــشاشلا
. يــهطل ا
قــطانم تقؤم/”لقتــسملا دادــعلإا“ تــقؤم نــمز لــيلقت/ةدايز
.5
يــهطلا
يهطلا قطانم تقؤم طيشنت
.6
طشن يهطلا قطانم تقؤم رشؤم
.يكيتاموتولأا نيخستلا طيشنت
.7
Temperature“
ةرارــحلا ةــجرد يــف مــُّكحتلا طيــشنت
.8
)نيخــستلا ةفــيظو( ”
Manager
Pausa
تقؤملا فاقيلإا
.9
لفِقلا حاتفم
.10
طشن طافشلا رشؤم
.11
تاحشرملا عبشت رشؤم طيشنت
طافشلا طيشنت/رايتخا
.12
طاّفشلا ضرع ةشاش
نوهدلا حشرم – كيماريسلا/نوبركلا حشرم عبشت ةشاش
تاحشرملا عبشت ريفصت
.13
طافشلل ةيكيتاموتولأا ةفيظولا طيشنت .
14
يهطلا دقوم مادختسا
2.3
ءدبلا لبق يلي ام ةفرعم مزلي
1.2.3
تاــميلعتلا ىــلإ لوــصولل ىــلولأا تاــحفصلا يــف دوــجوملا ةعيرــسلا ةباجتــسلاا زــمر مدختــسا ،ةيــسيئرلا فــئاظولا لــيلدلا اذــه يــف فــصوُت
.تــنرتنلإا ىــلع ةــلماكلا
:ضرغلا اذهل اًقيقحتو
.ةمارص رثكلأا ةماسلا ريياعمب اذه يهطلا دقوم فئاظو عيمج لثتمت
ٍلكــشب ةــعوضوم يــناولأا هذــه نوــكت اــمدنع وأ يــناولأا باــيغ يــف ،ًاــيكيتاموتوأ اهطيــشنت ءاــغلإ وأ ،فــئاظولا ضــعب طيــشنت مــتي لا •
.لعــُّشلا قوــف ءيــس
ًاــيفاضإ ًاــطبض ةراــتخملا ةــفيظولا بــلطتت اــمدنع ٍناوــث عــضب دــعب ًاــيكيتاموتوأ ةطــشنملا فــئاظولا طيــشنت ءاــغلإ مــتي ،ىرــخأ ٍتلااــح يــف •
.هؤاــطعإ مــتي مــل
.ةلصلا تاذ يهطلا ةقطنم نم بارتقلاا لبق ضرعلا ةشاش ئفطنت ىتح ر ِظَتنِا
Характеристики
Остались вопросы?Не нашли свой ответ в руководстве или возникли другие проблемы? Задайте свой вопрос в форме ниже с подробным описанием вашей ситуации, чтобы другие люди и специалисты смогли дать на него ответ. Если вы знаете как решить проблему другого человека, пожалуйста, подскажите ему :)













