Варочная панель Candy CH 64 C/2 - инструкция пользователя по применению, эксплуатации и установке на русском языке. Мы надеемся, она поможет вам решить возникшие у вас вопросы при эксплуатации техники.
Если остались вопросы, задайте их в комментариях после инструкции.
"Загружаем инструкцию", означает, что нужно подождать пока файл загрузится и можно будет его читать онлайн. Некоторые инструкции очень большие и время их появления зависит от вашей скорости интернета.

09 GB- IE
. STOPPING A COOKING ZONE
- Press the selection button of the required cooking zone.
- Press the "-" button to display heat level . Now the zone goes
off, the indicator goes off after 10 seconds.
- To stop rapidly, press simultaneously the "-" and the
respective cooking zone selection.
The heat level automatically goes down to . The cooking
zone goes off.
. GENERAL STOP
The cooking zones and the timer can be stopped
at any moment by pressing the On-Off button.
. RESIDUAL HEAT INDICATOR
The control panel tells the user when the surface temperature of
the cooking zones exceeds about 60°C, by the following
displaying: . When the temperature goes back below 60°C, the
display goes off.
For ending the cooking, we advise switching off the cooking zone
and using the residual heat of the zone to finish cooking gently.
N.B. After a cut in the current, the residual heat indicator
disappears completely, even if the surface temperature exceeds
60°C.
. OPERATING THE ADDITIONAL COOKING ZONE
(TWO ZONES)
The cooking zone with two zones is
fitted certain models .............................
>
It is active in totality when the cooking zone is in function ; the
control led of the additional cooking is displayed.
To desactivate the additional cooking zone :
- Press again on the additional cooking zone touch. The Led goes
off when it is desactivated.
To re-activate the additional cooking zone :
- Press on the cooking zone button. The Led is active again.
. PROGRAMMING A COOKING ZONE (according to the model)
Every cooking zone can be programmed for a maximum time of
99 minutes.
- Start the required zone by following the previous instructions.
- Press on simultaneously the touch "-" and "+" to activate the
timer, " " is displayed.
- Press again on the "+" button to select a time in minutes
between 0 and 99 minutes or press on the "-" button to decrease
the time between 30 minutes and 0. The timer control led near
the level is displayed.
--> the programmed time can be modified at any moment.
When the time is run, the cooking zone goes off automatically and
an audible beep sounds for 1 minute, press a button to stop it.
--> If any zone is activated, the timer can be used alone, as
reminder, it will ring at the end of the programmed time.
Exam ple
LED
TY PE
B
LED
TY PE
B
7
7
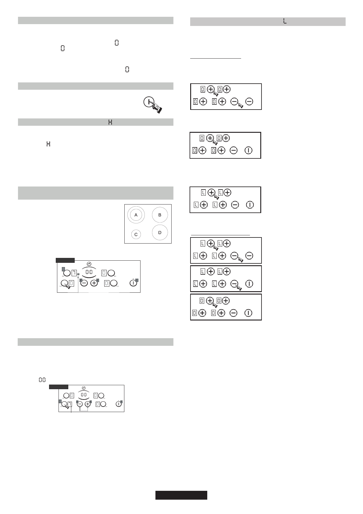
LOCKING BUTTON OPERATION
The locking function prevents the accidental activation of the
hob by children, and it is also useful during the cleaning of the
hob.
TO LOCK THE HOB
. (Example for hob with 4 zones)
Press the ON/OFF button and then (only after this operation the
child lock can be activated)
Press simultaneously the minus
key and the top left selection key,
until you hear the beep sound; if
you do not feel a beep sound,
switch OFF the hob and repeat all
the operation of setting.
After press again the top left
selection key.
This operation procedure must
take place within 10 sec, and no
other key than the one described
above may pressed; otherwise the
input will be cancelled for not being completed.
All displays show an “L” for
LOCKED (=child lock against
unintentional activation) – if a
cooking zone is at stage “hot, “L”
and “H” appear alternately.
TO UNLOCK THE HOB
For unlock the control unit, it is
necessary that the minus key and
the top left selection key (cooking
zone back left) are pressed
simultaneously and subsequently
pressing the minus key again.
The looking is now removed and
the Touch Control returns to
STAND BY mode.