Синтезаторы Yamaha PSR-E313 - инструкция пользователя по применению, эксплуатации и установке на русском языке. Мы надеемся, она поможет вам решить возникшие у вас вопросы при эксплуатации техники.
Если остались вопросы, задайте их в комментариях после инструкции.
"Загружаем инструкцию", означает, что нужно подождать пока файл загрузится и можно будет его читать онлайн. Некоторые инструкции очень большие и время их появления зависит от вашей скорости интернета.

ç‡ÒÚÓÈÍË ÏÂÎÓ‰ËÈ
40
PSR-E313/YPT-310 êÛÍÓ‚Ó‰ÒÚ‚Ó ÔÓθÁÓ‚‡ÚÂÎfl
2
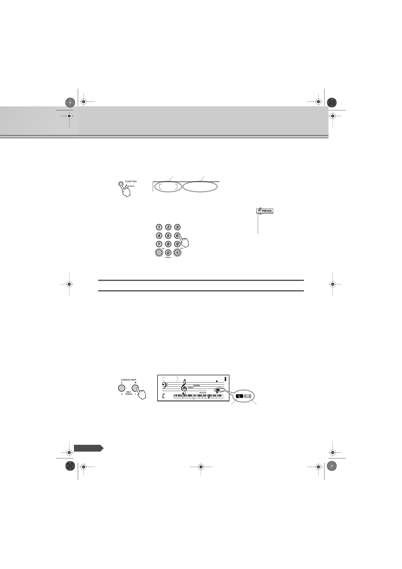
çÂÒÍÓθÍÓ ‡Á ̇ÊÏËÚ ÍÌÓÔÍÛ [FUNCTION], ÔÓ͇ Ì ÔÓfl‚ËÚÒfl
ÒÓÓ·˘ÂÌË «SongVol».
3
ìÒÚ‡ÌÓ‚ËÚ „ÓÏÍÓÒÚ¸ ÏÂÎÓ‰ËË, ̇ÊËχfl ˆËÙÓ‚˚Â
ÍÌÓÔÍË [0]-[9], [+], [-].
MUTE (éÚÍβ˜ÂÌË Á‚Û͇)
о время воспроизведения мелодии можно отключить звук дорожки 1
или дорожки 2.
• 5вук дорожки 1 можно отключить, нажав кнопку [REC TRACK 1]
во время воспроизведения мелодии.
• 5вук дорожки 2 можно отключить, нажав кнопку [REC TRACK 2]
во время воспроизведения мелодии.
=ожно отменить действие функции отключения звука, снова нажав
соответствующие кнопки дорожек, [TRACK 1] или [TRACK 2], во
время воспроизведения мелодии или выбрав любую другую мелодию.
íÂÍÛ˘‡fl „ÓÏÍÓÒÚ¸ ÏÂÎÓ‰ËË
ÉÓÏÍÓÒÚ¸ ÏÂÎÓ‰ËË
SongVol
100
• ÑÎfl ÌÂωÎÂÌÌÓ„Ó ‚ÓÁ‚‡Ú‡
Í Á̇˜ÂÌ˲ ÔÓ ÛÏÓΘ‡Ì˲ (100)
̇ÊÏËÚ ӉÌÓ‚ÂÏÂÌÌÓ ÍÌÓÔÍË
[+] Ë [-].
Cruisin
001
010
ÖÒÎË „ÓËÚ, ‰ÓÓÊ͇
ÒÓ‰ÂÊËÚ ‰‡ÌÌ˚Â.
ÖÒÎË Ì „ÓËÚ, Á‚ÛÍ ‰ÓÓÊÍË
ÓÚÍβ˜ÂÌ ËÎË ‰ÓÓÊ͇
Ì ÒÓ‰ÂÊËÚ ‰‡ÌÌ˚ı.
ç‡Ê‡ÚË ӉÌÓÈ ËÁ ÍÌÓÔÓÍ
‰ÓÓÊÂÍ, [TRACK 1] ËÎË
[TRACK 2], ‚Ó ‚ÂÏfl
‚ÓÒÔÓËÁ‚‰ÂÌËfl ÓÚÍβ˜‡ÂÚ Á‚ÛÍ
ÒÓÓÚ‚ÂÚÒÚ‚Û˛˘ÂÈ ‰ÓÓÊÍË.
psre313_rus_4.fm Page 40 Thursday, July 26, 2007 2:44 AM



