Синтезаторы Yamaha PSR-E313 - инструкция пользователя по применению, эксплуатации и установке на русском языке. Мы надеемся, она поможет вам решить возникшие у вас вопросы при эксплуатации техники.
Если остались вопросы, задайте их в комментариях после инструкции.
"Загружаем инструкцию", означает, что нужно подождать пока файл загрузится и можно будет его читать онлайн. Некоторые инструкции очень большие и время их появления зависит от вашей скорости интернета.

ê‡Áۘ˂‡ÌË ÏÂÎÓ‰ËÈ
36
PSR-E313/YPT-310 êÛÍÓ‚Ó‰ÒÚ‚Ó ÔÓθÁÓ‚‡ÚÂÎfl
2
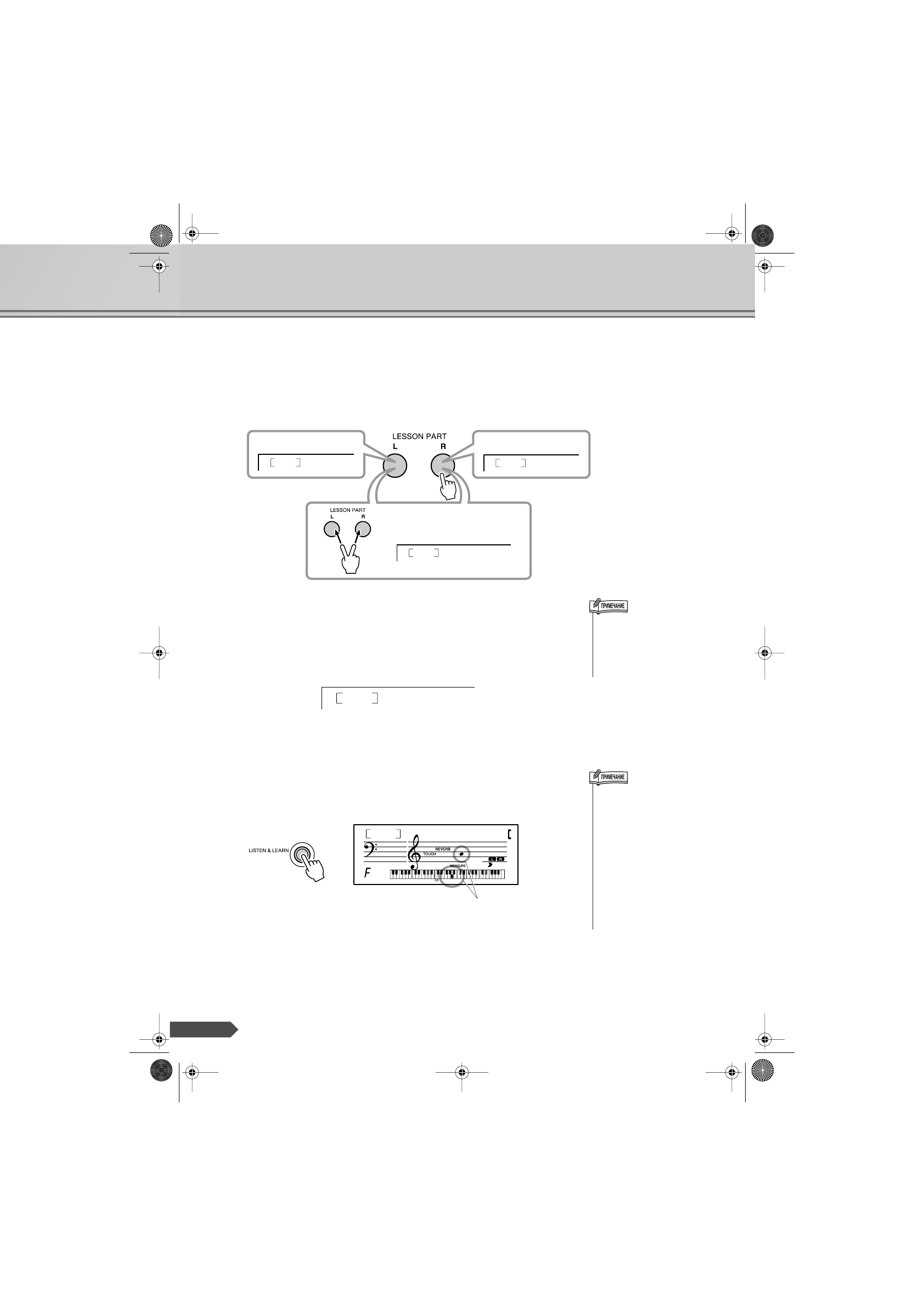
Ç˚·ÂËÚ ԇÚ˲, ÍÓÚÓÛ˛ ıÓÚËÚ ‡ÁÛ˜ËÚ¸.
ажмите кнопку [R] для партии правой руки, кнопку [L] для партии
левой руки или одновременно нажмите кнопки [R] и [L], чтобы
выбрать урок для обеих рук. Отображается выбранная партия.
ообщение «No LPart» ('артия левой руки отсутствует)
отображается на экране, если выбирается партия левой руки
в одной из мелодий 004-030, в которой отсутствуют данные для
партии левой руки. Эти мелодии нельзя использовать для
упражнений левой руки или для обеих рук.
3
燘ÌËÚ ÛÓÍ 1.
ажмите кнопку [LISTEN & LEARN], чтобы начать урок 1.
5азвучит мелодия партии, которую вы выбрали на шаге
2
.
лушайте внимательно и запоминайте.
4
Ç˚ȉËÚ ËÁ ÂÊËχ ÛÓ͇.
6з режима урока можно выйти в любой момент, нажав кнопку
[START/STOP].
Right
Left
BothHand
ìÓÍ ‰Îfl Ó·ÂËı ÛÍ
ìÓÍ ‰Îfl Ô‡‚ÓÈ ÛÍË
ìÓÍ ‰Îfl ΂ÓÈ ÛÍË
• ÑÎfl ÏÂÎÓ‰ËÈ, ÔÂÂÌÂÒÂÌÌ˚ı
Ò ÍÓÏÔ¸˛Ú‡, ÒÓÓ·˘ÂÌËÂ
«No LPart» (è‡ÚËfl ΂ÓÈ ÛÍË
ÓÚÒÛÚÒÚ‚ÛÂÚ) Ì ‚˚‚Ó‰ËÚÒfl,
‰‡Ê ÂÒÎË ‚ ÏÂÎÓ‰ËË ÌÂÚ
Ô‡ÚËË Î‚ÓÈ ÛÍË.
No LPart
• è‡Ú˲ ÏÓÊÌÓ ‚˚·‡Ú¸ ‰‡ÊÂ
ÔÓÒΠ̇˜‡Î‡ ÛÓ͇ 1 Ë ‚Ó
‚ÂÏfl ‚ÓÒÔÓËÁ‚‰ÂÌËfl
ÏÂÎÓ‰ËË.
• ÖÒÎË ÏÂÌflÂÚÒfl ÚÂÏ· ÏÂÎÓ‰ËË,
ÔÓÎÓÊÂÌË Í·‚˯, Û͇Á‡ÌÌÓÂ
̇ ˝Í‡ÌÂ, ÏÓÊÌÓ Ò‰‚ËÌÛÚ¸
(̇ ‡ÒÒÚÓflÌËÂ, ͇ÚÌÓÂ
ÓÍÚ‡‚Â) ‚ Á‡‚ËÒËÏÓÒÚË
ÓÚ ‚˚·‡ÌÌÓ„Ó ÚÂÏ·‡.
• ìÓÍË 1 – 3 ÏÓÊÌÓ ‚˚·‡Ú¸,
̇ʇ‚ ÍÌÓÔÍË [LISTEN &
LEARN], [TIMING] Ë [WAITING]
ÒÓÓÚ‚ÂÚÒÚ‚ÂÌÌÓ.
LISTEN
r1
011
ç‡ ˝Í‡Ì ÓÚÓ·‡Ê‡˛ÚÒfl ÌÓÚ˚ ÏÂÎÓ‰ËË
Ë ‡ÔÔÎË͇ÚÛ‡.
psre313_rus_4.fm Page 36 Thursday, July 26, 2007 2:44 AM



